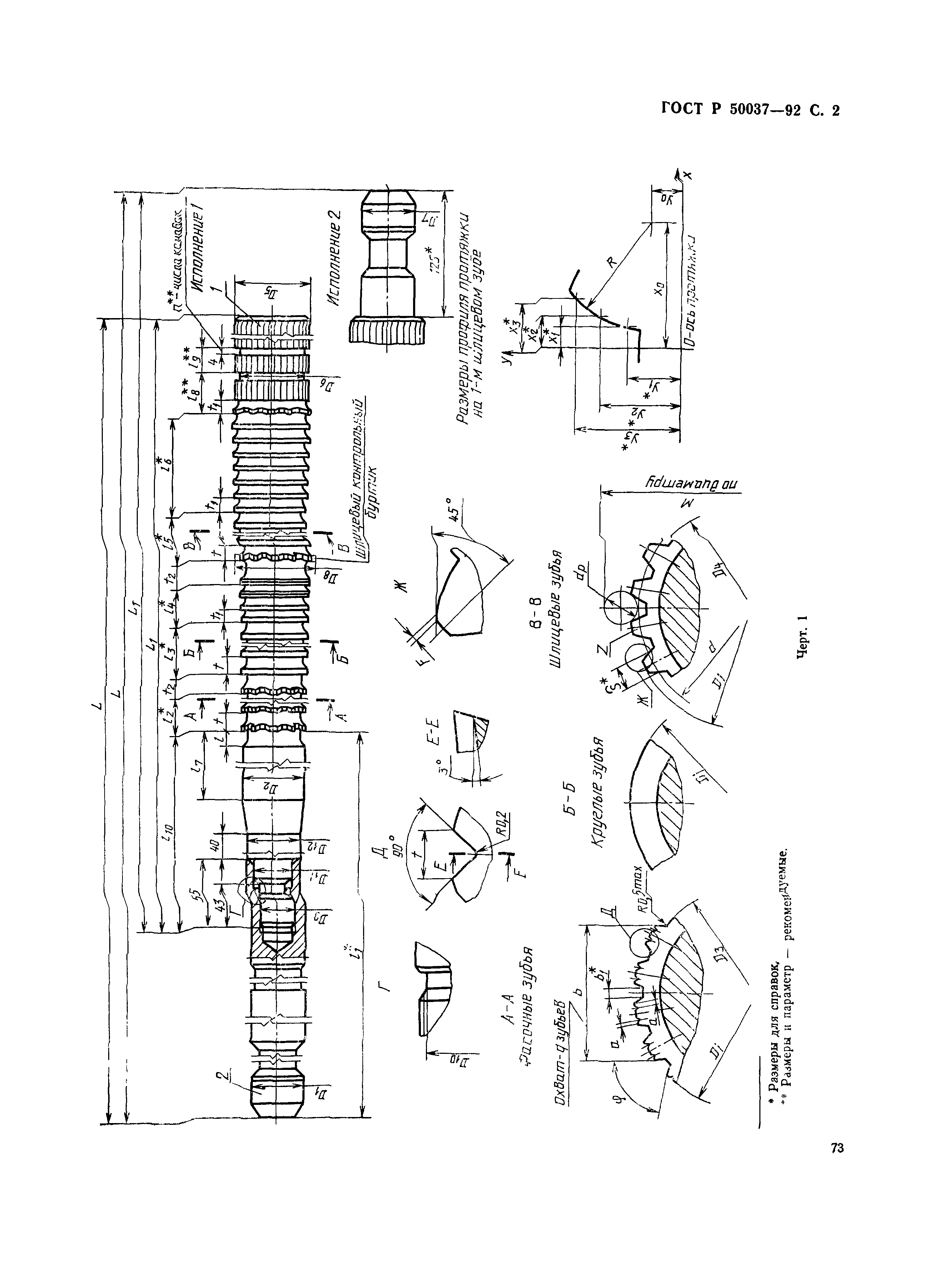
Скачать ГОСТ Р 50037-92 Протяжки с навертным хвостовиком для шлицевых отверстий с эвольвентным профилем диаметром от 55 до 130 мм, модулем от 3 до 4 мм с центрированием по наружному диаметру комбинированные. КонструкцияДата актуализации: 01.01.2021 ГОСТ Р 50037-92
Протяжки с навертным хвостовиком для шлицевых отверстий с эвольвентным профилем диаметром от 55 до 130 мм, модулем от 3 до 4 мм с центрированием по наружному диаметру комбинированные. Конструкция| Обозначение: | ГОСТ Р 50037-92 | | Обозначение англ: | GOST R 50037-92 | | Статус: | введен впервые | | Название рус.: | Протяжки с навертным хвостовиком для шлицевых отверстий с эвольвентным профилем диаметром от 55 до 130 мм, модулем от 3 до 4 мм с центрированием по наружному диаметру комбинированные. Конструкция | | Название англ.: | Combined broaches with diameter from 55 to 130 mm for slitting holes with involute profile with wind round tail and centring at outside diameter with module from 3 to 4 mm. Construction | | Дата добавления в базу: | 01.09.2013 | | Дата актуализации: | 01.01.2021 | | Дата введения: | 01.01.1993 | | Разработан: | ТК 95 Инструмент
| | Утверждён: | 22.07.1992 Госстандарт России (Russian Federation Gosstandart 750)
| | Нормативные ссылки: | |
                                                    
|