Скачать ГОСТ 6033-80 Основные нормы взаимозаменяемости. Соединения шлицевые эвольвентные с углом профиля 30 град. Размеры, допуски и измеряемые величиныДата актуализации: 01.01.2021
|
| Обозначение: | ГОСТ 6033-80 |
| Обозначение англ: | GOST 6033-80 |
| Статус: | взамен |
| Название рус.: | Основные нормы взаимозаменяемости. Соединения шлицевые эвольвентные с углом профиля 30 град. Размеры, допуски и измеряемые величины |
| Название англ.: | Basic norms of interchangeability. Involute splines with 30 gr. Profile angle. Dimensions, tolerances and measurable sizes |
| Дата добавления в базу: | 01.09.2013 |
| Дата актуализации: | 01.01.2021 |
| Дата введения: | 01.01.1982 |
| Область применения: | Стандарт распространяется на шлицевые соединения с эвольвентным профилем зубьев, расположенных параллельно оси соединения, с углом профиля 30 градусов и устанавливает исходный контур, форму зубьев, номинальные диаметры, модули и числа зубьев, номинальные размеры и измеряемые величины при центрировании по боковым поверхностям зубьев, а также допуски и посадки. |
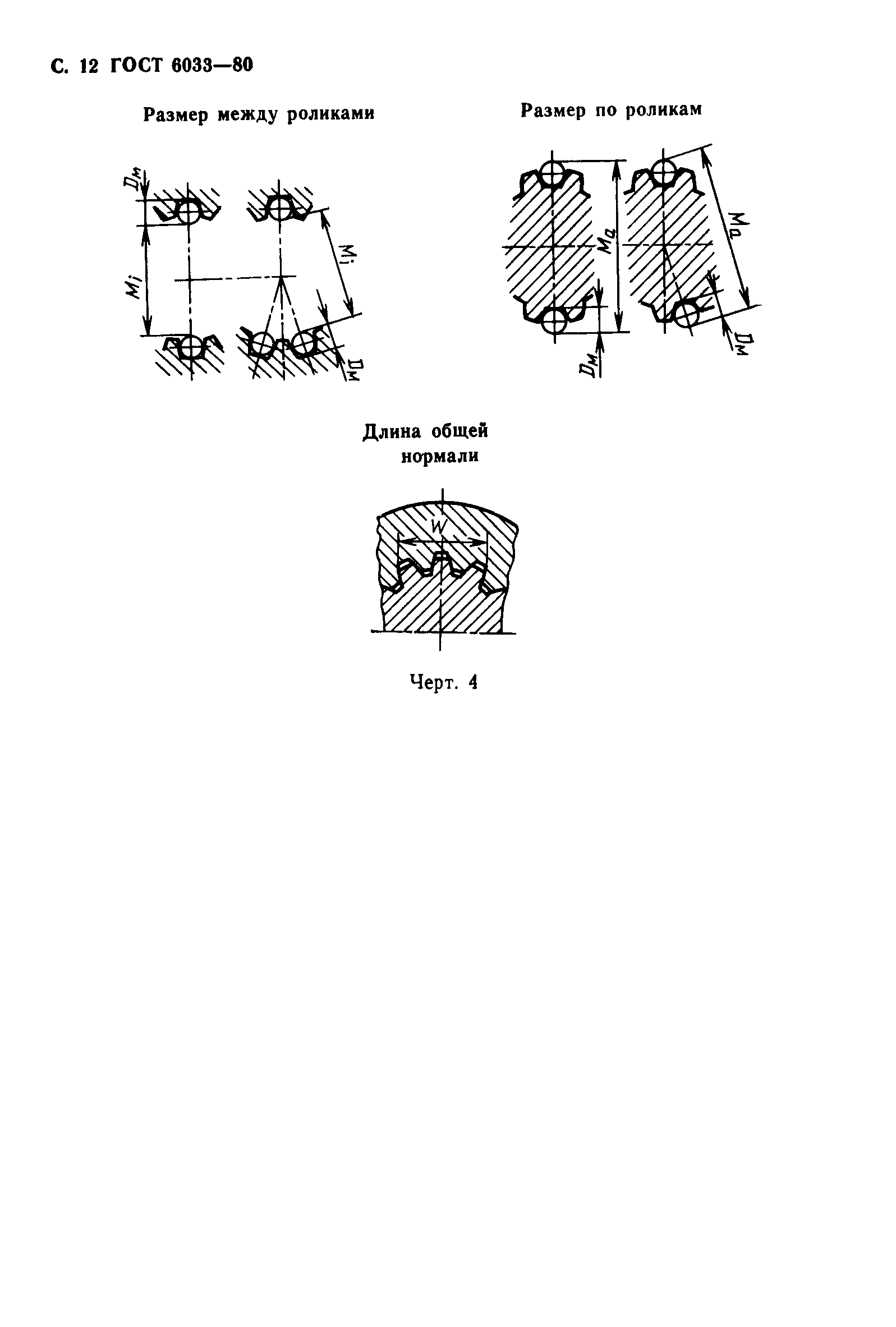
| Оглавление: | 1 Исходный контур и форма зубьев 2 Номинальные диаметры, модули и числа зубьев 3 Предельные отклонения от параллельности сторон зубьев вала и втулки 4 Номинальные размеры и измеряемые величины 5 Допуски и посадки 6 Условные обозначения 7 Методы контроля Приложение 1 Выбор величин параметров шлицевых соединений HF и hf в зависимости от вида применяемого инструмента Приложение 2 Приложение 3 Допуски и посадки при центрировании по внутреннему диаметру Приложение 4 Расчет предельных отклонений и контрольных размеров |
| Разработан: | Государственный комитет СССР по стандартам |
| Утверждён: | 03.06.1980 Государственный комитет СССР по стандартам (USSR National Committee on Standards 2517) |
| Издан: | Издательство стандартов (1980 г. ) Издательство стандартов (1993 г. ) |
| Список изменений: |
|
| Нормативные ссылки: |





















































































