Скачать РД 153-34.0-35.647-99 Методические указания по техническому обслуживанию промежуточных реле РП 8, РП 9, РП 11, РП 12, РП 16, РП 17, РП 18, реле времени РВО 1, РВО 3, РСВ 13, РСВ 14Дата актуализации: 01.01.2021
|
| Обозначение: | РД 153-34.0-35.647-99 |
| Обозначение англ: | RD 153-34.0-35.647-99 |
| Статус: | введен впервые |
| Название рус.: | Методические указания по техническому обслуживанию промежуточных реле РП 8, РП 9, РП 11, РП 12, РП 16, РП 17, РП 18, реле времени РВО 1, РВО 3, РСВ 13, РСВ 14 |
| Название англ.: | Procedural Guidelines for Maintenance of Intermediate Relays RP 8, RP 9, RP 11, RP 12, RP 16, RP 17, and RP 18 and Time Relays RVO 1, RVO 3, RSV 13, and RSV 14 |
| Дата добавления в базу: | 01.09.2013 |
| Дата актуализации: | 01.01.2021 |
| Дата введения: | 01.02.2000 |
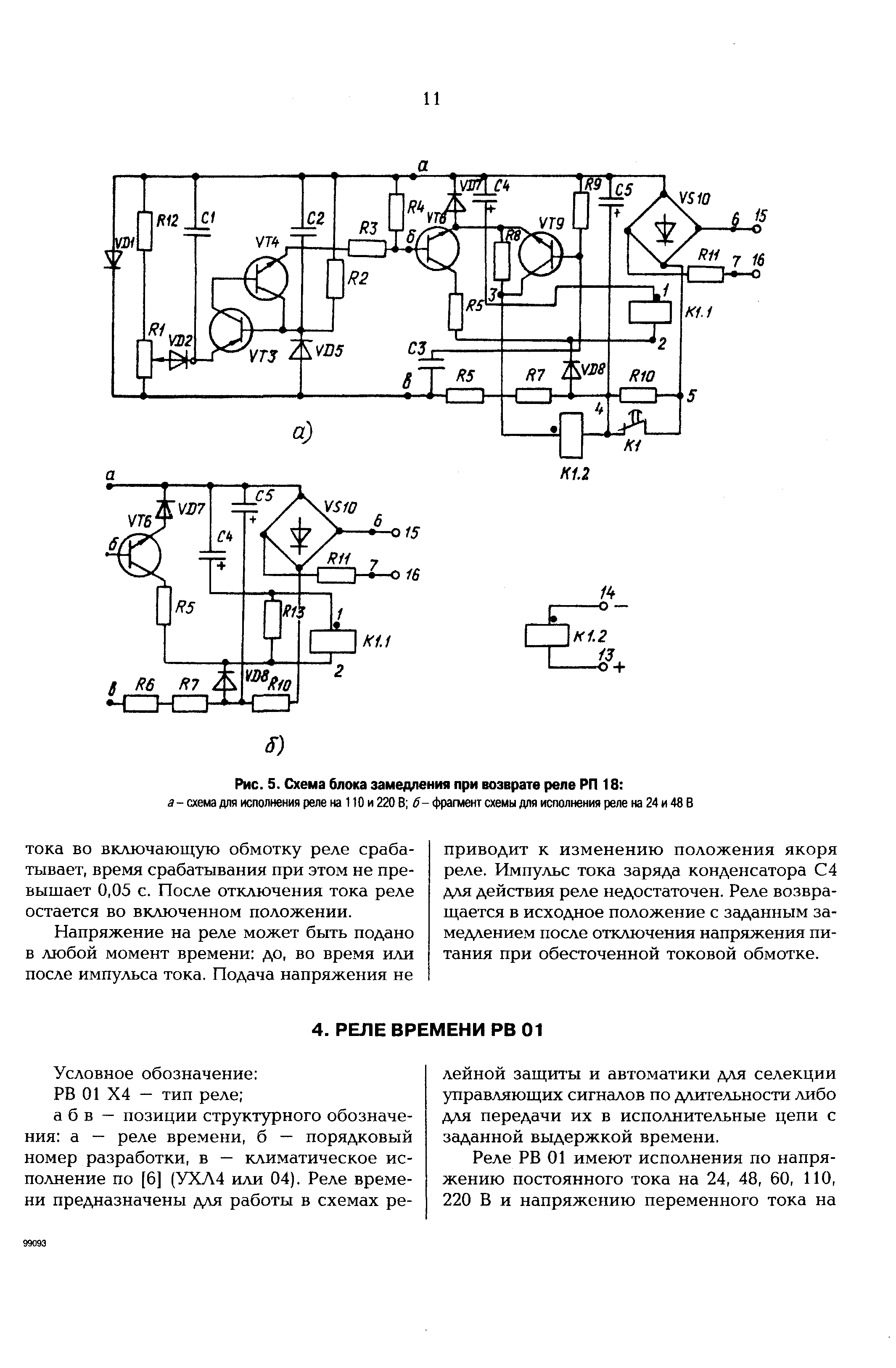
| Область применения: | В указаниях приведены основные технические данные, описания схем и принципа действия промежуточных, промежуточных двухпозиционных реле и реле времени. Приведены методы и последовательность производства работ при их техническом обслуживании. |
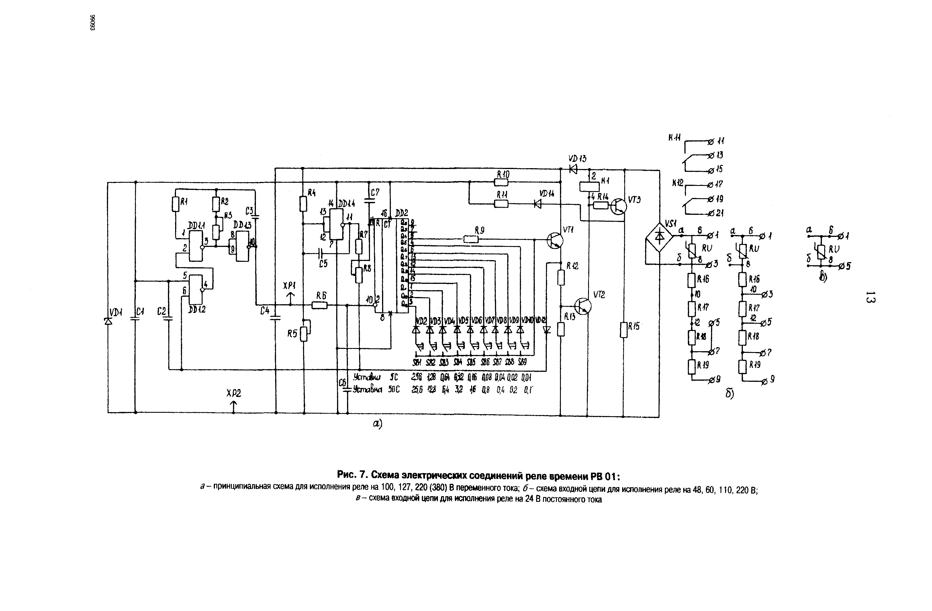
| Оглавление: | 1. Общие положения 2. Промежуточные двухпозиционные реле РП 8, РП 9, РП 11, РП 12 3. Промежуточные реле РП 16, РП 17, РП 18 4. Реле времени РВ 01 5. Реле времени РВ 03 6. Реле времени РСВ 13 7. Реле времени РСВ 14 8. Меры безопасности 9. Техническое обслуживание реле Приложение 1. Протокол проверки реле времени Приложение 2. Протокол проверки промежуточных реле Список использованной литературы |
| Разработан: | АО Фирма ОРГРЭС АО ЧЭАЗ |
| Утверждён: | 05.07.1999 РАО ЕЭС России (UES of Russia RAO ) |
| Издан: | СПО ОРГРЭС (2000 г. ) |
| Нормативные ссылки: |
|































