Скачать РД 34.35.407-66 Инструкция по наладке и проверке релейной части дифференциально-фазной высокочастотной защиты типа ДФЗ-2Дата актуализации: 01.01.2021
|
| Обозначение: | РД 34.35.407-66 |
| Обозначение англ: | RD 34.35.407-66 |
| Статус: | действует |
| Название рус.: | Инструкция по наладке и проверке релейной части дифференциально-фазной высокочастотной защиты типа ДФЗ-2 |
| Название англ.: | Guidelines for Adjustment and Testing of Relay Section of Differential-Phase High-Frequency Protective Means Type DFZ-2 |
| Дата добавления в базу: | 01.01.2019 |
| Дата актуализации: | 01.01.2021 |
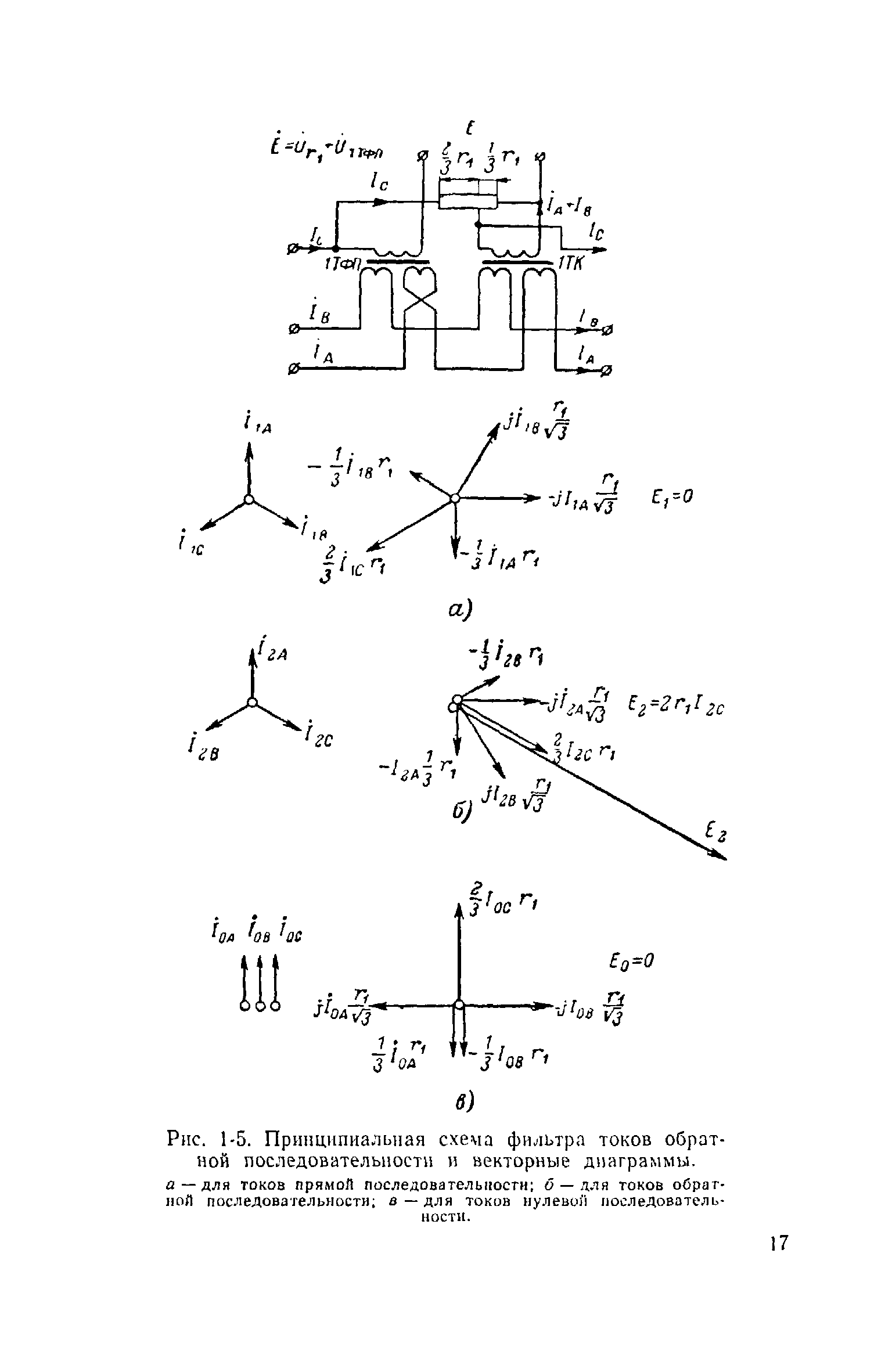
| Оглавление: | Предисловие Глава первая. Описание схемы и работы защиты 1-1. Принцип действия 1-2. Пусковой орган 1-3. Орган манипуляции высокочастотным передатчиком 1-4. Орган сравнения фаз токов 1-5. Действие защиты при коротких замыканиях в сети 1-6. Действие защиты при неисправностях в цепях напряжения 1-7. Сигнализация 1-8. Особенности схемы защиты Глава вторая. Конструктивное исполнение и технические данные защиты 2-1. Конструктивное оформление 2-2. Технические данные 2-3. Монтаж и маркировка 2-4. Комплект аппаратов 1 2-5. Комплект аппаратов 2 2-6. Поляризованные реле 2-7. Комплект реле 6КР Глава третья. Проверка и наладка защиты 3-1. Программа проверки 3-2. Общие указания 3-3. Внешний осмотр аппаратуры и проверка монтажа 3-4. Внутренний осмотр и проверка механической части аппаратуры 3-5. Проверка схемы и маркировки 3-6. Проверка изоляции 3-7. Проверка фильтра и пусковых реле тока обратной последовательности 3-8. Проверка токовых реле 3ЭТ и 4ЭТ и реле напряжения 1ЭН 3-9. Проверка реле сопротивления 1ИС 3-10. Проверка органа манипуляции высокочастотным передатчиком 3-11. Проверка промежуточных и сигнальных реле 3-12. Проверка органа сравнения фаз токов 3-13. Проверка взаимодействия элементов схемы 3-14. Проверка защиты током нагрузки линии 3-15. Оформление результатов проверки Приложение 1. Стабилизация фазового угла между напряжением манипуляции высокочастотного передатчика и током на входе комбинированного фильтра Приложение 2. Проверка насыщающихся трансформаторов 1ТН2 и 1ТН0 Приложение 3. Проверка меднозакисных выпрямителей Приложение 4. Пояснения к методике проверки органа манипуляции Приложение 5. Определение угла между токами по концам линии в режиме трехфазной симметричной нагрузки Приложение 6. Паспорт-протокол на дифференциально-фазную защиту типа ДФЗ-2 |
| Разработан: | ОРГРЭС |
| Утверждён: | Минэнерго СССР (USSR Minenergo ) |
| Издан: | Энергия (1966 г. ) |
| Нормативные ссылки: |





































































































































































