Скачать РД 34.30.305 Инструкция по проведению экспресс-испытаний турбоустановки Т-100-130 ТМЗДата актуализации: 01.01.2021
|
| Обозначение: | РД 34.30.305 |
| Обозначение англ: | RD 34.30.305 |
| Статус: | не действует |
| Название рус.: | Инструкция по проведению экспресс-испытаний турбоустановки Т-100-130 ТМЗ |
| Название англ.: | Guidelines for Accelerated Tests of Turbine Unit T-100-130 TMZ |
| Дата добавления в базу: | 01.09.2013 |
| Дата актуализации: | 01.01.2021 |
| Область применения: | Инструкция содержит рабочие программы, таблицы, необходимые справочные материалы и примеры по испытаниям проточной части, систем парораспределения, регенерации и регулирования. |
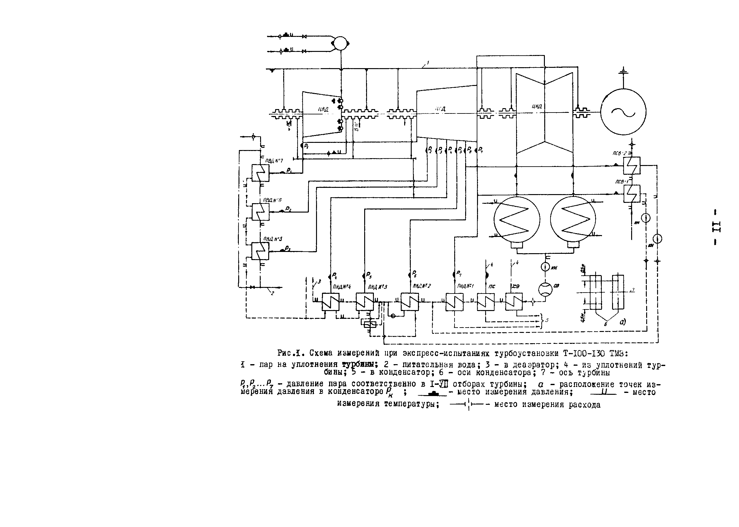
| Оглавление: | 1 Общая часть 2 Назначение экспресс-испытаний 3 Цели и причины проведения экспресс-испытаний элементов турбины 4 Приборы, применяемые при экспресс-испытаниях 5 Схема измерений при экспресс-испытаниях 6 Снятие характеристик системы парораспределения 7 Проверка работы турбины с максимальной электрической нагрузкой и с максимальными расходами пара в регулируемые отборы 8 Оценка состояния проточной части 9 Обследование системы регенерации, конденсатора и подогревателей сетевой воды 10 Снятие статической характеристики системы регулирования турбины 11 Проверка плотности стопорного и регулирующих клапанов ЧВД 12 Оценка плотности поворотной диафрагмы ЧНД |
| Разработан: | ЦКБ Энергоремонт Белэнергоремналадка |
| Утверждён: | 15.04.1976 Минэнерго СССР (USSR Minenergo ) 13.04.1976 Главэнергоремонт (Glavenergoremont ) |
| Издан: | СПО Союзтехэнерго (1978 г. ) |
























































