Скачать РД 34.26.507-91 Типовая инструкция по эксплуатации газомазутного водогрейного котла типа КВГМ -100Дата актуализации: 01.01.2021
|
| Обозначение: | РД 34.26.507-91 |
| Обозначение англ: | RD 34.26.507-91 |
| Статус: | действует |
| Название рус.: | Типовая инструкция по эксплуатации газомазутного водогрейного котла типа КВГМ -100 |
| Название англ.: | Model Guidelines for Operation of Gas-Fuel-Oil Hot Water Boiler Type KVGM -100 |
| Дата добавления в базу: | 01.09.2013 |
| Дата актуализации: | 01.01.2021 |
| Дата введения: | 01.01.1993 |
| Область применения: | Инструкция устанавливает общий порядок, последовательность и условия выполнения основных технологических операций, обеспечивающих надежную, экономичную и экологически безопасную эксплуатацию газомазутных водогрейных котлов КВГМ-100. |
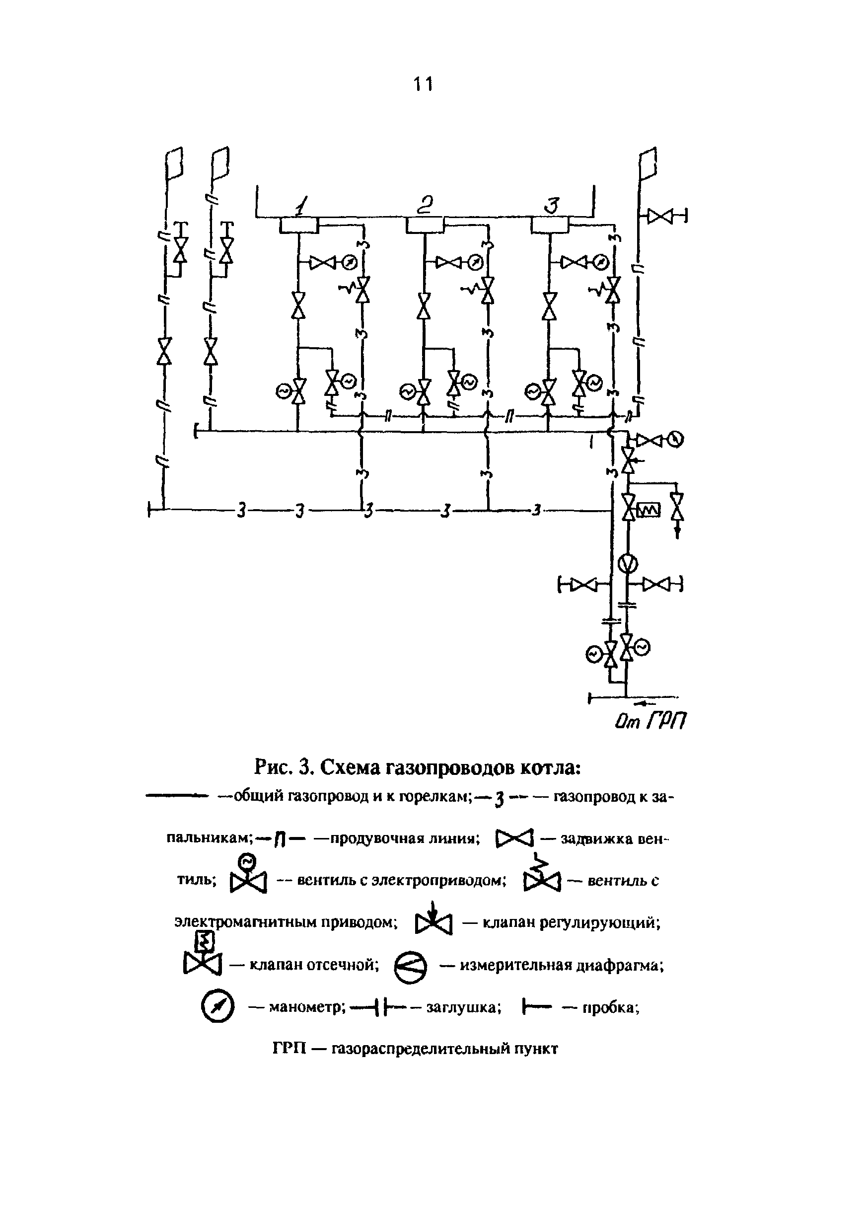
| Оглавление: | 1 Общие положения 2 Растопка котла 3 Обслуживание котла во время работы под нагрузкой 4 Останов котла 5 Аварийные положения 6 Основные указания по технике безопасности, взрыво- и пожаробезопасности Приложение 1 Объем оснащения контрольно-измерительными приборами средствами авторегулирования Приложение 2 Краткое описание водогрейного котла КВГМ-100 Приложение 3 Примерная форма режимной карты водогрейного котла КВГМ-100 Приложение 4 Перечень мероприятий, направленных на повышение надежности, экономичности и экологической безопасности водогрейного котла КВГМ-100 |
| Разработан: | АО Фирма ОРГРЭС |
| Утверждён: | 24.12.1991 Главтехуправление Минэнерго СССР (Glavtekhupravleniye, USSR Minenergo ) |
| Издан: | СПО ОРГРЭС (1993 г. ) |
| Список изменений: |
|
| Нормативные ссылки: |
|











































Текстовое изменение № 1 от 11.01.1994