Скачать РД 34.11.310-87 Методика выполнения измерений валового выброса твердых частиц с дымовыми газами ТЭС с применением дымомера АИД-210 ЭнергияДата актуализации: 01.01.2021
|
| Обозначение: | РД 34.11.310-87 |
| Обозначение англ: | RD 34.11.310-87 |
| Статус: | действует |
| Название рус.: | Методика выполнения измерений валового выброса твердых частиц с дымовыми газами ТЭС с применением дымомера АИД-210 "Энергия" |
| Название англ.: | Method for Measurements of Gross Emissions of Particulate Matter with Thermal Power Station Exhaust Gases Using Smoke Meter AID-210 "Energiya" |
| Дата добавления в базу: | 01.09.2013 |
| Дата актуализации: | 01.01.2021 |
| Дата введения: | 01.01.1988 |
| Область применения: | Методика устанавливает метод определения валового выброса твердых частиц с дымовыми газами на тепловых электростанциях, сжигющих твердое топливо, с использованием сигнала измерителя непрозрачности дыма автоматического типа АИД-210 "Энергия", а также правила расчета выброса за определенные периоды времени и составления отчета о выбросах. |
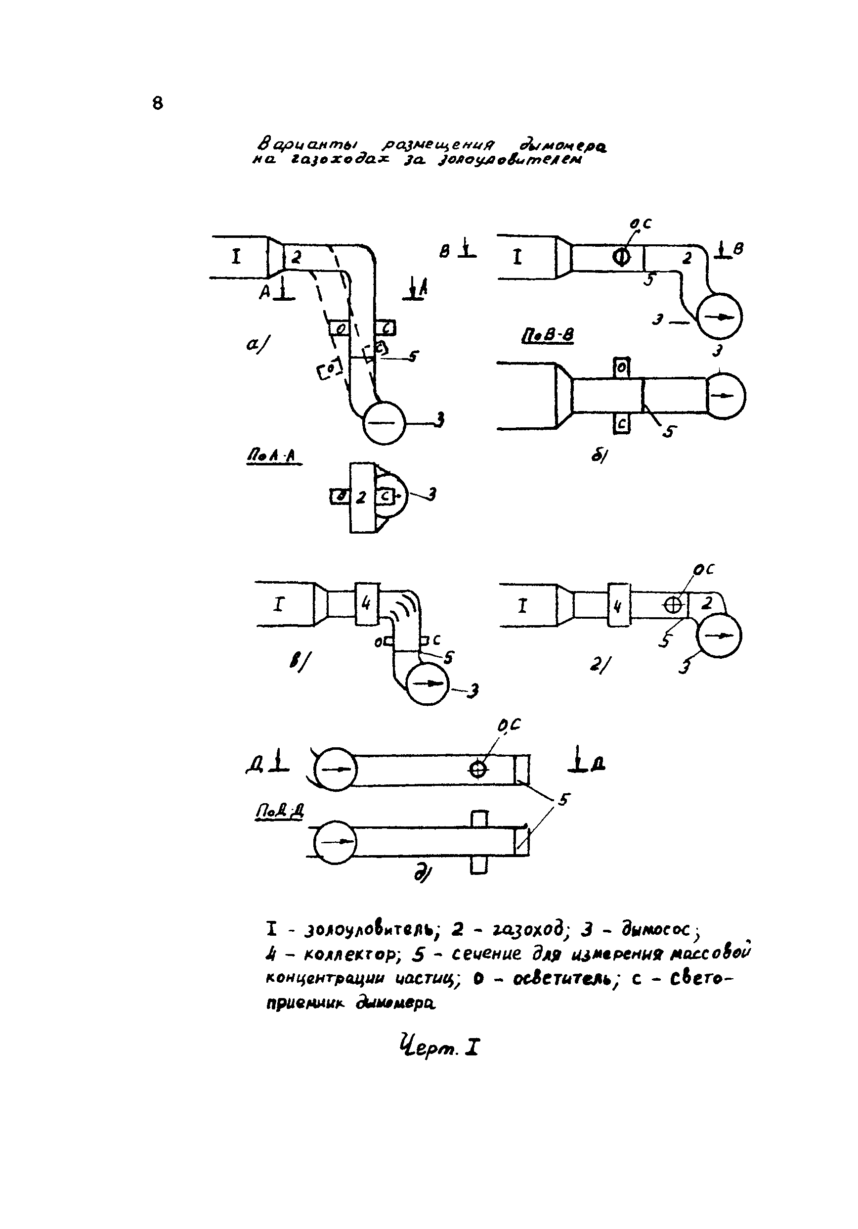
| Оглавление: | 1 Общие положения 2 Сведения об измеряемом параметре и условиях измерения 3 Метод измерения параметра и структура измерительной системы 4 Условия применения средств измерения 5 Алгоритм операций подготовки и выполнения измерений 6 Показатели точности измерений, способы и форма их представления 7 Алгоритм обработки результатов измерений. Оценка показателей точности 8 Периодичность измерений и оформление результатов 9 Требования к квалификации операторов 10 Требования техники безопасности Приложение 1 Оценка погрешности косвенного измерения валового выброса твердых частиц с использованием показаний дымомера за отчетный период для конкретного газохода Приложение 2 Оценка погрешности градуировки оптического дымомера АИД-210 "Энергия" в единицах массовой концентрации твердых частиц в дымовых газах Приложение 3 Значения величин погрешностей, используемых для оценки точности косвенного измерения валового выброса твердых частиц с помощью оптического дымомера АИД-210 "Энергия" Приложение 4 Пример оценки погрешности косвенного измерения валового выброса твердых частиц с помощью дымомера |
| Разработан: | ВТИ |
| Утверждён: | 11.08.1987 Минэнерго СССР (USSR Minenergo ) |
| Издан: | ВТИ (1988 г. ) |
| Нормативные ссылки: |
|





















































