МИНИСТЕРСТВО ЭНЕРГЕТИКИ И ЭЛЕКТРИФИКАЦИИ СССР
ГЛАВТЕХУПРАВЛЕНИЕ
МЕТОДИКА
ВЫПОЛНЕНИЯ ИЗМЕРЕНИЙ
ВАЛОВОГО ВЫБРОСА ТВЕРДЫХ ЧАСТИЦ
С
ДЫМОВЫМИ ГАЗАМИ ТЭС
С ПРИМЕНЕНИЕМ ДЫМОМЕТРА АИД-210
«ЭНЕРГИЯ»
РД 34.11.310-87
Москва 1988
РАЗРАБОТАНА Всесоюзным дважды ордена Трудового Красного Знамени теплотехническим научно-исследовательским институтом им. Ф.Э. Дзержинского (ВТИ им. Ф.Э. Дзержинского)
ИСПОЛНИТЕЛИ О.Я. Кондратьева, М.Я. Мотро, С.А. Островский, С.А. Шустова, В.Б. Эткин (руководитель темы)
УТВЕРЖДЕНА Главным научно-техническим управлением энергетики и электрификации
Заместитель начальника А.И. Берсенев
|
РД 34.11.310-87 |
Срок действия установлен
с 01.01.88
до 01.01.98
Настоящая Методика устанавливает метод определения валового выброса твердых частиц с дымовыми газами на тепловых электростанциях, сжигающих твердое топливо, с использованием сигнала измерителя непрозрачности дыма автоматического типа АИД-210 «Энергия» (в дальнейшем - дымомера), а также правила расчета выброса за определенные периоды времени и составления отчета о выбросах.
Методика предназначена для эксплуатационных, научно-исследовательских, проектно-конструкторских и наладочных организаций Минэнерго СССР.
Методика разработана в развитие МТ 34-70-010-83 «Методика определения валовых выбросов вредных веществ в атмосферу от котлов ТЭС», применительно к контролю выбросов твердых частиц на ТЭС с учетом особенностей используемого для этой цели дымомера АИД-210 «Энергия».
С момента введения в действие настоящей Методики утрачивает силу раздел 2 МТ 34-70-010-83 в части определения выбросов твердых частиц на ТЭС, оснащенных дымомерами.
1.1. Настоящая Методика является универсальной дня котлов, сжигающих твердое топливо. При использовании методики для конкретного объекта потребитель осуществляет выбор способов определения: избытка воздуха и расхода дымовых газов в газоходе, средней непрозрачности газов с использованием дымомера; выполняет оценку погрешности определения валового выброса с учетом геометрических параметров газохода, числа точек отбора пробы при градуировке и использованных для этой цели приборов, нестабильности оптических свойств пылевзвеси в конкретных условиях. Оценку погрешности следует выполнять единожды с целью установления фактических значений показателей точности для принятой схемы измерения и повторять ее только в случае изменения схемы измерения, технологического процесса или марки сжигаемого топлива.
1.2. Метрологическая аттестация настоящей Методики проводится в соответствии с требованиями «Методических указаний по разработке и аттестации методик выполнения измерений основных параметров теплоэнергетического оборудования» МУ 34-70-014-82 комиссией, утвержденной руководством ТЭС. При метрологической аттестации должны быть использованы материалы по опробованию Методики на ТЭС; градуировки дымомера, проведенной по «Временной методике градуировки оптического дымомера АИД-210 «Энергия» в единицах массовой концентрации летучей золы»; оценки погрешности измерения валового выброса твердых частиц, выполненной по настоящей Методике.
2.1. Контрольные (номинальные) значения предельно-допустимых или временно согласованных выбросов в атмосферу твердых частиц с дымовыми газами ТЭС установлены для каждого котельного агрегата отдельно и электростанции в целом в соответствии с «Методическими указаниями по определению предельно допустимых выбросов (ПДВ) и временно согласованных выбросов (ВСВ) вредных веществ в атмосферу для тепловых электростанций», М.: СПО «Союзтехэнерго», 1981.
2.2. Номинальное значение концентрации твердых частиц в дымовых газах на измерительном участке котельного агрегата определяется путем деления ПДВ (или ВСВ), установленного для данного агрегата, на полный расход дымовых газов через измерительные участки котлоагрегата при номинальных параметрах его работы. Полный расход дымовых газов подсчитывается по методике, изложенной в разделе 7.
Пределы измерения непрозрачности среды дымомером охватывают весь диапазон допускаемого изменения концентрации твердых частиц в дымовых газах.
2.3. Измерение концентрации твердых частиц должно производиться в газоходах между золоуловителями и дымососами котельных агрегатов.
Допускается измерение концентрации твердых частиц за дымососами.
2.4. В зоне установки дымомеров дымовые газы могут иметь следующий состав, %:
окись азота до 0,15
двуокись азота до 0,015
кислород до 10
окись углерода до 1,0
двуокись углерода до 16
водород до 1,0
метан до 1,0
двуокись серы до 0,5
трехокись серы до 0,008
Параметры дымовых газов в зоне измерения должны находиться в следующих пределах:
температура, °С 50 - 250
влагосодержание, % до 20
скорость потока, м/с до 25
статическое давление
(разряжение) в газоходе, кПа от + 1 до - 4
Химический состав золей, %
SiO2 - (35 - 65), Al2O3 - (10 - 41), Fe2O3 - (4,5 - 19,5), TiO2 - (0,5 - 2,5), CaO - (2 - 52), MgO - (0,2 - 7), K2O - (1 - 4), NaO - (0,5 - 4).
Количественный состав золей по размерам, %
от 0 до 10 мкм от 25 до 80
от 10 до 20 мкм от 5 до 10
от 20 до 30 мкм от 3 до 5
от 30 до 40 мкм от 3 до 5.
3.1. Валовый выброс твердых частиц с дымовыми газами котельного агрегата - это масса твердых частиц, выбрасываемых в атмосферу за определенный промежуток времени.
Валовый выброс определяется как произведение массовой концентрации частиц в единице объема дымовых газов на объемный расход этих газов через контролируемый объект за отчетный период.
Массовая концентрация твердых частиц в единице объема дымовых газов определяется по оптической непрозрачности газов.
3.2. Измерение непрозрачности дымовых газов (дымности) должно осуществляться дымомером АИД-210 «Энергия», представляющим собой одноканальный фотометр, принцип работы которого основан на методе прямого просвечивания газохода, в котором протекают дымовые газы.
Зависимость непрозрачности дымовых газов от массовой концентрации твердых частиц в них устанавливается путем градуировки дымомера непосредственно на месте измерения по «Временной методике градуировки оптического дымомера АИД-210 «Энергия» в единицах массовой концентрации летучей золы» (М., ВТИ, 1984), утвержденной Главтехуправлением Минэнерго СССР 13 ноября 1984 г.
3.3. Методикой определен следующий порядок косвенного измерения валового выброса твердых частиц:
3.3.1. Измерение дымомером средней непрозрачности дымовых газов за определенные промежутки времени, например, за сутки.
3.3.2. Определение по результатам градуировки дымомера средней концентрации твердых частиц, выбрасываемых с дымовыми газами.
3.3.3. Измерение параметров, необходимых для расчета среднего часового расхода дымовых газов за те же промежутки времени по обратному тепловому балансу котлоагрегата.
3.3.4. Расчет среднего часового расхода дымовых газов за упомянутые промежутки времени по обратному тепловому балансу котлоагрегата с учетом присосов воздуха по тракту дымовых газов.
3.3.5. Расчет валового выброса твердых частиц за каждый промежуток времени.
3.3.6. Суммирование валового выброса твердых частиц за все промежутки времени отчетного периода.
3.4. Для измерения среднесуточных значений непрозрачности дымовых газов и присосов воздуха по тракту дымовых газов должны использоваться средства измерения, указанные в табл. 1. Допускается замена средств измерения (СИ), указанных в табл. 1, другими, имеющими метрологические характеристики не хуже, чем у СИ, перечисленных в таблице.
3.5. При оптической непрозрачности контролируемой среды, превышающей 95 % предела измерения дымомера, а также при наличии в дымовых газах сажи, образующейся в результате сжигания жидкого топлива и существенно (п. 7.4.2) влияющей на показания дымомера, допускается расчет валового выброса твердых частиц по «Методике определения валовых выбросов вредных веществ в атмосферу от котлов тепловых электростанций», МТ 34-70-010-83.
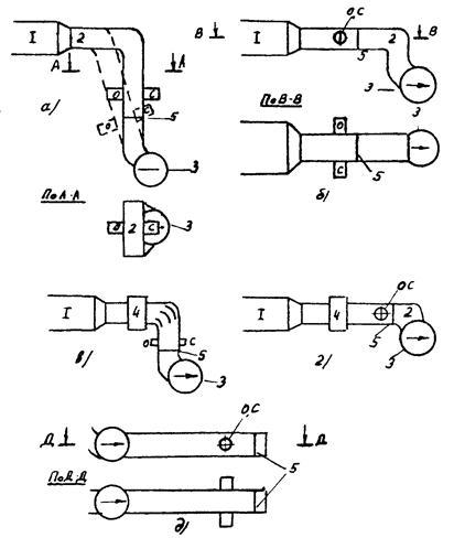
4.1. Установка первичного преобразователя дымомера.
4.1.1. Первичный преобразователь дымомера, состоящий из осветителя и светоприемника, должен устанавливаться на каждом газоходе между золоуловителем и дымососом котельного агрегата (черт. 1, а - 1, г).
В исключительных случаях, при отсутствии приемлемых для установки первичного преобразователя дымомера участков газохода, допускается монтаж первичного преобразователя за дымососом (черт. 1, д). При этом для аэродинамической защиты оптики от загрязнения дымовыми газами к блокам первичного преобразователя следует подвести сухой сжатый воздух. Давление воздуха перед входом в дымомер должно быть на 1 - 1,5 кПа выше статического давления в газоходе.
На котельных агрегатах паропроизводительностью менее 230 т/ч в период ограниченного внедрения дымомеров допускается их использование для группы котлоагрегатов, подключенных к одной дымовой трубе, непосредственно перед этой трубой (в самой трубе).
Варианты размещения дымомера на газоходах за золоуловителем
1 - золоуловитель; 2 - газоход; 3 - дымосос; 4 - коллектор; 5 - сечение для измерения массовой концентрации частиц; о - осветитель; с - светоприемник дымомера
Перечень рекомендуемых средств измерений
|
Наименование, тип, марка |
ГОСТ или ТУ |
Краткая техническая характеристика |
Количество на один дымомер, шт. |
|
|
1. Непрозрачность дымовых газов |
Измеритель непрозрачности дыма автоматический АИД-210 «Энергия» |
ТУ 25-05 (IЕ2.850.225)-79 |
Выходной сигнал унифицированный 0 - 5 мА постоянного тока. Диапазоны измерения непрозрачности: (0 - 50) % или (0 - 100) %. Основная погрешность ± 5,0 % |
|
|
2. Среднесуточные значения непрозрачности дымовых газов и содержание в них кислорода |
Интегратор-счетчик ПВИ-7 |
ТУ 25-02.722280-80 |
Входной сигнал (0 - 5) мА постоянного тока. Основная погрешность при нормальных условиях ± 0,25 %. Смоленский ОЗ НИИ Теплоприбора |
2 |
|
3. То же |
Нормирующий преобразователь НП-5-61 |
ТУ 25-04-3271-77 |
Выходной сигнал 0 - 5 мА постоянного тока. Уфимское производственное объединение «Геофизприбор» |
2 |
|
4. -"- |
Планиметр ПК-13 или ПП-Б |
Радиус: начальной окружности 28,75 мм, конечной окружности 135 мм, дуги времени 133 мм, окружности центров дуги времени 128,8 мм. Основная погрешность ± 1,0 % |
1 |
|
|
5. Состав дымовых газов (содержание кислорода) |
Газоанализатор химический стеклянный ручного действия ГХП-3М |
ГОСТ 6329-74 |
Основная погрешность ± 0,2 % |
1 |
|
6. Состав дымовых газов (содержание кислорода) |
Газоанализатор для общего анализа природных и промышленных газов типа ВТИ-2 |
ГОСТ 7018-75 |
Основная погрешность не превышает ± 0,1 % |
1 |
|
7. Автоматическое непрерывное измерение концентрации кислорода в дымовых газах |
Термомагнитный газоанализатор - МН 5106-2 |
ТУ 25-05.2723-80 |
Выходной сигнал унифицированный 0 - 5 мА постоянного тока. Диапазоны измерения: (0 - 1) %; (0 - 2) %; (0 - 5) % и (0 - 10) %. Основная погрешность ± 2,0 % для диапазонов (0 - 5) % и (0 - 10) % и ± 5 % для диапазонов (0 - 1) % и (0 - 2) % |
1 |
|
8. Температура дымовых газов в зоне отбора пробы |
Термопреобразователь сопротивления платиновый ТСП-5071 5Ц2, 821.300 |
ТУ 25-02.2207 |
Пределы измерения от -50 до +600 ºС. Предел допускаемой основной абсолютной погрешности при температуре (200 ±) ºС. Приборостроительный з-д, г. Луцк |
1 |
|
16-78 |
||||
|
9. Температура дымовых газов в зоне отбора пробы |
Мост автоматический уравновешенный КСМ-4 |
Пределы измерения 0 - 600 °С. Основная погрешность 0,5 %. З-д «Манометр», г. Москва |
1 |
|
|
Параметры окружающей среды в месте установки газоанализатора: |
||||
|
10. давление |
Барометр-анероид метеорологический БАММ-1 |
ТУ 25-04-1618-72 |
Пределы измерения от 80·10-3 до 106·103 Па, з-д «Гидрометприбор», г. Сафоново |
1 |
|
11. влажность |
Психрометр аспирационный М-34 |
ТУ 25-1607.054-85 |
Пределы измерения от 10 до 100 %, цена деления 0,2 %, з-д «Гидрометприбор», г. Сафоново |
1 |
|
12. температура |
Термометр 4-Б2 |
ГОСТ 215-73 |
Пределы измерения от 0 до 50 ºС, цена деления 0,1 ºС |
1 |
4.1.2. Первичный преобразователь дымомера следует монтировать на наиболее длинном прямолинейном вертикальном или наклонном участке газохода, имеющего постоянное или конфузорное поперечное сечение. По условиям компоновки газохода в исключительных случаях допускается размещение дымомера на горизонтальном участке газохода, Мерное сечение должно быть расположено в месте, делящем прямой участок в отношении 3:1 в направлении движения потока.
4.1.3. При измерении концентрации твердых частиц в дымовой трубе согласно п. 1.6 первичный преобразователь дымомера следует устанавливать на расстоянии Н ³ 5Д от ближайшего места возмущения потока (Д - диаметр трубы).
4.1.4. Первичный преобразователь дымомера должен устанавливаться на газоходе так, чтобы его оптическая ось была по возможности горизонтальна и лежала в плоскости гиба колена, расположенного перед предвключенным прямым участком газохода.
4.1.5. Осветитель и светоприемник дымомера должны устанавливаться на противоположных стенках газохода на расстоянии от 1 до 4 м.
Оптические оси осветителя и светоприемника должны совпадать.
4.1.6. Средняя скорость газов на измерительном участке газохода должна быть не ниже 6 м/с.
4.1.7. Для выравнивания полей скоростей и концентраций твердых частиц на измерительном участке, при необходимости, в колене газохода, расположенном перед предвключенным прямым участком, допускается установка направляющих лопаток в соответствии с черт. 1в и черт. 2.
4.1.8. Вырезка в газоходе окон и монтаж осветителя и светоприемника дымомера должны выполняться в соответствии с указаниями, приведенными в паспорте JЕ2.850.225ПС на измеритель дыма автоматический АИД-210 «Энергия».
Для повышения жесткости монтажа и снижения вибраций допускается устанавливать под осветителем и светоприемником подставки, соединенные расчалками с газоходом или площадкой обслуживания.
4.2. Первичный преобразователь дымомера может эксплуатироваться при следующих параметрах состояния окружающей среды:
температура, °С ± 50
относительная влажность, % до 95
атмосферное давление, кПа 82 - 104

n - число лопаток; d1 - расстояния между лопатками; i - порядковый номер лопатки (от внутреннего закругления колена). 1 - направляющая лопатка
4.3. Для обеспечения возможности градуировки дымомера в единицах массовой концентрации твердых частиц, содержащихся в дымовых газах, в зоне размещения первичного преобразователя должны быть установлены лючки и штуцера для ввода в газоход трубок Прандтля и пылеотборных трубок.
4.3.1. Лючки для ввода пылеотборных зондов, трубок Прандтля и термопар следует устанавливать на одной или двух (при ширине газохода свыше 2 м) широких стенках газохода (для газоходов круглого сечения - по окружности). Сечение газохода, в котором расположены лючки, должно находиться выше по течению газов на расстоянии (0,5 - 1) м от первичного преобразователя дымомера. Стенки, на которых размещаются лючки, выбираются исходя из удобства измерений.
4.3.2. Количество лючков определяется размерами сечения газохода, а также необходимой точностью градуировки и должно выбираться в соответствии с черт. 3.
Количество лючков должно быть достаточным для осуществления первичной градуировки дымомера (черт. 3,а), выполняемой в соответствии с Временной методикой градуировки дымомера АИД-210 «Энергия» в единицах массовой концентрации летучей золы (М.:ВТИ,1984) и повторных градуировок (черт. 3, б), которые проводятся путем измерения локальных параметров потока в 16 точках сечения газохода согласно ГОСТ 12.3.018-79.
Отклонение размеров, указанных на черт. 3, для установки лючков, не должно превышать ± 10 %. Конструкция лючков приведена на черт. 4. Продольная ось лючков должна быть параллельна оси газохода.
4.3.3. Штуцера для ввода в газоход пробоотборных зондов газоанализаторов размещают на расстоянии 0,5 - 0,7 м от лючков выше по течению дымовых газов.
4.3.4. При использовании дымомеров в нескольких газоходах котельного агрегата определить коэффициент неравномерности раздачи дымовых газов по газоходам мультипликаторами по методике «Теплотехнические испытания котельных установок» (М., Энергия, 1977) и установленными в каждом газоходе в зоне размещения штуцеров.
Координаты точек измерения скоростей и концентраций золы в газоходах круглого и прямоугольного сечения
а) для первичной градуировки дымомера, б) для вторичных градуировок дымомера
![]()
DijN - диаметр и число окружностей на которых расположены точки измерения в газоходе; n - порядковый номер окружности, считая от центра трубы. Точками на схеме указаны места измерения. 1 - газоход; 2 - лючок.
1 - гайка; 2 - шпилька; 3 - крышка; 4 - прокладка; 5 - фланец; 6 - стенка газохода
4.4. Для монтажа и обслуживания осветителя, светоприемника дымомера и устройств для его градуировки должны быть сооружены удобные площадки, защищенные от воздействия атмосферных осадков и ветра.
4.5. К месту установки первичного преобразователя дымомера подвести электропитание - переменный ток напряжением 220 В, частотой 50 Гц.
Оборудовать освещение площадки обслуживания дымомера в соответствии с действующими нормами.
4.6. Установка измерительного преобразователя дымомера.
4.6.1. Измерительный преобразователь дымомера следует устанавливать на преобразовательной подстанции электрофильтров энергоблока или в другом помещении, расположенном вблизи мест установки первичного преобразователя дымомера.
4.6.2. В помещении, где установлен измерительный преобразователь, должны соблюдаться следующие условия:
температура, °С 5 - 45
относительная влажность, % 30 - 80
атмосферное давление, кПа 82 - 104
4.6.3. Измерительный преобразователь монтируется в местном щите в соответствии с указаниями, изложенными в паспорте на дымомер.
4.7. Регистрирующий прибор дымомера - потенциометр типа КСУ-1 - устанавливается на щите управления котельным агрегатом.
4.8. Подвод электропитания, заземление и внешние электрические соединения составных частей комплекта дымомера осуществляются изолированным кабелем, рассчитанным на максимальный ток 1 А, в соответствии с маркировкой на блоках дымомера согласно схеме электрических соединений, приведенной в паспорте на дымомер.
4.9. Комплект дымомера должен быть принят в эксплуатацию по «Инструкции о порядке приемки установок теплотехнического контроля из монтажа и наладки» (СЦНТИ ОРГРЭС, М.: 1974).
5.1. При проведении подготовительных операций, а также при выполнении измерений концентрации твердых частиц в дымовых газах с помощью дымомера следует руководствоваться эксплуатационной документацией завода-изготовителя на дымомер.
5.2. Для подсчета расхода дымовых газов (согласно пп. 3.5.3, 3.5.4) должны использоваться показания как штатных приборов, по которым оперативный персонал контролирует работу котлоагрегата, так и лабораторных приборов, которые применяются периодически для наладки, балансовых испытаний котлоагрегата. Во всех случаях при проведении подготовительных операций и выполнении измерений следует руководствоваться нормативно-техническими документами на соответствующие приборы, графиками их поверки и ремонта, методиками выполнения измерений.
5.3. Все применяемые СИ должны быть поверены и иметь клейма или свидетельства о поверке. Применяемые нестандартизованные СИ должны пройти метрологическую аттестацию.
6.1. В качестве показателя точности измерения валового выброса твердых частиц за отчетный период принимается интервал, в котором с установленной вероятностью находится абсолютная погрешность измерения в соответствии с МИ 1317-86 (М: Издательство стандартов, 1986).
6.2. Устанавливается следующая форма представления результатов измерения:
где М - валовый выброс твердых частиц за отчетный период;
Dм - предел суммарной абсолютной погрешности косвенного измерения валового выброса;
Р - доверительная вероятность.
7.1. Валовый выброс твердых частиц с дымовыми газами (М) за отчетный период через газоходы котлоагрегата, в которых установлены дымомеры, должен определяться по формуле
, (2)
где j = 1,2...m - порядковый номер газохода;
m - число газоходов котлоагрегата, на которых установлены дымомеры;
Mj - валовый выброс твердых частиц через j-й газоход.
7.2. На электростанциях, оснащенных ЭВМ, валовый выброс твердых частиц с дымовыми газами через контролируемый газоход, Mj, с использованием сигнала дымомера следует определять по формуле:
, (3)
где μij - концентрация твердых частиц в газоходе в данный момент времени, г/м3;
Qi - полный расход дымовых газов через газоходы котлоагрегата при нормальных условиях, м/с;
Kj - коэффициент, равный отношению расхода дымовых газов, протекающих через контролируемый газоход, к полному расходу дымовых газов;
τ - время, за которое определяется валовый выброс твердых частиц, с.
7.3. При отсутствии ЭВМ валовый выброс твердых частиц c дымовыми газами, М, за отчетный период с использованием сигнала дымомера определяется по формуле:
, (4)
где i = 1, 2, 3....n - порядковый номер суток отчетного периода;
Mji - валовый выброс твердых частиц через j-й газоход котла за i-ые сутки, т;
- среднесуточная за i-ые сутки
концентрация твердых частиц в дымовых газах в j-ом газоходе,
г/м3;
- средний часовой расход дымовых газов
в течение i-ых суток при н.
у. через все измерительные участки газоходов котла, на которых установлены
дымомеры, м3/ч;
24 ч - время, за которое определяются
средние значения
и
.
7.4. Зависимостями (3) и (4) не следует пользоваться при определении валового выброса твердых частиц за промежутки времени τi, в течение которых:
7.4.1. Оптическая непрозрачность измеряемой среды (дымовых газов) превышала 95 % предела измерения дымомера, например, вследствие нарушения нормального режима работы золоуловителей.
7.4.2. Погрешность дымомера, отградуированного в единицах массовой концентрации твердых частиц, была чрезмерно высокой вследствие наличия на измерительном участке газохода сажи, образовавшейся при сжигании жидкого топлива с тепловыделением:
, (5)
где
и
- соответственно низшая теплота
сгорания расходуемого твердого и жидкого топлива, кДж/кг;
Втт и Вжт - часовой расход твердого и жидкого топлива, кг/ч.
7.5. В случаях, когда в течение отчетного периода или его части контролируемый объект работал в режимах, указанных в п. 7.4, валовый выброс твердых частиц с дымовыми газами следует определять по формуле:
, (6)
где τi - промежуток времени i-тых суток, в течение которого сигнал дымомера не использовался, ч.
Значения
и
определяются в этих случаях за
время (24 - τi) ч.
Мтвi - валовый выброс твердых частиц с дымовыми газами в единицу времени, рассчитываемый с использованием средних показателей работы котла за рассматриваемый период, г/с - по «Методике определения валовых выбросов вредных веществ в атмосферу от котлов тепловых электростанций» МТ 34-70-010-83.
7.6. Определение концентрации твердых частиц по показаниям дымомера
7.6.1. На электростанциях следует рассчитывать мгновенную концентрацию твердых частиц μji (г/м3) с помощью ЭВМ по формуле:
где а и Дjo - коэффициенты линейного уравнения (черт. 5, а), аппроксимирующего точки Д = f(μ), полученные в результате градуировки дымомера в единицах массовой концентрации твердых частиц на конкретном газоходе по «Временной методике градуировки оптического дымомера АИД-210 «Энергия».
Значения коэффициентов а и Дjo должны быть определены методом наименьших квадратов на ЭВМ по стандартной программе аппроксимации экспериментальных данных линейной зависимостью.
При этом а = tgα, где α - угол наклона прямой, изображенной на черт. 5, б.
- координата
точки пересечения прямой Д = f(μ) с осью абсцисс
(черт. 5,
а);
Njo - координата точки пересечения градуировочной характеристики дымомера N = f(μ) с осью абсцисс;
- текущее
значение оптической плотности контролируемой среды;
Nji - текущее значение непрозрачности контролируемой среды (выходной сигнал дымомера).
Типовая градуировочная характеристика дымомера
Типовая рабочая характеристика дымомера
μ - массовая концентрация твердых частиц, г/м3; N - непрозрачность дымовых газов, %; Д - оптическая плотность дымовых газов; + - экспериментальные точки, полученные при градуировке дымомера.
Черт. 5
Допускается рассчитывать значения коэффициентов а и Дjo методом, указанным в обязательном приложении 1 к настоящей методике.
7.6.2. На электростанциях, не оснащенных ЭВМ,
следует определять среднюю концентрацию твердых частиц
за каждый промежуток
времени отчетного периода по градуировочной характеристике μ - N дымомера (черт. 5, б) по средней
непрозрачности дымовых газов
. Для этого:
7.6.2.1. Определить интегральную характеристику Пji непрозрачности дымовых газов за каждые сутки или за каждый промежуток времени (24 - τi) по диаграммной ленте дымомера. Величину Пji определять путем интегрирования сигнала дымомера с помощью электрического интегрирующего прибора, например, типа ПВИ-4 (ТУ 25-02.722280-80) или вручную путем интегрирования кривой, записанной на диаграммной ленте дымомера, с помощью планиметра.
7.6.2.2. Рассчитать среднюю за сутки или за
время (24 - τi) непрозрачность
по
формулам:
(8)
или
(9)
где Пji - показания интегрирующего прибора.
7.7. Коэффициент Kj, характеризующий неравномерность раздачи дымовых газов по газоходам котла, следует определять для конкретного газохода как отношение расхода дымовых газов в конкретном j-ом газоходе к полному расходу дымовых газов в газоходах котельного агрегата, где установлены дымомеры.
Указанное отношение следует определять с использованием показаний мультипликаторов, установленных в газоходах котлоагрегата в зоне размещения дымомеров.
Допускается определение коэффициента Kj при проведении градуировки дымомеров по «Временной методике градуировки оптического дымомера АИД-210 «Энергия» в единицах массовой концентрации летучей золы» (М., ВТИ, 1984).
При симметричной компоновке газоходов и нормальной эксплуатации котла допускается принимать распределение дымовых газов по газоходам равномерным.
В этом случае
, где m - число
газоходов котлоагрегата, на которых установлены дымомеры.
7.8. Расход дымовых газов Qi (м3/с) определяется по обратному тепловому балансу котла по формуле:
, (10)
Средний часовой
расход дымовых газов в течение i-ых суток
(м3/ч)
определяется по формуле
(11)
В формулах (10), (11):
и Vo (при нормальных
условиях) - суммарный теоретический объем продуктов сгорания, образующихся при
сжигании 1 кг топлива и теоретически необходимое для сгорания 1 кг топлива
количество воздуха, м/кг;
и Vo следует принять
в зависимости от марки и характеристики топлива по данным табл. XI методики
«Расчет котельных агрегатов. Нормативный метод» (Энергия, М., 1973), или
рассчитать по указанной методике, если элементарный состав сжигаемого топлива
существенно отличается от типового;
Вi и
- текущий и
средний за сутки или за время (24 - τi) расходы топлива
на котел, кг/ч;
gH и
- текущие и
средние за сутки или за время (24 - τi) потери тепла от
механической неполноты сгорания топлива, %;
αi и
текущий и
средний за сутки или за время (24 - τi) коэффициенты
избытка воздуха в зонах измерения концентрации твердых частиц, осредненные по
газоходам, где установлены дымомеры.
7.8.1. Значения Вi и
определяются
по обратному тепловому балансу котла. При определении
допускается
использовать данные из месячных отчетов, составленных по форме № 6-ТП.
7.8.2. Значения gH и
принять по
данным электростанции за отчетный период по форме № 3-тех, в соответствии с
«Инструкцией по составлению технического отчета о тепловой экономичности работы
электростанции» (Специализированный центр научно-технической информации, М.,
1971).
7.8.3. Коэффициенты избытка воздуха αi и
определить по
формулам:
, (12)
, (13)
где αi и
-
коэффициенты избытка воздуха в j-ом газоходе.
При непрерывном измерении содержания кислорода в дымовых газах кислородомером в той же зоне, где установлен дымомер:
(14)
и
, (15)
где О2ji - текущее значение содержания кислорода в дымовых газах (показание кислородомера) в j-ом газоходе котла, %;
- среднесуточное или среднее за время (24 - τi) содержание
кислорода в j-ом газоходе, определенное с помощью
автоматического прибора, интегрирующего выходной сигнал кислородомера, или
определенное с помощью планиметра по диаграммной ленте, %;
(16)
или
(17)
τo - время начала отсчета, ч.
7.8.3.1. При отсутствии непрерывного измерения содержания кислорода в дымовых газах в зоне установки дымомера допускается для определения коэффициента избытка воздуха αji периодически (не реже одного раза в месяц) на трех различных нагрузках котла выполнять анализ состава дымовых газов переносным газоанализатором. При этом:
, (18)
где RO2ji содержание в дымовых газах многоатомных продуктов сгорания, %.
Значение
определяется
для среднесуточной нагрузки котла по графику зависимости коэффициента избытка
воздуха α в j-ом газоходе от нагрузки котла D (т/ч) или по
формуле:
, (19)
где Dн - номинальная паропроизводительность котла, т/ч;
Dcp - среднесуточная или средняя за время паропроизводительность котла, т/ч
или ![]()
D - выработка пара котлом за сутки или за время (24 - τi) т;
αнj, Dαнj - коэффициент избытка воздуха в j-ом газоходе в зоне установки дымомера и величина присосов воздуха по тракту дымовых газов до места установки дымомера при номинальной нагрузке котла.
7.8.3.2. Допускается определение коэффициента избытка воздуха (α'ji) в сечении газохода, отстоящем от сечения, в котором установлен дымомер, если величина присосов воздуха (± Da) между указанными сечениями не превышает 2 % величины aji.
В этом случае
7.9. Выполнить оценку погрешности измерения валового выброса твердых частиц (единожды для принятой схемы измерения) для конкретного газохода в соответствии c обязательными приложениями 1, 2 и справочными приложениями 3, 4.
8.1. Измерение и расчет валового выброса твердых частиц по настоящей методике должны выполняться ежесуточно.
8.2. С целью определения влияния на погрешность измерения оптических свойств и фракционного состава золы и частиц механического недожога топлива для котлоагрегатов и золоуловителей различных типов в период опытно-промышленной эксплуатации дымомера (в течение 6 месяцев с начала его использования) следует проводить его повторную градуировку не реже 1 раза в 2 месяца. По истечении периода опытно-промышленной эксплуатации градуировку дымомера следует проводить 1 раз в 6 месяцев. Новую градуировку следует выполнять также всякий раз при переходе на сжигание углей других марок, поскольку зола этих углей может иметь различные оптические свойства и фракционный состав.
Методика градуировки изложена во «Временной методике градуировки оптического дымомера АИД-210 «Энергия» в единицах массовой концентрации летучей золы» (М.: ВТИ, 1984).
8.3. Отчетность по валовому выбросу твердых частиц должна осуществляться ежеквартально и ежегодно по форме 2-ТП (воздух) в соответствии с «Типовым положением об организации контроля за выбросами в атмосферу на тепловых электростанциях» (М., СПО «Союзтехэнерго», 1982).
9.1. Лица, осуществляющие контроль за содержанием твердых частиц в дымовых газах, а также выполняющие градуировку дымомера, измерение и расчет валового выброса твердых частиц, должны иметь квалификацию инженера-теплотехника.
9.2. Лица, осуществляющие ремонт и эксплуатацию дымомера, должны иметь квалификацию слесаря по автоматике и КИП не ниже 4 разряда.
Обслуживающий персонал должен быть ознакомлен с «Методикой выполнения измерений валового выброса твердых частиц с дымовыми газами» и с паспортом дымомера.
10.1. К работам по монтажу, наладке, настройке и эксплуатации дымомера допускаются лица, прошедшие инструктаж и проверку знаний «Правил техники безопасности при эксплуатации электроустановок потребителей», утвержденных Госэнергонадзором СССР; «Правил техники безопасности при эксплуатации теплотехнического оборудования электростанций и тепловых сетей» (М., Энергоатомиздат, 1985).
10.2. Монтаж осветителя и светоприемника дымомера следует проводить только во время останова котла.
10.3. Измерительный преобразователь дымомера должен быть установлен в вентилируемом взрывобезопасном помещении, освещенном в соответствии с нормами СНиП II-4-79 «Строительные нормы и правила. Естественное и искусственное освещение».
10.4. Работы по монтажу и ремонту дымомера должны производиться при отключенном напряжении питания. Прикосновение к деталям допускается не ранее, чем через 5 с после отключения от сети.
10.5. Запрещается подключать провода питания дымомера к электрической сети до завершения монтажа электрических с соединений и заземления первичного и измерительного преобразователей.
Обязательное
1. Определить суммарную абсолютную
погрешность измерения средней за ближайшие сутки предшествовавшего периода, в
течение которых котлоагрегат работал по характерному для него типовому графику
нагрузки, концентрации
(г/м3) твердых частиц в
дымовых газах по формуле:
, (21)
где D0, Dдоп, Dμи - соответственно пределы допускаемых абсолютных погрешностей дымомера: основной, суммарной дополнительной и погрешности интегрирования сигнала дымомера. г/м3;
Dгрi - предел допускаемой абсолютной погрешности градуировки дымомера в единицах массовой концентрации частиц, г/м. Методика определения величины Dгрi изложена в обязательном приложении 1 данной Методики;
DNcpi - погрешность, возникающая вследствие нелинейности характеристики μ - N дымомера при интегрировании за i-ый промежуток времени текущих значений непрозрачности среды вместо текущих значений концентрации, г/м3. При использовании для расчета валового выброса ЭВМ DNcpi = 0.
1.1. Определить значения D0, Dдоп, Dμи по формулам:
(22)
(23)
, (24)
где a - коэффициент в формуле (7), равный тангенсу угла α (черт. 5, а);
NH - нормирующее значение диапазона измерения дымомера (NH =50 %), %;
- среднее за
ближайшие сутки предшествовавшего периода, в течение которых котлоагрегат
работал по характерному для него типовому графику нагрузки, значение
непрозрачности дымовых газов, %;
DNо и DNдоп - соответственно пределы допускаемых основной и суммарной дополнительной абсолютных погрешностей дымомера, выраженные в единицах непрозрачности дымовых газов, %;
DNu - предел допускаемой абсолютной погрешности, возникающей при интегрировании сигнала дымомера, выраженный в единицах непрозрачности дымовых газов, %.
Значения DNо, DNдоп и DNи определяются по формулам:
(25)
(26)
, (27)
где δo, δдоп и δNu - соответственно пределы допускаемых относительных погрешностей дымомера: основной и суммарной дополнительной и погрешности интегрирования сигнала дымомера, %,
причем
, (28)
где δдоп1, δдоп2,..., δдопt - пределы допускаемых дополнительных погрешностей дымомера;
t - порядковый номер дополнительной погрешности, число которых равно Т.
(29)
δNприб - предел приведенной суммарной относительной погрешности используемого интегрирующего прибора или планиметра, вычисляемый квадратичным суммированием основной и приведенной дополнительной погрешностей, указанных в паспорте этого прибора;
δNопер - относительная погрешность, возникающая вследствие ошибок оператора только при ручном планиметрировании диаграммной ленты.
1.2. Значение DNcpj следует определять по формуле:
, (30)
где δNcp - предельная относительная погрешность, возникающая при интегрировании текущих значений непрозрачности среды вместо текущих значений концентрации вследствие нелинейности рабочей характеристики дымомера, %;
μNcpj - концентрация
частиц в дымовых газах, соответствующая
, принимаемая по графику μ - N для конкретного
газохода.
2. Рассчитать предельную абсолютную погрешность определения среднего часового расхода дымовых газов в газоходах котла DQcp (м3/ч) за ближайшие сутки предшествовавшего периода, в течение которых котлоагрегат работал по характерному для него типовому графику нагрузки по формуле:
, (31)
где DQδ - предельная абсолютная погрешность определения расхода дымовых газов по обратному тепловому балансу котла, м3/ч;
DKj - предельная абсолютная погрешность, возникающая вследствие неравномерности раздачи дымовых газов по газоходам котла, м3/ч;
DQu - предел
допускаемой абсолютной погрешности, возникающей при определении среднесуточных
значений
и
м3/ч.
Значение DQcp одинаково для всех газоходов котла при использовании для определения расхода газа в каждом газоходе однотипных приборов.
2.1. Определить значения DQδ, DKj и DQu по формулам:
(32)
(33)
,
где δQδ - предельная относительная приведенная погрешность определения суммарного расхода дымовых газов в газоходах котла по обратному тепловому балансу котла, %;
δKj - предельная относительная погрешность определения коэффициента Kj, %;
δQu - предельная
приведенная относительная погрешность, возникающая при определении
среднесуточных значений
и
, %;
- средний
часовой расход дымовых газов за ближайшие сутки предшествовавшего периода, в
течение которых котлоагрегат работал по характерному для него типовому графику
нагрузки, м3/ч;
2.2. Значение δQδ определить по формуле:
, (35)
где σКδ - относительная среднеквадратичная погрешность определения по обратному тепловому балансу расхода дымовых газов через конвективный газоход котла в зоне за водяным экономайзером, %;
С - коэффициент, равный отношению количества воздуха, поступившего в газоходы котла вследствие присосов на участке между водяным экономайзером и зонами установки дымомеров, к суммарному расходу дымовых газов через газоходы в этих зонах;
m - число газоходов котла;
δDajизм - предельная относительная погрешность определения избытков воздуха с помощью газоанализатора в одном газоходе (в % от Vo);
δDajвр - предельная относительная погрешность, равная максимально возможному изменению присосов в j-м газоходе в зоне установки дымомера, в период между периодическими контрольными газовыми анализами, (в % от Vo);
δDajуст - предельная относительная погрешность, равная максимальному изменению разности значений присосов между зоной установки дымомера и зоной отбора пробы к газоанализатору в j-м газоходе (в % от Vo).
2.3. Значение С определить по формуле:
, (36)
где aКГ - коэффициент избытка воздуха в конвективном газоходе за водяным экономайзером;
Daj - присосы воздуха в газоходы на участке водяной экономайзер - зона установки дымомера в j-ом газоходе;
ρ - отношение разности теоретических объемов продуктов сгорания и воздуха к теоретически необходимому объему воздуха.
2.4. Значение δDajизм определить по формуле:
, (37)
где
- предельная суммарная
относительная погрешность определения содержания кислорода в дымовых газах, %.
включает следующие погрешности,
значение которых суммируются квадратически:
для переносного газоанализатора - относительные погрешности отсчета по шкале измерительной бюретки, относительную погрешность из-за неполноты поглощения газа реактивом, относительную погрешность из-за растворимости газа в запирающей жидкости газоанализатора, относительную погрешность из-за недостаточной представительности пробы газа.
для автоматического кислородомера, например типа МН 5106-2 - основную приведенную погрешность, суммарную дополнительную погрешность, относительную погрешность устройства отбора пробы газа, относительную погрешность системы газоподготовки и относительную погрешность из-за недостаточной представительности пробы газа.
3. Определить предел суммарной абсолютной погрешности (Dмji, т) косвенного измерения валового выброса твердых частиц в конкретном газоходе за ближайшие сутки, предшествовавшего периода, в течение которых котлоагрегат работал по характерному для него типовому графику нагрузки, по формуле:
(38)
4. Определить предел суммарной абсолютной погрешности косвенного измерения валового выброса твердых частиц (Dмj) через конкретный газоход за отчетный период по формуле:
(39)
Dмjiсист; Dмjiсл - соответственно систематические и случайные составляющие абсолютной погрешности измерения валового выброса твердых частиц Dмji.
Поскольку в течение отчетного периода измерение валового выброса частиц осуществляется одним комплектом приборов, к случайным погрешностям можно отнести следующие погрешности: Dдоп, Dμu (при ручном планиметрировании диаграммной ленты), DKj, DQu (при отсутствии интегратора), δDajвр, Dосрji. Случайная составляющая этих погрешностей много больше систематической. Остальные погрешности относятся к категории систематических, т.к. их систематическая составляющая много больше случайной. В частности, систематической являются погрешность градуировки дымомера Dгр, так как градуировочная характеристика дымомера, устанавливающая связь между непрозрачностью (оптической плотностью) дымовых газов и массовой концентрацией твердых частиц, используется в течение всего отчетного периода.
5. Определить значение Dмjiсист или Dмjiсл, исключив из алгоритма расчета Dмji (из формул (21), (35), (32), (31), (38) Методики) соответственно все случайные или систематические погрешности.
6. Определить предел суммарной абсолютной погрешности измерения валового выброса твердых частиц (Dм, т) через все газоходы энергетического объекта по формуле:
(40)
7. Необходимые для оценки погрешности измерения валового выброса твёрдых частиц Dм значения составляющих погрешностей приведены в справочном приложении 3.
Пример оценки погрешности измерения валового выброса твёрдых частиц с помощью дымомера, установленного и отградуированного на котле ПП-950/255Ж Каширской ГРЭС рассмотрен в справочном приложении 4.
Обязательное
В процессе градуировки дымомера в каждом опыте необходимо:
1. Измерить значение расхода дымовых газов (QГ) по ГОСТ 12.3.018-79 трубкой Прандтля в сочетании с микроманометром типа ММН. Расчет выполнить по формуле:
, м3/ч (41)
F - площадь мерного сечения, м2;
ρ - плотность дымовых газов, кг/м3;
КГ - поправочный коэффициент, вычисляемый при градуировке дымомера по отношению полного расхода газа, определенного путем измерения локальных скоростей по всему сечению газохода, к расходу, определенному по 16 точкам сечения (черт. 3). КГ вводится только при повторных тарировках дымомера по 16 точкам сечения. При градуировке по всему сечению КГ = 1.
Pdi - динамическое давление потока газа в i-той точке мерного сечения, Па;
Z - количество точек мерного сечения, в которых осуществляется измерение локальной скорости газа.
2. Измерить значения расхода твердых частиц (Gr) пылеотборной трубкой по «Временной методике градуировки оптического дымомера АИД-210 «Энергия» в единицах массовой концентрации летучей золы». Расчет выполнить по формуле:
кг/ч (42)
f - проходное сечение пылеотборной трубки, м2;
KG - поправочный коэффициент, определяемый при градуировке дымомера аналогично коэффициенту KГ (формула (41));
τi - время отбора частиц в одной точке сечения газохода (одинаково во всех точках), с;
gi - масса уловленных в каждой точке отбора пробы твердых частиц, г.
3. Рассчитать массовую концентрацию твердых частиц μ (г/м3) по формуле:
(43)
4. Определить согласно п.п. 7, 6.2.2 Методики среднюю непрозрачность дымовых газов N (%), равную среднему в течение опыта значению сигнала дымомера.
5. Рассчитать значение оптической плотности дымовых газов по формуле:
(44)
6. Построить рабочую характеристику дымомера. Для этого:
6.1. Следует аппроксимировать прямой
точки с координатами Д и μ (рис. 5, б), определив методом наименьших квадратов значения а и До по формулам:
(46)
, (47)
где n - количество точек (опытов).
Рассмотрим пример расчета коэффициентов а и До по результатам градуировки дымомера.
Положим в процессе градуировки получены точки с координатами:
|
0,55 |
0,591 |
0,564 |
0,616 |
0,75 |
0,73 |
0,614 |
0,344 |
|
|
μ |
3,33 |
3,18 |
3,47 |
3,86 |
4,65 |
4,34 |
3,11 |
1,71 |
|
Д |
0,387 |
0,344 |
0,308 |
0,310 |
0,272 |
|||
|
μ |
1,98 |
1,22 |
1,61 |
1,57 |
1,03 |
=0,55·3,33 +
0,591·3,18 + 0,564·3,47 + + 0,616·3,86 + 0,75·4,65 + 0,73·4,34 + 0,614·3,11 +
0,344·1,71 + 0,387·1,98 + 0,344·1,22 + 0,308·1,61 + 0,310·1,57 + 0,272·1,03 =
19,663
= 3,33 + 3,18 +
3,47 + 3,86 + 4,65 + 4,34 + 3,11 + 1,71 + 1,98 + 1,22 + 1,61 + 1,57 + 1,03 =
35,06
= 0,55 + 0,591
+ 0,564 + 0,616 + 0,75 + 0,73 + 0,614 + 0,344 + 0,387 + 0,344 + 0,308 + 0,310 +
0,272 = 6,38
= 0,552
+ 0,5912 + 0,5642 + 0,6162 + 0,752
+ 0,732 + 0,6142 + 0,3442 + 0,3872
+ 0,3442 + 0,3082 + 0,3102 + 0,2722
= 3,463

Уравнение (45) примет вид:
Построить график по результатам расчета (черт. 5,а).
6.2. Построить рабочую характеристику дымомера: μ = f(N) (черт. 5, б), используя полученную зависимость μ = f(Д) и принимая во внимание, что N = (1 - 10-Д)·100.
7. Провести оценку погрешности градуировки оптического дымомера путем анализа уравнений (41) - (47). Для этого:
7.1. Определить предельную абсолютную погрешность измерения расхода дымовых газов (DQг м3/ч) трубкой Прандтля по формуле:
(49)
δQг - предельная относительная погрешность определения расхода дымовых газов, %.
Величину δQг определить в соответствии с ГОСТ 12.3.018-79 по формуле:
σQг - среднеквадратичная относительная погрешность, обусловленная неточностью измерений расхода дымового газа в процессе градуировки;
δφ - предельная относительная погрешность определения расхода дымовых газов, связанная с неравномерностью поля скоростей в мерном сечении.
Величины δφ даны в табл. 3.
|
Число точек измерения |
δφ % при расстоянии от места возмущения потока в газоходе до мерного сечения гидравлических диаметрах, Dh) |
|||||
|
1 |
2 |
3 |
5 |
> 5 |
||
|
Круг |
4 |
20 |
16 |
12 |
6 |
3 |
|
8 |
16 |
12 |
10 |
5 |
2 |
|
|
12 |
12 |
8 |
6 |
3 |
2 |
|
|
Прямоугольник |
4 |
24 |
20 |
15 |
8 |
4 |
|
16 |
12 |
8 |
6 |
3 |
2 |
|
; F, м2;
П, м - соответственно, площадь и периметр сечения газохода. Определить σQг по формуле:
, (52)
где σF - среднеквадратичная погрешность определения размеров мерного сечения;
σВ, σp, σt - среднеквадратичные погрешности измерений соответственно барометрического давления окружающей среды (В); динамического давления (р) и температуры (t) потока. Величины σВ, σp, σt даны в табл. 4.
|
σВ, σp, σt, % |
для приборов класса точности |
|
|
1,0 |
0,5 |
|
|
1,00 |
± 0,5 |
± 0,25 |
|
0,75 |
± 0,7 |
± 0,35 |
|
0,50 |
± 1,0 |
± 0,5 |
|
0,25 |
± 2,0 |
± 1,0 |
|
0,10 |
± 5,0 |
± 2,5 |
|
0,05 |
± 10,0 |
± 5,0 |
7.2. Определить предельную абсолютную погрешность DGr (кг/ч) измерения расхода твердых частиц пылеотборной трубкой по формуле:
(52)
δQг, % - предельная относительная погрешность определения расхода твердых частиц, равная:
δGr = (2σGr + δn + δрас) (53);
σGr - среднеквадратичная относительная погрешность, обусловленная неточностью измерений расхода твердых частиц пылеотборной трубкой в процессе градуировки;
δn - предельная относительная погрешность, возникающая из-за неравномерности и нестабильности поля расхода твердых частиц по сечению газохода. δn зависит от длины предвключенного прямого участка газохода, выраженной в калибрах Dh и количества точек отбора пробы пыли. Выравнивание поля концентраций тонких фракций твердых частиц диаметром до 3 - 5 МК в спутной затопленной струе газа так же как и выравнивание поля концентраций газообразной примеси происходит приблизительно с той же интенсивностью, что и выравнивание поля скоростей газа. Указанные тонкие фракции составляют обычно 40 - 80 % расхода твердых частиц в мерном сечении газохода. И, хотя поле концентраций более грубых фракций выравнивается медленнее, но учитывая что выходной сигнал дымомера определяется прежде всего тонкими фракциями, в первом приближении δn можно принять аналогично δj по табл. 3. Это позволяет устанавливать величину δn в зависимости от длины предвключенного прямого участка газохода. Отметим, что абсолютная величина δn сохраняется при этом в пределах, указанных в «Методических указаниях по испытаниям золоулавливающих установок ТЭС» (М.: СПО Союзтехэнерго, 1982) на основании экспериментальных данных.
δрас - предельная относительная погрешность, возникающая из-за рассогласования скоростей твердых частиц и дымовых газов, %.
По данным «Норм расчета и проектирования пылеприготовительных установок» (М.-Л.: Госэнергоиздат, 1958. 150 с) δрас не превышает 1 %.
Определить σGr по формуле:
, (54)
где sF - среднеквадратичная погрешность определения размеров мерного сечения газохода, %;
sf - среднеквадратичная погрешность определения сечения пылеотборной трубки, %;
sg - среднеквадратичная погрешность определения массы уловленных при каждом отборе пробы (в каждом опыте) твердых частиц, %;
sуст - среднеквадратичная погрешность, возникающая от неправильной установки пылеотборной трубки относительно направления потока, %;
sтр - среднеквадратичная погрешность, возникающая из-за неизокинетичности отсоса пробы газа, %.
7.3. Определить предельную абсолютную погрешность измерения массовой концентрации Dμ (г/м3) твердых частиц в дымовых газах по уравнению:
(55)
Gr и Qг - значения расходов твердых частиц и дымовых газов, измеренных при номинальной нагрузке котла кг/ч, м3/ч;
μ - отношение этих величин, г/м3.
7.4. Определить систематическую составляющую предельной абсолютной погрешности градуировки дымомера DС (г/м3) в единицах массовой концентрации по формуле:
(56)
DС и Dдоп - значения погрешностей, определяемых согласно п. 1 обязательного приложения 1, г/м3.
7.5. Определить случайную составляющую абсолютной погрешности градуировки дымомера (S, г/м3) в единицах массовой концентрации по разбросу точек, координаты μ и Д которых получены при градуировке, относительно аппроксимирующей прямой μ = f(Д) по формуле:

S - оценка среднего квадратического отклонения результата измерения концентрации твердых частиц;
Di - отклонение по ординате каждой градуировочной точки от соответствующей точки на аппроксимирующей прямой
7.6. Определить суммарное среднее квадратическое отклонение результата градуировки дымомера (SΣ, г/м3) в единицах массовой концентрации в соответствии с ГОСТ 8.207-76 по формуле:
(58)
7.7. Определить предел допускаемой абсолютной погрешности градуировки дымомера Dəр (г/м3) в единицах массовой концентрации с доверительной вероятностью 0,95 по формуле:
Справочное
|
Обозначение |
Величина |
Источник информации |
|
|
1. Основная погрешность дымомера, не более, % |
δ0 |
± 5 |
Паспорт IE.850.225ПС 1979 г. |
|
2. Суммарная дополнительная погрешность дымомера, % |
δдоп |
± 10 |
По сценке, выполненной на основания паспортных данный дымомера |
|
3. Основная погрешность интегрирующего прибора типа ПВИ-7, отнесенная к значению интеграла по времени от входного сигнала, не превышает, % |
δou |
± 0,25 |
Технические данные ПВИ-7 |
|
4. Суммарная дополнительная погрешность интегрирующего прибора типа ПВИ-7, отнесенная к значению интеграла по времени от входного сигнала, не превышает, % |
δдоп.u. |
± 0,9 |
Квадратичное суммирование дополнительных погрешностей интегратора ПВИ-7 |
|
5. Общая погрешность интегрирующего прибора типа ПВИ-7, отнесенная к значению интеграла по времени от входного сигнала, не превышает, % |
δNu |
± 1,0 |
Квадратичное суммирование основной и суммарной дополнительной погрешностей интегратора ПВИ-7 |
|
6. Общая погрешность планиметрирования диаграммной ленты, не превышает, % |
δNu |
± 5,0 |
По оценке, выполненной на основании паспортных данных планиметра |
|
7. Предельная относительная погрешность, возникающая при интегрировании текущих значений непрозрачности среды вместо текущих значений концентрации вследствие нелинейности рабочей характеристики дымомера, не превышает, % |
δNср |
± 6 |
Оценка выполнена по отчету ВТИ им. Ф.Э. Дзержинского, арх. № 12327, М., 1983 |
|
8. Предельная относительная погрешность определения расхода дымовых газов, связанная с неравномерностью поля скоростей в мерном сечении, % |
δg |
По табл. 3 обязательного приложения |
|
|
9. Среднеквадратичная погрешность определения размеров мерного сечения не более, % |
σF |
± 2 |
|
|
10. Среднеквадратичные погрешности измерений соответственно барометрического давления окружающей среды (В), динамического давления (р) и температуры (t) потока, % |
σB |
см. Обязательное приложение 2 |
|
|
σр |
|||
|
σt |
|||
|
11. Предельная относительная погрешность, возникающая из-за неравномерности и нестабильности поля расходов твердых частиц по сечению газохода, % |
δn |
||
|
12. Предельная относительная погрешность, возникающая из-за рассогласования скоростей твердых частиц и дымовых газов не превышает, % |
δрас |
± 1,0 |
По данным «Норм расчета и проектирования пылеприготовительных установок» М.-Л.: Госэнергоиздат, 1958 |
|
13. Среднеквадратичная погрешность определения сечения пылеотборной трубки, не более, % |
σf |
± 2 |
|
|
14. Среднеквадратичная погрешность определения массы уловленных при отборе пробы твердых частиц, ориентировочно |
σgi |
± 1,0 |
Методические указания по испытаниям золоулавливающих установок тепловых электростанций. СПО Союзтехэнерго, 1982 |
|
15. Среднеквадратичная погрешность, возникающая из-за неизокинетичности отсоса пробы газа, ориентировочно, % |
σтр |
± 2,0 |
-“- |
|
16. Среднеквадратичная погрешность, возникающая от неправильной установки пылеотборной трубки относительно направления потока, ориентировочно, % |
σуст |
± 1,5 |
-“- |
|
17. Относительная погрешность определения по обратному тепловому балансу расхода дымовых газов через конвективный газоход котла в зоне за водяным экономайзером, % |
σкб |
± 3,5 |
По оценке ВТИ им. Ф.Э. Дзержинского, выполненной по отчету «Алгоритм автоматизированного расчета валового выброса окислов азота и серы на энергоблоках ТЭС» Авт. Рузанков В.Н. |
|
18. Предельная суммарная относительная погрешность определения содержания кислорода в дымовых газах при доверительной вероятности 0,95, не более, % |
δО2 |
± 9,5 |
Технические данные газоанализаторов ГХП-3М, МН 5106-2 |
|
19. Предельная относительная погрешность, равная максимально возможному изменению присосов в зоне установки дымомера в период между периодическими контрольными газовыми анализами, ориентировочно, % |
δDajвр |
± 15,0 |
Из опыта эксплуатации котлоагрегатов ТЭС |
|
20. Предельная относительная погрешность, равная максимальному изменению разности значений присосов между зоной установки дымомера и зоной отбора пробы к газоанализатору, не более, % |
δDajуст |
± 2,0 |
п.п. 7.8.3.2 методики |
|
21. Предельная относительная погрешность определения коэффициента Kj ориентировочно, % |
δKj |
± 10,0 |
На основании опыта эксплуатации котлоагрегатов ТЭС |
|
22. Предельная приведенная относительная погрешность, возникающая при определении расходов дымовых газов: |
δQu |
± 1,0 |
Технические данные интегратора ПВИ-4 |
|
при использовании интегратора для определения среднесуточного содержания кислорода в дымовых газах, % |
|||
|
при отсутствии интегратора, % |
δQu |
± 6,0 |
На основании опыта эксплуатации котлоагрегатов ТЭС |
Справочное
В качестве примера выполнена оценка погрешности измерения валового выброса твердых частиц на котле ПП 950/255Ж Каширской ГРЭС, сжигающем кузнецкий уголь.
Котел состоит из двух корпусов. Каждый корпус оборудован двумя электрофильтрами типа ПГД(УГ)-50-4. За каждым электрофильтром в газоходе установлен дымомер.
К моменту проведения оценки погрешности был отградуирован лишь один дымомер. Поэтому для оценки на основании эксплуатационных испытаний котлоагрегата принято, что средняя за сутки концентрация твердых частиц в каждом из 4-х газоходов котла составляет примерно 2 г/м, а средний за сутки расход дымовых газов - 0,3·106 м3/ч.
Расчет погрешности проводится в следующей последовательности:
1. Определить значение абсолютных погрешностей DNo, DNдоп, DNu и DN:

При этом
значение
= 60 % - было определено
планиметрированием диаграммной ленты за сутки, в течение которых котлоагрегат
работал по типовому графику нагрузки.
2. Определить значение абсолютных погрешностей Do, Dдоп, Dμu:

Значение коэффициент a =7,4 было определено при градуировке дымомера в единицах массовой концентрации твердых частиц в дымовых газах.
3. Определить значения относительных погрешностей σQг, σGri:

4. Определить значения относительных погрешностей δQг и δGr:

5. Определить значения абсолютных погрешностей DQг и DGr:

6. Определить значение абсолютной погрешности Dμ:

7. Определить значение систематической составляющей абсолютной погрешности DС:
.
8. Определить значение случайной составляющей абсолютной погрешности

9. Определить значения погрешностей SΣ и Dгр:

10. Определить значение погрешности DNcpj:
![]()
11. Определить значение
:
![]()
12. Определить значение относительной погрешности δajизм:

13. Определить значение коэффициента

При этом расходы дымовых газов и присосы воздуха в 4-х газоходах котла приняты одинаковыми.
14. Определить значение относительной погрешности δQδ:

15. Определить значения погрешностей DQδ, DKj и DQu:

16. Определить значение погрешности DQcp:
![]()
17. Определить значение погрешности DМji

18. Определить значение DМjiсист, исключив случайные погрешности из алгоритма расчета DМji

19. Определить значение погрешности DMj за отчетный период

в месяц
![]()
за квартал
![]()
за год
![]()
20. Определить предел суммарной абсолютной погрешности измерения валового выброса твердых частиц DМ через все газоходы котла:
за сутки
![]()
за месяц
![]()
за квартал
![]()
за год
![]()
21. Результаты расчета свести в следующую таблицу:
Таблица 6
|
Валовый выброс твердых частиц, т |
Предельные приведенные погрешности измерения валового выброса твердых частиц |
|||||
|
через один газоход котла |
через все газоходы котла |
через один газоход котла |
через все газоходы котла |
|||
|
абсолютные, т |
относительные, % |
абсолютные, т |
относительные, % |
|||
|
Сутки |
14,4 |
57,6 |
11,5 |
80 |
23,0 |
40 |
|
Месяц |
432 |
1728 |
239 |
55,3 |
478 |
27,6 |
|
Квартал |
1325 |
5300 |
722 |
54,5 |
1444 |
27,2 |
|
Год |
5256 |
21024 |
2852 |
54,3 |
5704 |
27,1 |
СОДЕРЖАНИЕ