Скачать ОСТ 108.321.20-82 Отводы гнутые для паропроводов ТЭС. Конструкция и размерыДата актуализации: 01.01.2021
|
| Обозначение: | ОСТ 108.321.20-82 |
| Обозначение англ: | OST 108.321.20-82 |
| Статус: | заменен |
| Название рус.: | Отводы гнутые для паропроводов ТЭС. Конструкция и размеры |
| Дата добавления в базу: | 01.09.2013 |
| Дата актуализации: | 01.01.2021 |
| Дата введения: | 01.01.1985 |
| Дата окончания срока действия: | 01.05.2010 |
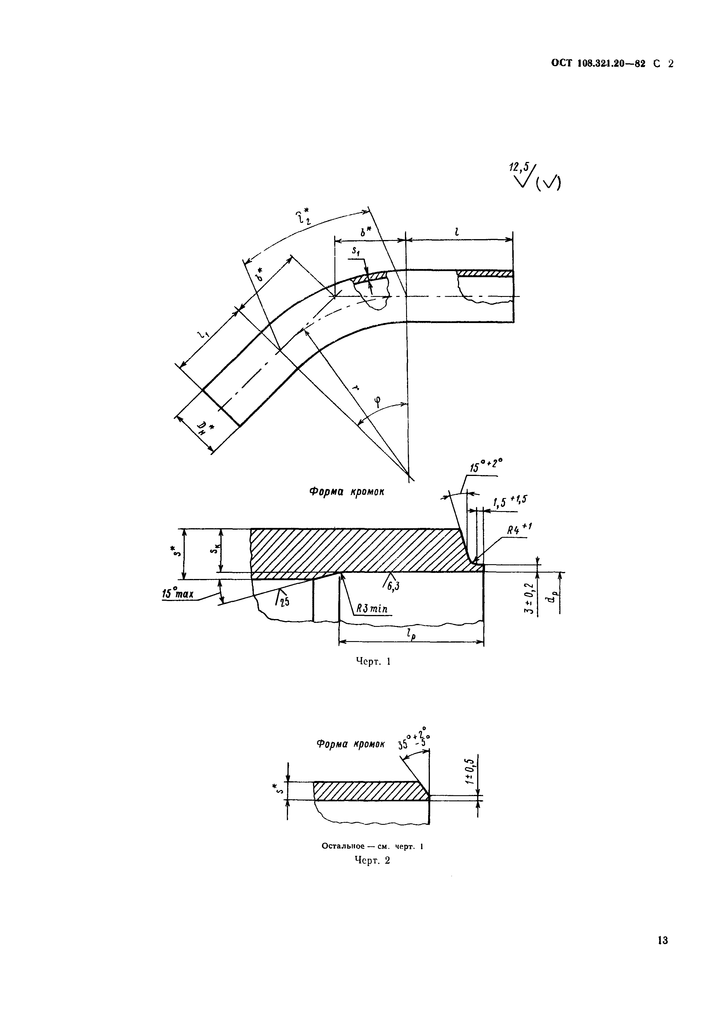
| Область применения: | Стандарт распространяется на гнутые отводы с углами гиба 15, 30, 45, 60 и 90°, изготовляемые из труб по ОСТ 108.320.103, для паропроводов тепловых электростанций. Стандарт устанавливает конструкцию и основные размеры гнутых отводов для паропроводов с абсолютным давлением и температурой пара: p=13,73 МПа (140 кгс/см2), t= 515° C; p=13,73 МПа (140 кгс/см2), t= 545° C; p=13,73 МПа (140 кгс/см2), t= 560° C. |
| Утверждён: | 04.06.1982 Министерство энергетического машиностроения (Ministry of Energy Machinery Manufacturing ВВ-002/4628) |
| Принят: | Министерство энергетики и электрификации СССР (USSR Ministry of Energy and Electrical Power ) |
| Издан: | НПО ЦКТИ (1993 г. ) |
| Список изменений: |
|
| Заменяет собой: | |
| Нормативные ссылки: |
|











Текстовое изменение № от 15.02.1994


