Скачать ОСТ 108.462.15-82 Патрубки блоков с соплами для паропроводов ТЭС. Конструкция и размерыДата актуализации: 01.01.2021
|
| Обозначение: | ОСТ 108.462.15-82 |
| Обозначение англ: | OST 108.462.15-82 |
| Статус: | не действует |
| Название рус.: | Патрубки блоков с соплами для паропроводов ТЭС. Конструкция и размеры |
| Дата добавления в базу: | 01.09.2013 |
| Дата актуализации: | 01.01.2021 |
| Дата введения: | 01.01.1985 |
| Дата окончания срока действия: | 01.05.2010 |
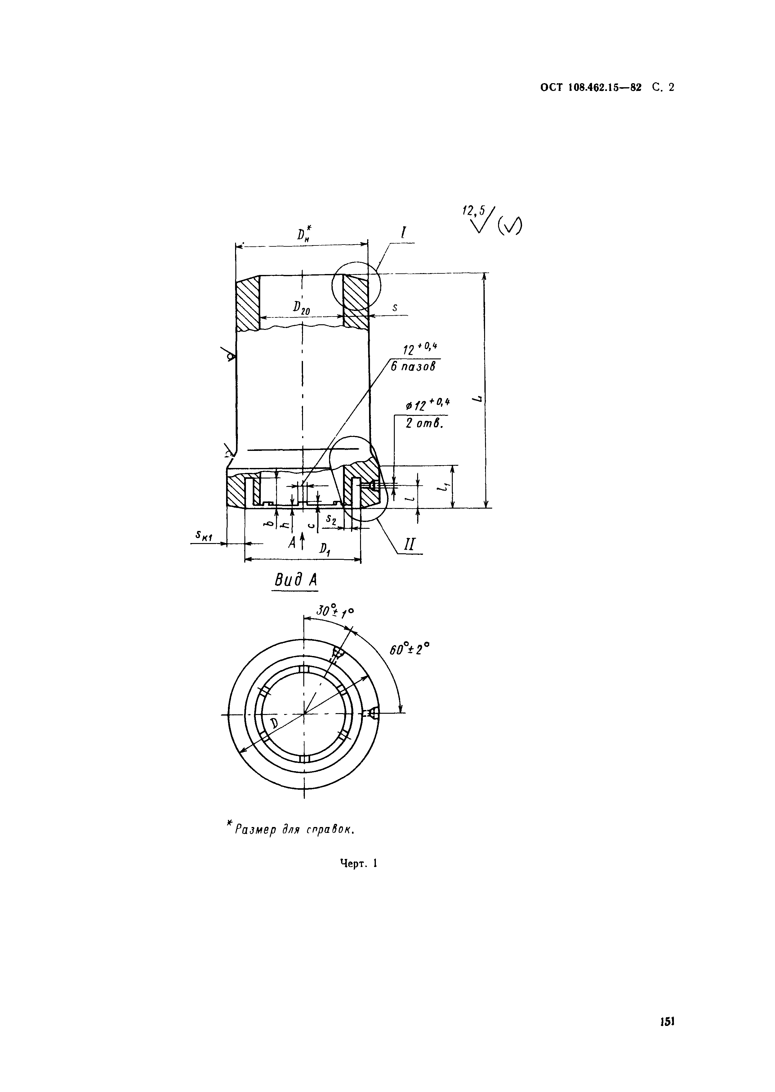
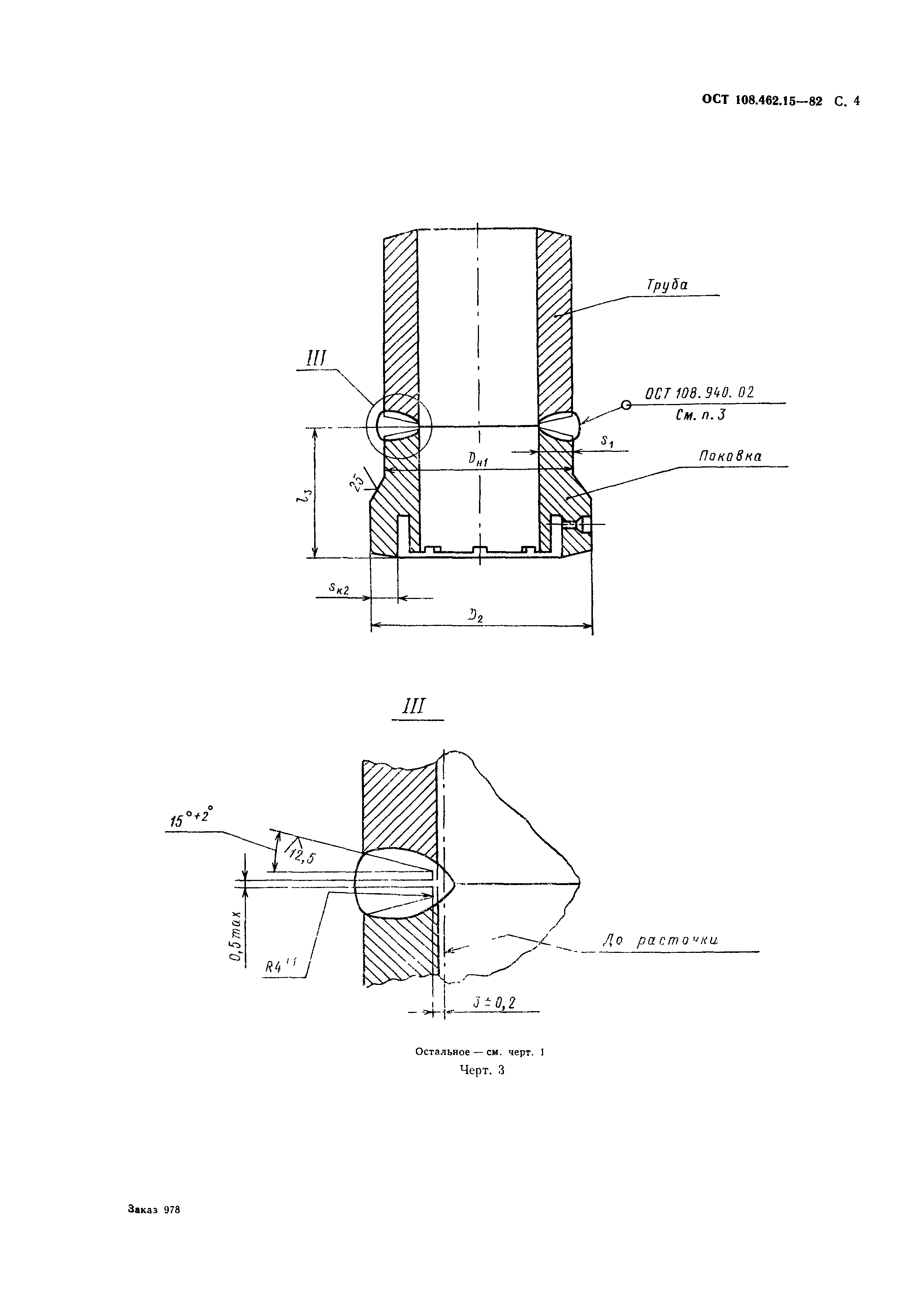
| Область применения: | Стандарт распространяется на патрубки блоков с соплами, устанавливаемых на паропроводах тепловых электростанций с номинальным давлением и температурой пара: р=13,73 МПа (140 кгс/см2) и температурой t=560° C; р=13,73 МПа (140 кгс/см2) и температурой t=545° C. |
| Утверждён: | 04.06.1982 Министерство энергетического машиностроения (Ministry of Energy Machinery Manufacturing ВВ-002/4628) |
| Принят: | Министерство энергетики и электрификации СССР (USSR Ministry of Energy and Electrical Power ) |
| Издан: | НПО ЦКТИ (1993 г. ) |
| Список изменений: | |
| Заменяет собой: |
|
| Нормативные ссылки: |
|











Текстовое изменение № от 15.02.1994


