Скачать ОСТ 108.318.13-82 Переходы для трубопроводов ТЭС. Конструкция и размерыДата актуализации: 01.01.2021
|
| Обозначение: | ОСТ 108.318.13-82 |
| Обозначение англ: | OST 108.318.13-82 |
| Статус: | заменен |
| Название рус.: | Переходы для трубопроводов ТЭС. Конструкция и размеры |
| Дата добавления в базу: | 01.09.2013 |
| Дата актуализации: | 01.01.2021 |
| Дата введения: | 01.01.1985 |
| Дата окончания срока действия: | 01.05.2010 |
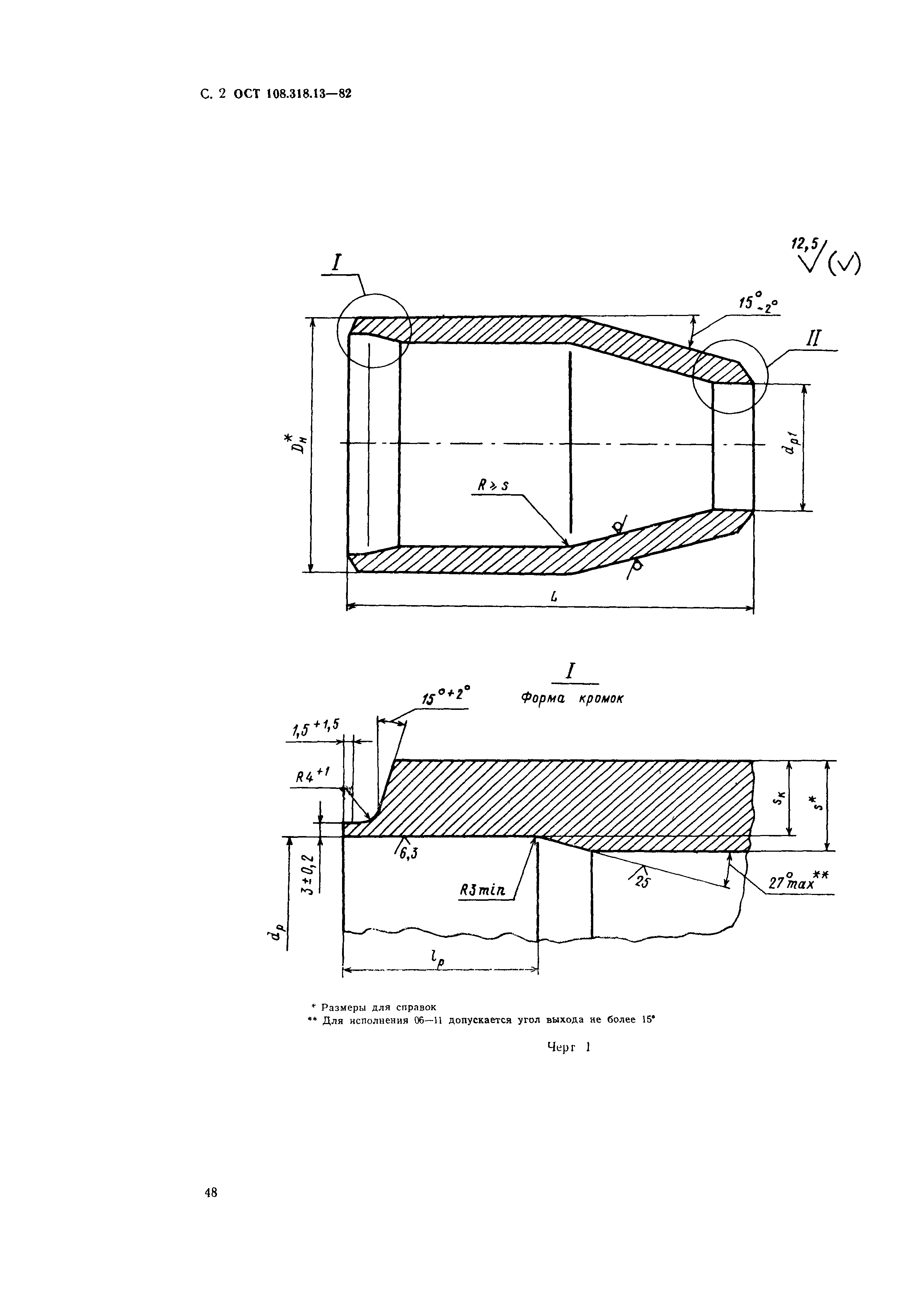
| Область применения: | Стандарт распространяется на обжатые переходы, изготовляемые из труб стали марки 15ГС по ТУ 14-3-460, для трубопроводов питательной воды тепловых электростанций. Стандарт устанавливает конструкцию и основные размеры обжатых переходов для трубопроводов с абсолютным давлением и температурой воды: p=23,54 МПа (240 кгс/см2), t=250° C; p=18,14 МПа (185 кгс/см2), t=215° C. |
| Утверждён: | 04.06.1982 Министерство энергетического машиностроения (Ministry of Energy Machinery Manufacturing ВВ-002/4628) |
| Принят: | Министерство энергетики и электрификации СССР (USSR Ministry of Energy and Electrical Power ) |
| Издан: | НПО ЦКТИ (1993 г. ) |
| Список изменений: | |
| Нормативные ссылки: |
|










Текстовое изменение № от 15.02.1994



Текстовое изменение № 1 от 01.01.1984