Скачать Правила закладки центров и реперов на пунктах геодезической и нивелирной сетейДата актуализации: 01.01.2021 |
| Статус: | утратил силу |
| Название рус.: | Правила закладки центров и реперов на пунктах геодезической и нивелирной сетей |
| Дата добавления в базу: | 01.09.2013 |
| Дата актуализации: | 01.01.2021 |
| Дата введения: | 01.01.1992 |
| Дата окончания срока действия: | 01.01.2018 |
| Область применения: | Изложены требования по закладке геодезических центров и реперов. Приведены типы центров и реперов для различных географических районов, в том числе и для населенных пунктов. Для специалистов предприятий, организаций и учреждений, занимающихся построением геодезических сетей на территории России, а также могут быть рекомендованы для стран СНГ, Прибалтики и Грузии. |
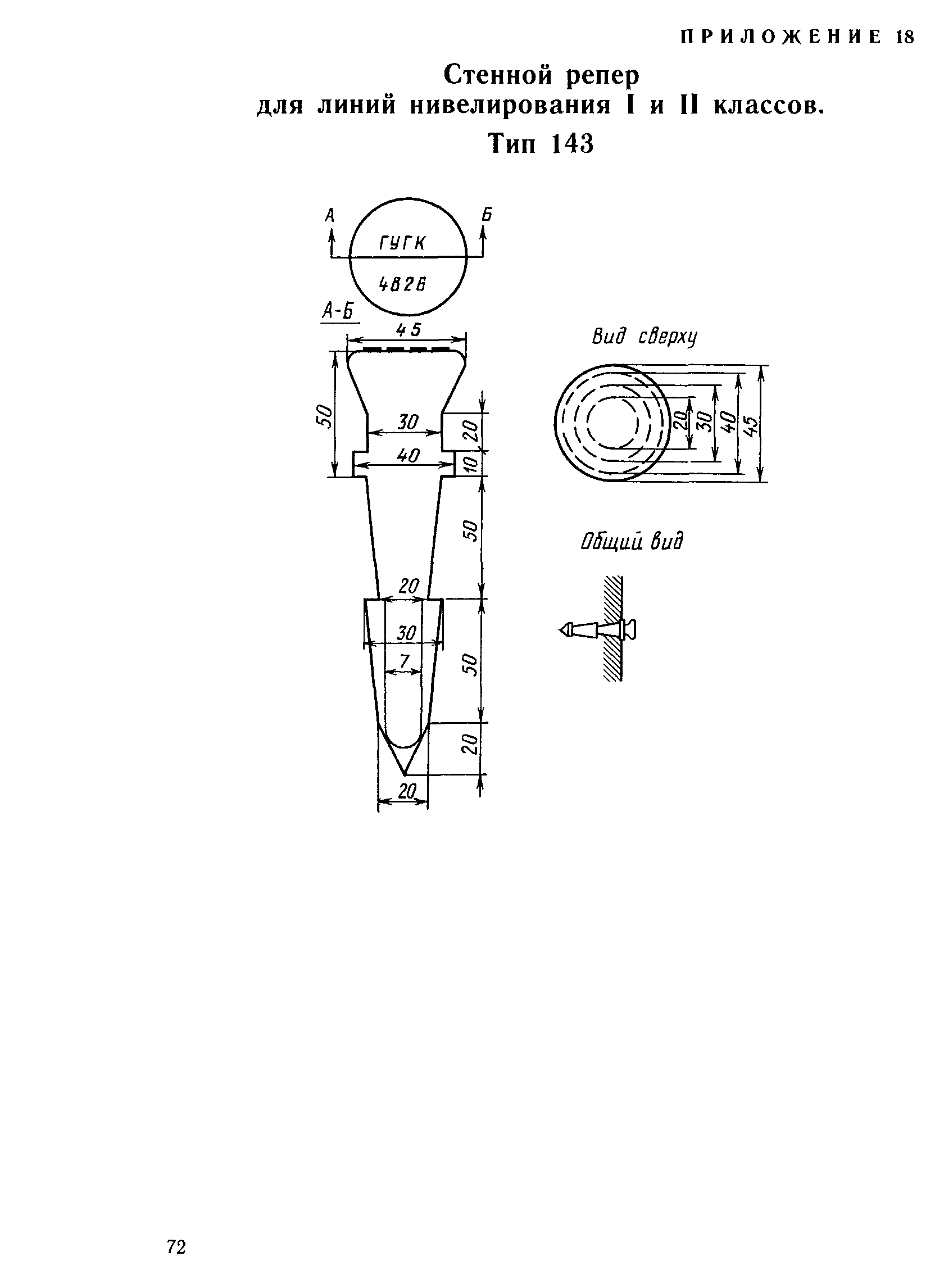
| Оглавление: | 1 Введение 2 Общая часть 3 Определение глубин промерзания и протаивания грунтов 4 Выбор места закладки центров и реперов в зависимости от физико-географических и климатических условий 5 Изготовление центров и реперов 6 Установка центров и реперов в грунте 7 Геодезические центры для области промерзания грунтов 8 Типы и конструкции нивелирных реперов, их закладка 9 Типы центров и реперов для области многолетней мерзлоты 10 Типы центров и реперов дляподвижных песков и заболоченных территорий 11 Закрепление образцовых базисов 0, 1, 2, 3 и 4 разрядов 12 Центры ориентирных пунктов 13 Астрономические столбы 14 Типы опознавательных столбов и знаков 15 Внешнее оформление геодезических пунктов, нивелирных реперов и базисных центров 16 Указатель разделов "Правил …" по видам работ, районам применения и типам центров Приложения |
| Разработан: | ЦНИИГАиК |
| Утверждён: | 14.01.1991 ГУГК СССР (6п) |
| Издан: | Федеральная служба геодезии и картографии России (1993 г. ) |
| Заменяет собой: |
|
| Нормативные ссылки: |








































































































