Скачать Серия 2.110-4в Выпуск 3. Свайные фундаменты кирпичных, крупноблочных и крупнопанельных зданийДата актуализации: 01.01.2021
|
| Обозначение: | Серия 2.110-4в |
| Обозначение англ: | Series 2.110-4в |
| Статус: | действует |
| Название рус.: | Выпуск 3. Свайные фундаменты кирпичных, крупноблочных и крупнопанельных зданий |
| Дата добавления в базу: | 01.09.2013 |
| Дата актуализации: | 01.01.2021 |
| Дата введения: | 15.11.1972 |
| Область применения: | В настоящем альбоме приведены конструктивные решения свайных фундаментов зданий с подвалами (техподпольями) кирпичных, крупноблочных и крупнопанельных жилых зданий высотой до 9 этажей включительно |
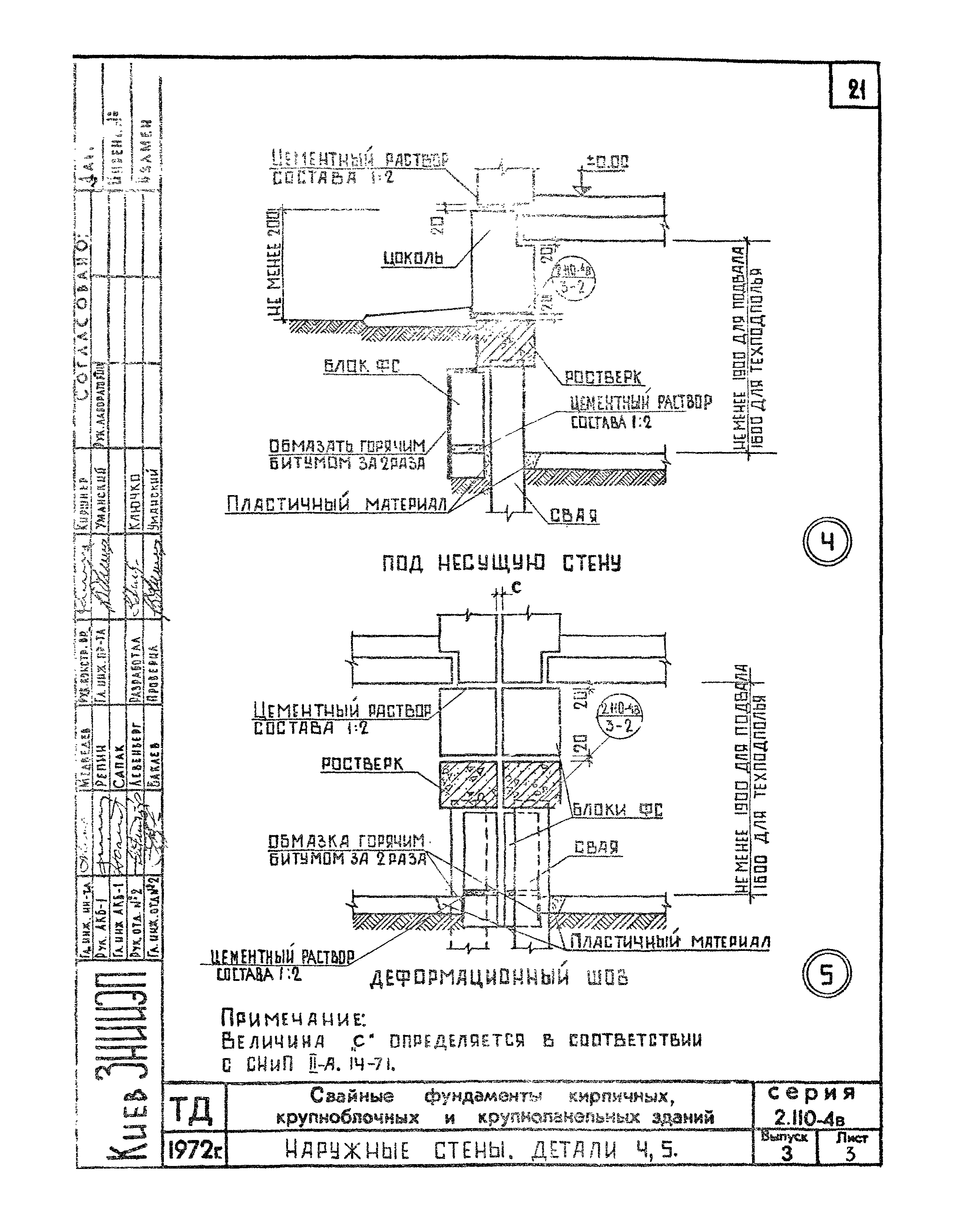
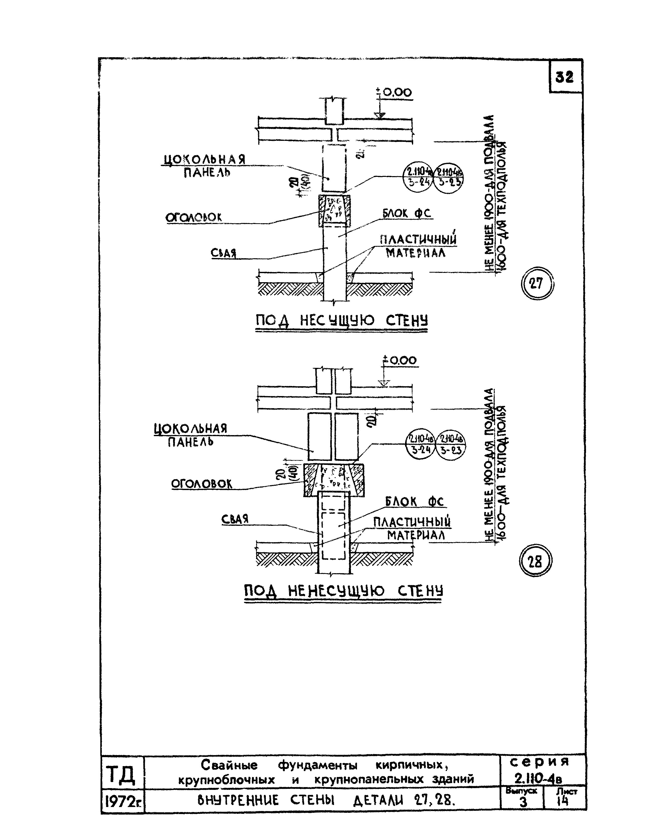
| Оглавление: | Содержание выпуска Пояснительная записка Свайные фундаменты кирпичных и крупноблочных зданий Маркировка деталей Схемы сопряжения голов свай с ростверком. Детали 1, 2, 3 Наружные стены. Детали 4, 5 Внутренние стены. Детали 6, 7 Стены лестничной клетки. Детали 8, 9 Наружные стены. Детали 10, 11 Внутренние стены. Детали 12, 13 Стены лестничной клетки. Детали 14, 15 Монолитный ростверк. Детали 16, 17, 18, 19, 20 Монолитный ростверк. Детали 21, 22 Свайные фундаменты крупнопанельных зданий Маркировка деталей Схемы сопряжения голов свай со сборным ростверком. Детали 23, 24 Наружные стены. Детали 25, 26 Внутренние стены. Детали 27, 28 Стены лестничной клетки. Детали 29, 30 Узлы сопряжений балок ростверка Деталь 31 Деталь 32 Деталь 33 Деталь 34 Деталь 35 Деталь 36 Деталь 37 Деталь 38 Деталь 39 Деталь 40 Устройство входа Детали 41, 42 Детали 43, 44 Деформационный шов |
| Разработан: | КиевЗНИИЭП |
| Утверждён: | 29.08.1972 Госстрой СССР (Государственный комитет Совета Министров СССР по делам строительства) (USSR Gosstroy 160) |
| Нормативные ссылки: |
|












































