Скачать Серия 1.232.1-7 Выпуск 3-1. Монтажные узлы стен каркасных многоэтажных зданий из трехслойных панелей на жестких связях. Изделия соединительные стальные. Рабочие чертежиДата актуализации: 01.01.2021 Серия 1.232.1-7
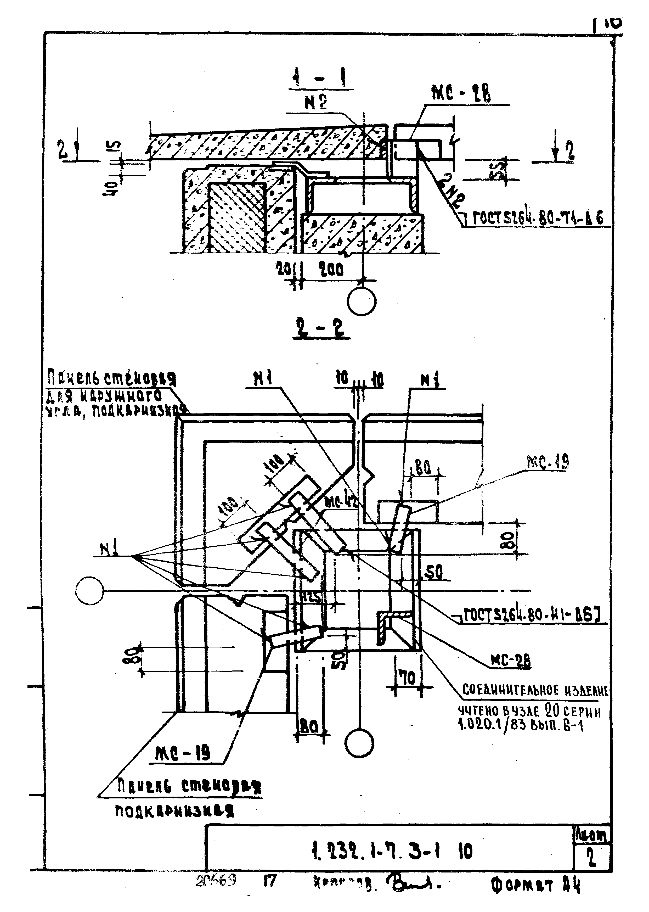
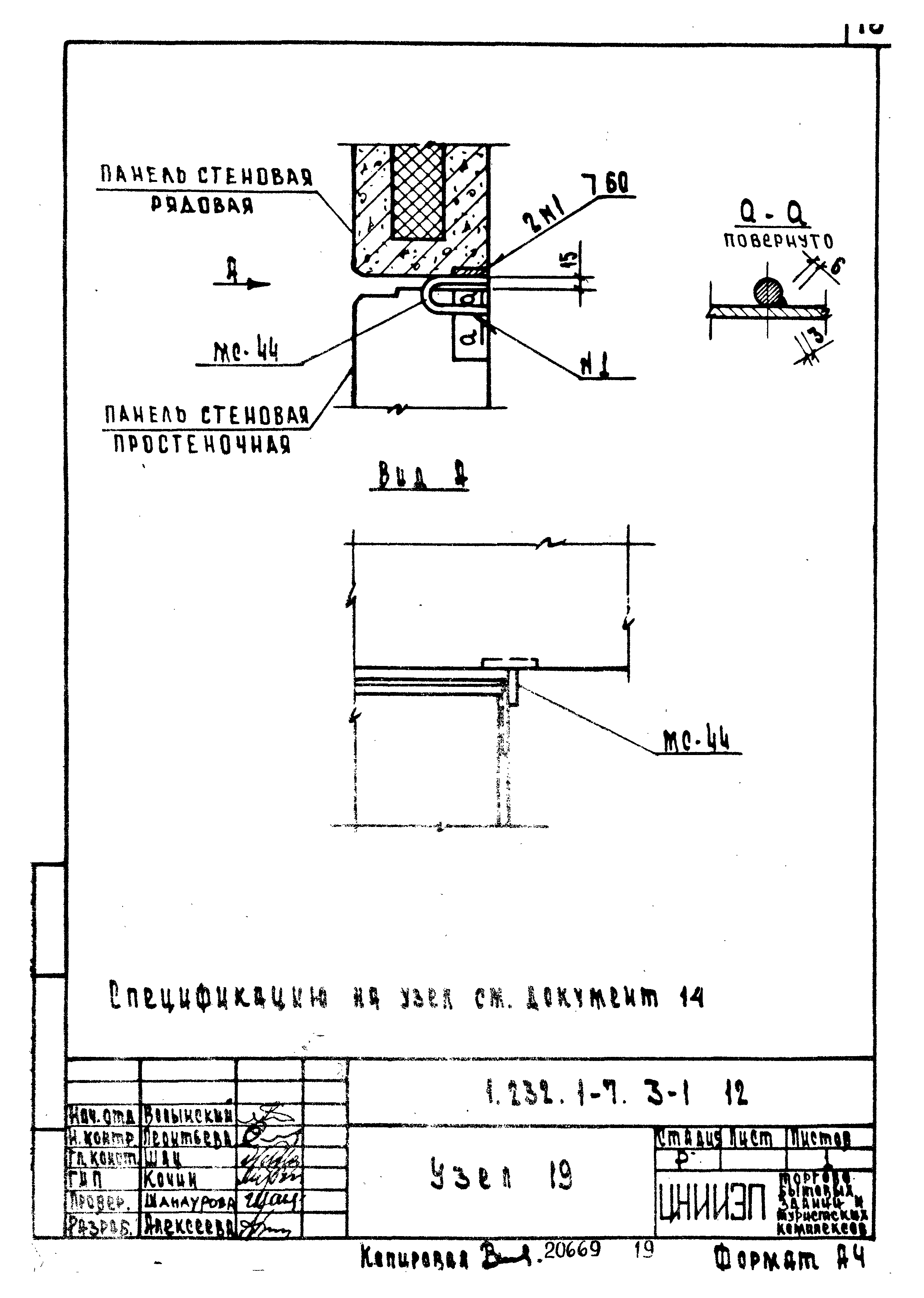
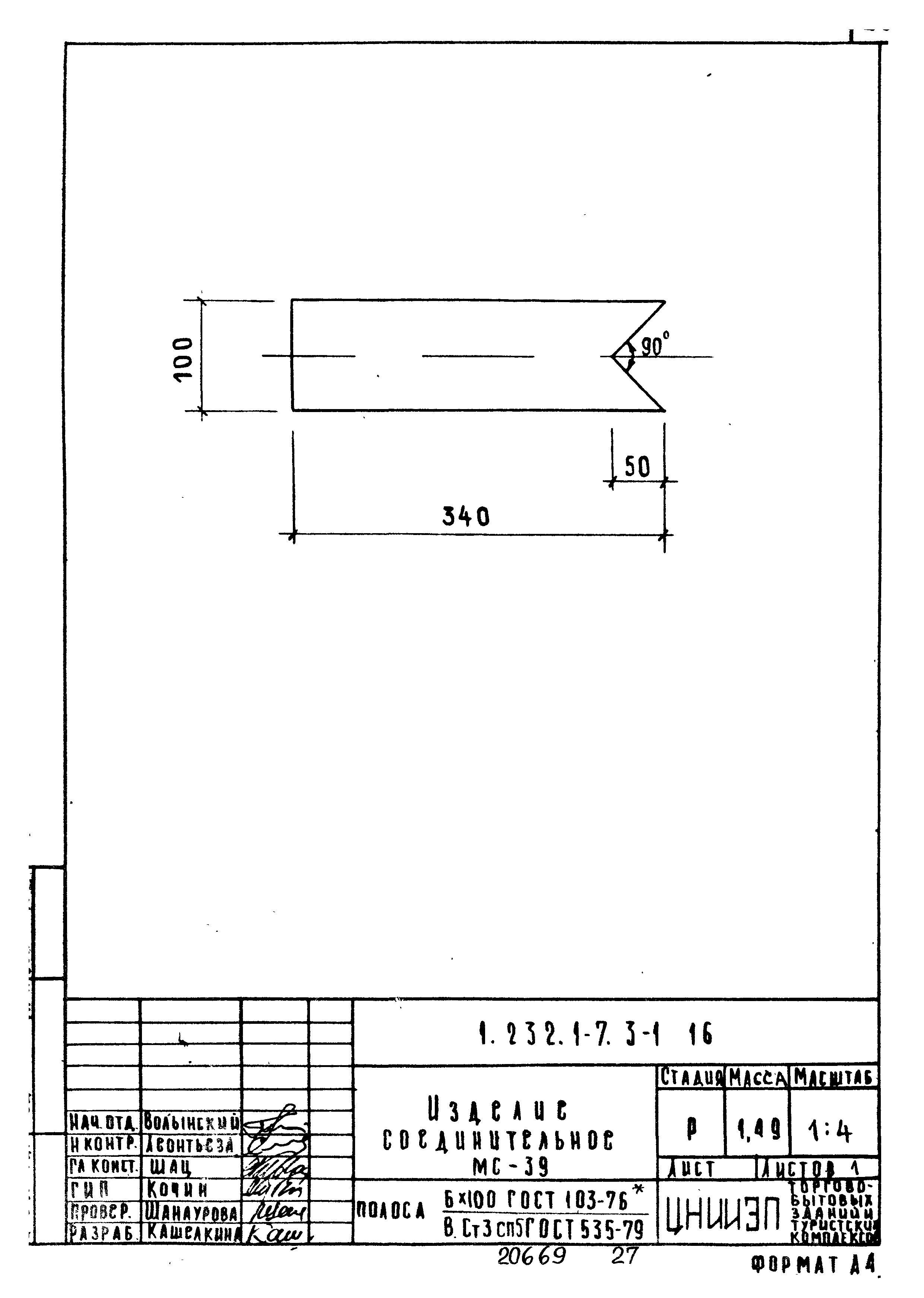
Выпуск 3-1. Монтажные узлы стен каркасных многоэтажных зданий из трехслойных панелей на жестких связях. Изделия соединительные стальные. Рабочие чертежи| Обозначение: | Серия 1.232.1-7 | | Обозначение англ: | Series 1.232.1-7 | | Статус: | действует | | Название рус.: | Выпуск 3-1. Монтажные узлы стен каркасных многоэтажных зданий из трехслойных панелей на жестких связях. Изделия соединительные стальные. Рабочие чертежи | | Дата добавления в базу: | 01.09.2013 | | Дата актуализации: | 01.01.2021 | | Дата введения: | 01.09.1985 | | Область применения: | Выпуск 3-1 содержит монтажные узлы наружных и внутренних углов стен и простеночных панелей многоэтажных каркасных зданий, выполняемых из трехслойных стеновых панелей с жесткими связями | | Разработан: | ЦНИИЭП торгово-бытовых зданий и туристских комплексов
| | Утверждён: | 17.07.1985 Госгражданстрой (Gosgrazhdanstroy 209)
| | Нормативные ссылки: | |
                           
|