Скачать Серия 1.400-6/76 Выпуск 1. Закладные детали конструкций одноэтажных зданий. Рабочие чертежиДата актуализации: 01.01.2021
|
| Обозначение: | Серия 1.400-6/76 |
| Обозначение англ: | Series 1.400-6/76 |
| Статус: | не действует |
| Название рус.: | Выпуск 1. Закладные детали конструкций одноэтажных зданий. Рабочие чертежи |
| Дата добавления в базу: | 01.09.2013 |
| Дата актуализации: | 01.01.2021 |
| Дата введения: | 01.03.1979 |
| Дата окончания срока действия: | 01.01.1994 |
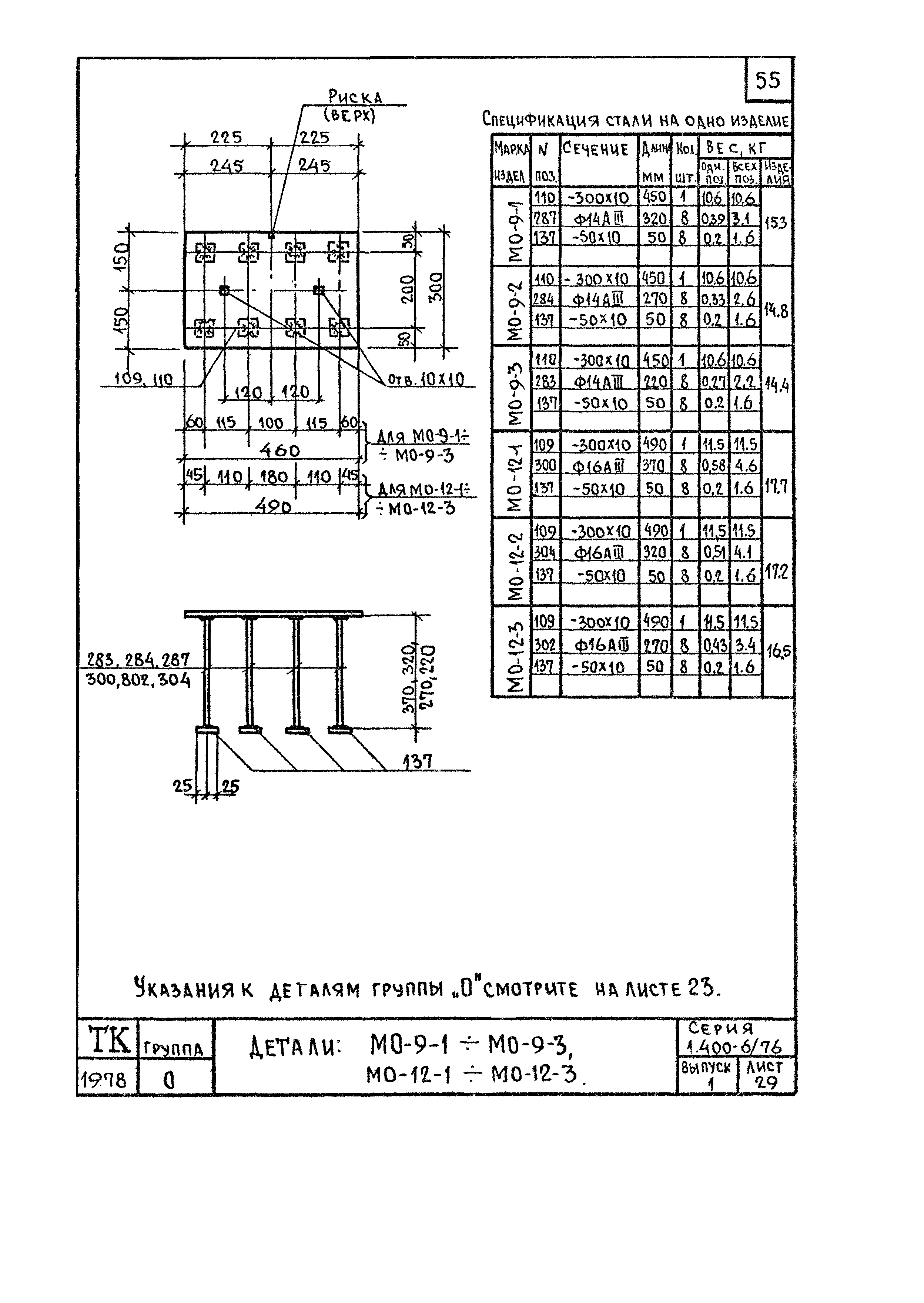
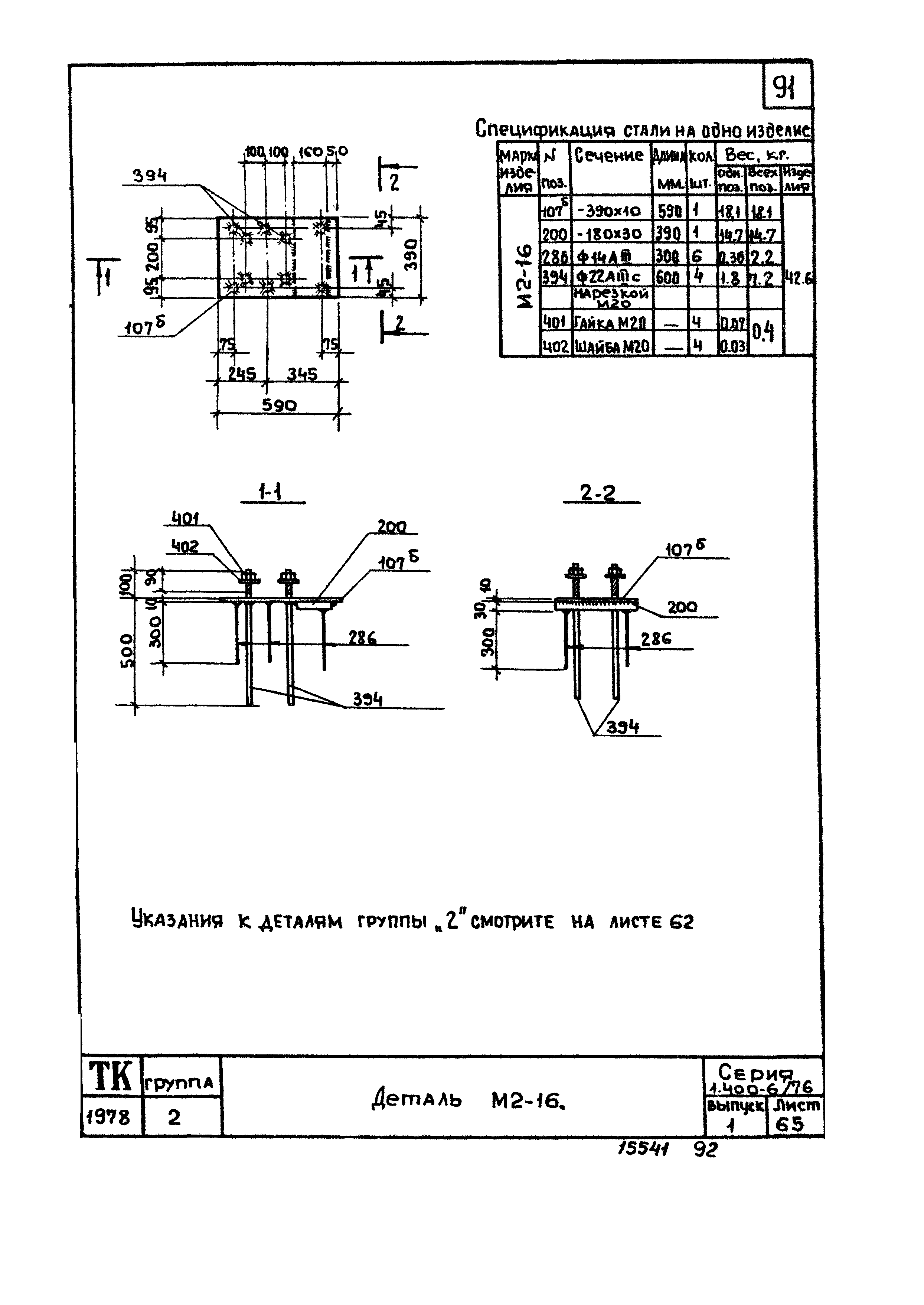
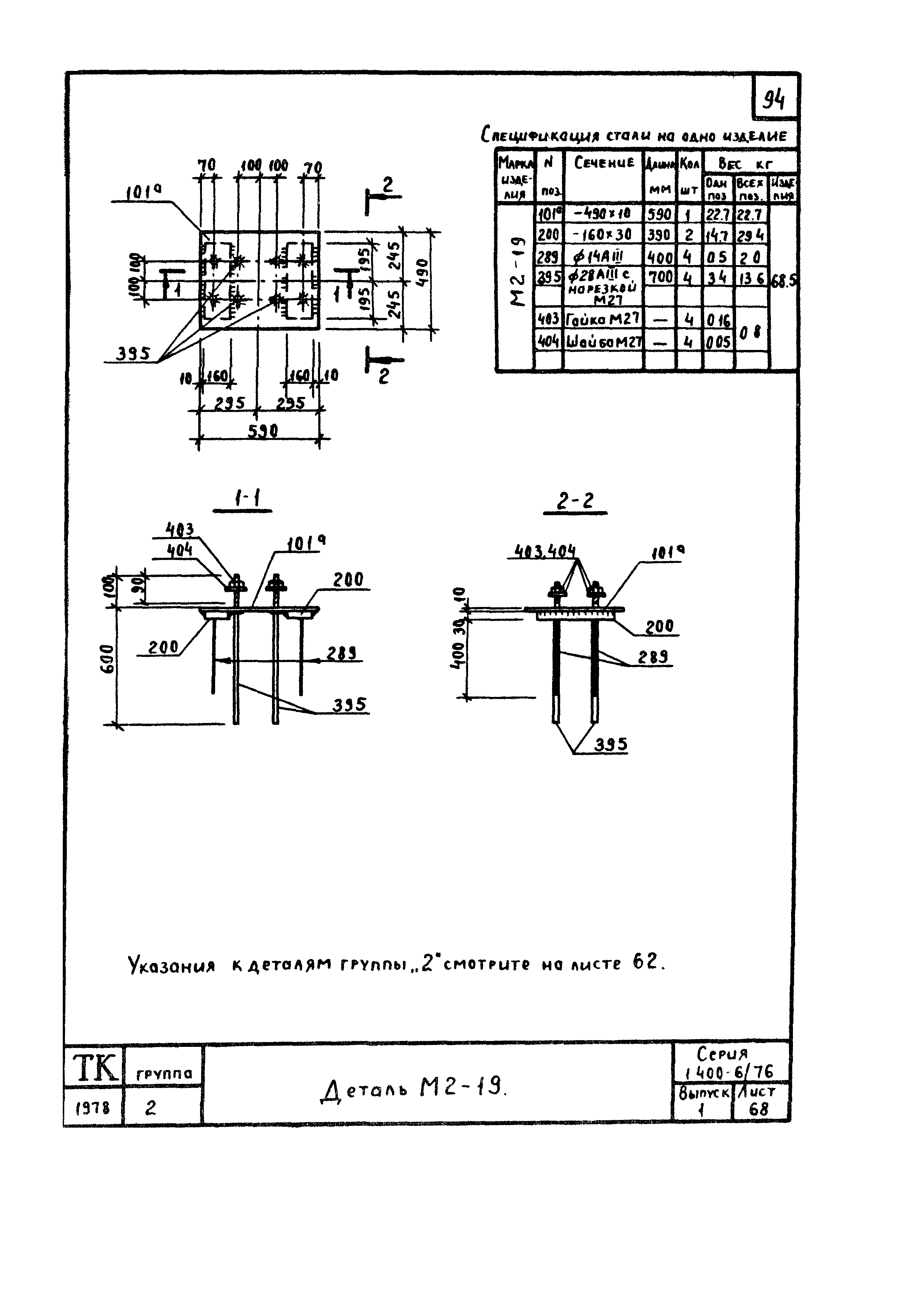
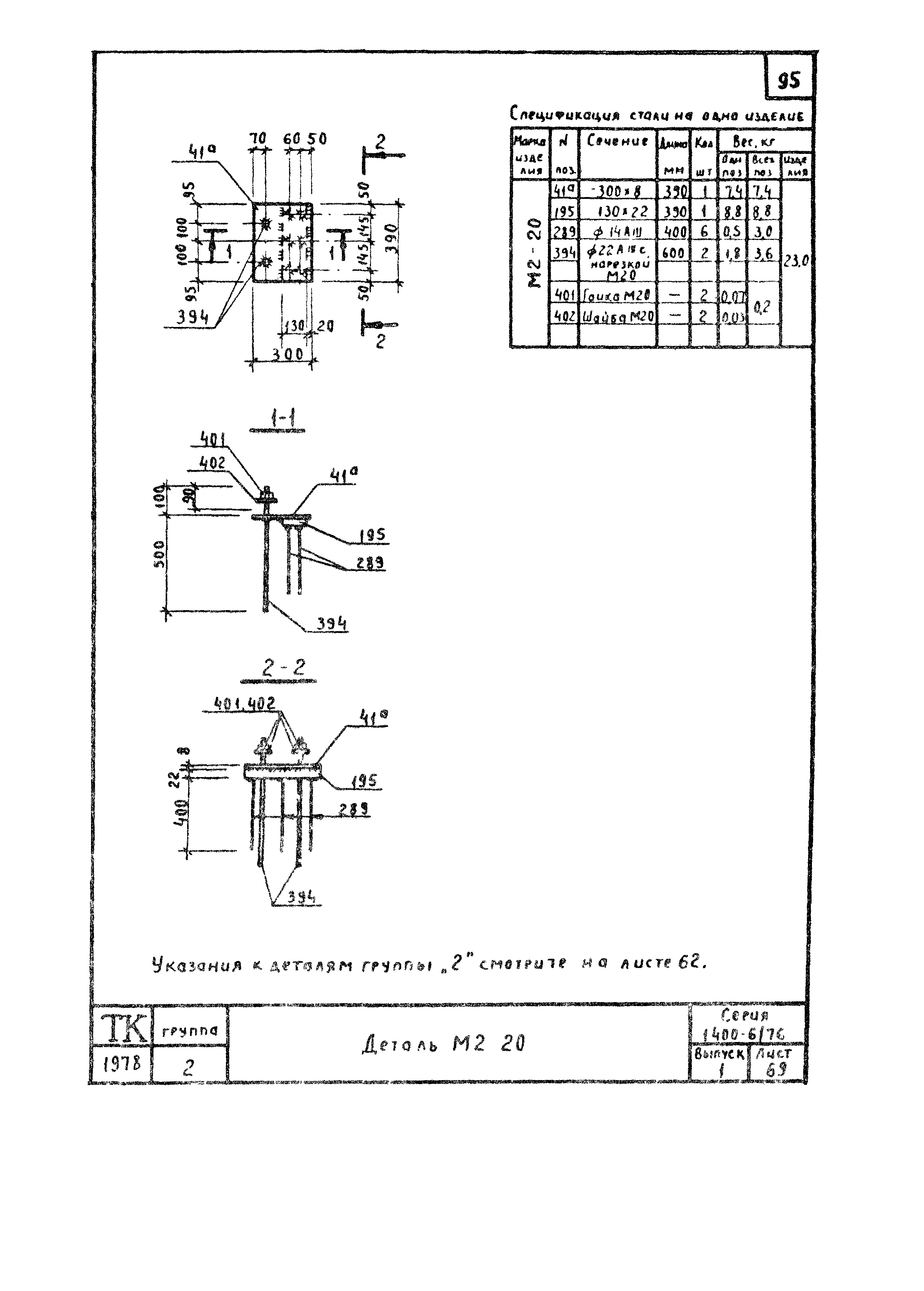
| Оглавление: | 1.400-6/76 Пояснительная записка 1.400-6/76 0-8 Таблица 6. Номенклатура унифицированных закладных деталей 1.400-6/76 0 Таблица 7. Несущая способность закладных деталей группы "0" в зависимости от эксцентриситета, марки бетона и класса стали анкеров 1.400-6/76 0 Таблица 8. Ключ для подбора закладных деталей группы "0" 1.400-6/76 0 Таблица 9. Конструктивные характеристики закладных деталей группы "0" 1.400-6/76 0 Детали МО-1, МО-1-5, МО-2, МО-2-5, МО-3 1.400-6/76 0 Детали МО-1-1, МО-1-4, МО-1-6, МО-1-7 1.400-6/76 0 Детали МО-2-1 - МО-2-4, МО-2-6, МО-3-1 - МО-3-3 1.400-6/76 0 Детали МО-4 - МО-9, МО-12 1.400-6/76 0 Детали МО-4-1 - МО-4-4, МО-5-1 - МО-5-4 1.400-6/76 0 Детали МО-6-1 - МО-6-3, МО-7-1 - МО-7-3, МО-8-1 - МО-8-3 1.400-6/76 0 Детали МО-9-1 - МО-9-3, МО-12-1 - МО-12-3 1.400-6/76 0 Детали МО-10, МО-11, МО-13, МО-14 1.400-6/76 0 Детали МО-10-1 - МО-10-3, МО-11-1 - МО-11-3 1.400-6/76 0 Детали МО-13-1 - МО-13-3, МО-14-1 - МО-14-3 1.400-6/76 0 Детали МО-15-1 - МО-15-3, МО-16-1 - МО-16-5 1.400-6/76 0 Детали МО-17, МО-19, МО-20 1.400-6/76 1 Узлы крепления опорных консолей под стеновые панели к закладным деталям колонн 1.400-6/76 1 Таблица 10. Ключ для подбора опорных консолей под стеновые панели и закладных деталей для крепления опорных консолей 1.400-6/76 1 Таблица 11. Несущая способность и конструктивные характеристики закладных деталей группы "1" 1.400-6/76 1 Детали М1-1-1, М1-2-1, М1-3-1, М1-5-1 1.400-6/76 1 Детали М1-1-2, М1-1-5, М1-1-7 - М1-1-10 1.400-6/76 1 Детали М1-1-6, М1-4-1, М1-4-6, М1-6-1. М1-6-6 1.400-6/76 1 Детали М1-2-2, М1-2-5, М1-3-2 - М1-3-5 1.400-6/76 1 Детали М1-4-2 - М1-4-5, М1-4-7 - М1-4-10 1.400-6/76 1 Детали М1-5-2 - М1-5-5 1.400-6/76 1 Детали М1-6-2 - М1-6-5, М1-6-7 - М1-6-10 1.400-6/76 1 Детали М1-7-1, М1-7-6, М1-10-1 1.400-6/76 1 Детали М1-7-2 -М1-7-5 1.400-6/76 1 Детали М1-7-7 - М1-7-10 1.400-6/76 1 Детали М1-8-1, М1-8-6, М1-9-1, М1-9-6, М1-11-1, М1-11-6 1.400-6/76 1 Детали М1-8-2 - М1-8-5, М1-8-7 - М1-8-10 1.400-6/76 1 Детали М1-9-2 - М1-9-5, М1-9-7 - М1-9-10 1.400-6/76 1 Детали М1-10-2 - М1-10-5 1.400-6/76 1 Детали М1-11-2 - М1-11-5, М1-11-7 - М1-11-10 1.400-6/76 1 Детали М1-12, М1-12-1, М1-12-2, М1-13 - М1-16 1.400-6/76 2 Таблица 12 для подбора в колоннах унифицированных закладных деталей для крепления стропильных и подстропильных конструкций 1.400-6/76 2 Схема опирания железобетонных стропильных конструкций на колонны 1.400-6/76 2 Схемы опирания стропильных конструкций на подстропильные. Таблица 13 для подбора и ключ для замены закладных деталей в подстропильных конструкциях 1.400-6/76 2 Детали М2-1 - М2-5, М2-2-1, М2-32 1.400-6/76 2 Детали М2-6, М2-7, М2-15, М2-33 1.400-6/76 2 Детали М2-8, М2-8-1, М2-9, М2-14 1.400-6/76 2 Детали М2-10, М2-11, М2-31 1.400-6/76 2 Деталь М2-12 1.400-6/76 2 Детали М2-13, М2-13-1, М2-27 1.400-6/76 2 Детали М2-13-2, М2-23 1.400-6/76 2 Деталь М2-16 1.400-6/76 2 Деталь М2-17 1.400-6/76 2 Детали М2-18, М2-21 1.400-6/76 2 Деталь М2-19 1.400-6/76 2 Деталь М2-20 1.400-6/76 2 Детали М2-22, М2-24 1.400-6/76 2 Детали М2-25, М2-25-1, М2-26, М2-26-1 1.400-6/76 2 Детали М2-28, М2-29, М2-30 1.400-6/76 3 Таблица 14 для подбора опорных закладных деталей в стропильных и подстропильных конструкциях 1.400-6/76 3 Таблица 15 Ключ для замены опорных закладных деталей в стропильных и подстропильных конструкциях на унифицированные закладные детали 1.400-6/76 3 Детали М3-1, М3-5, М3-7, М3-8, М3-8-1 - М3-8-3, М3-11, М3-11-1 1.400-6/76 3 Детали М3-2 - М3-4, М3-6, М3-15 1.400-6/76 3 Детали М3-9, М3-10, М3-20, М3-22, М3-22-1, М3-23, М3-23-1 1.400-6/76 3 Детали М3-12 - М3-14, М3-14-1, М3-16, М3-19, М3-21 1.400-6/76 3 Детали М3-17, М3-17-1, М3-18, М3-18-1 1.400-6/76 4 Таблица 16 для подбора унифицированных закладных деталей в стропильных и подстропильных конструкциях 1.400-6/76 4 Таблица 17. Ключ для замены закладных деталей в стропильных и подстропильных конструкциях на унифицированные закладные детали 1.400-6/76 4 Детали М4-1,М4-1-1 - М4-1-5, М4-2, М4-5, М4-5-1, М4-16, М4-17 1.400-6/76 4 Детали М4-3, М4-3-1 - М4-3-5, М4-4, М4-4-1, М4-6, М4-6-1, М4-37 1.400-6/76 4 Детали М4-7, М4-7-1,М4-7-2, М4-8, М4-8-1, М4-8-2, М4-9, М4-9-1 1.400-6/76 4 Детали М4-7-3, М4-8-3 1.400-6/76 4 Детали М4-10, М4-10-1 - М4-10-5, М4-22, М4-22-1 - М4-22-3 1.400-6/76 4 Детали М4-11, М4-11-1, М4-12, М4-13, М4-24 1.400-6/76 4 Детали М4-14, М4-15, М4-26, М4-26-1, М4-29, М4-29-1, М4-36, М4-38 1.400-6/76 4 Детали М4-18, М4-19, М4-27, М4-28 1.400-6/76 4 Детали М4-20, М4-20-1, М4-20-2, М4-21, М4-21-1, М4-23, М4-23-1 1.400-6/76 4 Детали М4-25, М4-25-1, М4-30, М4-31 1.400-6/76 4 Детали М4-32, М4-33, М4-34, М4-35 1.400-6/76 6 Схемы расположения в подкрановых балках закладных деталей для крепления к колоннам 1.400-6/76 6 Детали М6-1, М6-1-1 1.400-6/76 6 Детали М6-2, М6-3 1.400-6/76 6 Детали М6-4, М6-5 1.400-6/76 6 Детали МС-1, МС-2 1.400-6/76 7 Схемы опирания железобетонных подкрановых балок на колонны при шаге колонн 6 и 12м 1.400-6/76 7 Таблица 18 для подбора и ключ для замены в типовых колоннах закладных деталей для крепления железобетонных подкрановых балок 1.400-6/76 7 Материалы для подбора и ключ для замены в типовых колоннах закладных деталей для крепления стальных подкрановых балок. Таблица 19 1.400-6/76 7 Детали М7-1 - М7-4, М7-3-1, М7-4-1 1.400-6/76 7 Детали М7-5, М7-6 1.400-6/76 8 Таблица 20 для подбора унифицированных закладных деталей в плитах покрытий 1.400-6/76 8 Таблица 21. ключ для замены закладных деталей в плитах покрытия на унифицированные закладные детали 1.400-6/76 8 Детали М8-1 - М8-4, М8-1-1, М8-11 - М8-13 1.400-6/76 8 Детали М8-5 - М8-9, М8-7-1, М8-8-1, М8-8-2 1.400-6/76 8 Детали М8-10, М8-14 1.400-6/76 8 Таблица 22. Унифицированные пластины закладных деталей 1.400-6/76 8 Унифицированные пластины с отверстиями 1.400-6/76 8 Таблица 23. Унифицированные прямые анкеры закладных деталей 1.400-6/76 8 Таблица 24. Унифицированные гнутые анкеры закладных деталей 1.400-6/76 8 Таблица 25. Унифицированные элементы фасонного проката 1.400-6/76 8 Таблица 26 и 27. Унифицированные стержни с нарезкой. Гайки и шайбы 1.400-6/76 Пояснительная записка 1.400-6/76 0-8 Таблица 6. Номенклатура унифицированных закладных деталей 1.400-6/76 0 Таблица 7. Несущая способность закладных деталей группы "0" в зависимости от эксцентриситета, марки бетона и класса стали анкеров 1.400-6/76 0 Таблица 8. Ключ для подбора закладных деталей группы "0" 1.400-6/76 0 Таблица 9. Конструктивные характеристики закладных деталей группы "0" 1.400-6/76 0 Детали МО-1, МО-1-5, МО-2, МО-2-5, МО-3 1.400-6/76 0 Детали МО-1-1, МО-1-4, МО-1-6, МО-1-7 1.400-6/76 0 Детали МО-2-1 - МО-2-4, МО-2-6, МО-3-1 - МО-3-3 1.400-6/76 0 Детали МО-4 - МО-9, МО-12 1.400-6/76 0 Детали МО-4-1 - МО-4-4, МО-5-1 - МО-5-4 1.400-6/76 0 Детали МО-6-1 - МО-6-3, МО-7-1 - МО-7-3, МО-8-1 - МО-8-3 1.400-6/76 0 Детали МО-9-1 - МО-9-3, МО-12-1 - МО-12-3 1.400-6/76 0 Детали МО-10, МО-11, МО-13, МО-14 1.400-6/76 0 Детали МО-10-1 - МО-10-3, МО-11-1 - МО-11-3 1.400-6/76 0 Детали МО-13-1 - МО-13-3, МО-14-1 - МО-14-3 1.400-6/76 0 Детали МО-15-1 - МО-15-3, МО-16-1 - МО-16-5 1.400-6/76 0 Детали МО-17, МО-19, МО-20 1.400-6/76 1 Узлы крепления опорных консолей под стеновые панели к закладным деталям колонн 1.400-6/76 1 Таблица 10. Ключ для подбора опорных консолей под стеновые панели и закладных деталей для крепления опорных консолей 1.400-6/76 1 Таблица 11. Несущая способность и конструктивные характеристики закладных деталей группы "1" 1.400-6/76 1 Детали М1-1-1, М1-2-1, М1-3-1, М1-5-1 1.400-6/76 1 Детали М1-1-2, М1-1-5, М1-1-7 - М1-1-10 1.400-6/76 1 Детали М1-1-6, М1-4-1, М1-4-6, М1-6-1. М1-6-6 1.400-6/76 1 Детали М1-2-2, М1-2-5, М1-3-2 - М1-3-5 1.400-6/76 1 Детали М1-4-2 - М1-4-5, М1-4-7 - М1-4-10 1.400-6/76 1 Детали М1-5-2 - М1-5-5 1.400-6/76 1 Детали М1-6-2 - М1-6-5, М1-6-7 - М1-6-10 1.400-6/76 1 Детали М1-7-1, М1-7-6, М1-10-1 1.400-6/76 1 Детали М1-7-2 -М1-7-5 1.400-6/76 1 Детали М1-7-7 - М1-7-10 1.400-6/76 1 Детали М1-8-1, М1-8-6, М1-9-1, М1-9-6, М1-11-1, М1-11-6 1.400-6/76 1 Детали М1-8-2 - М1-8-5, М1-8-7 - М1-8-10 1.400-6/76 1 Детали М1-9-2 - М1-9-5, М1-9-7 - М1-9-10 1.400-6/76 1 Детали М1-10-2 - М1-10-5 1.400-6/76 1 Детали М1-11-2 - М1-11-5, М1-11-7 - М1-11-10 1.400-6/76 1 Детали М1-12, М1-12-1, М1-12-2, М1-13 - М1-16 1.400-6/76 2 Таблица 12 для подбора в колоннах унифицированных закладных деталей для крепления стропильных и подстропильных конструкций 1.400-6/76 2 Схема опирания железобетонных стропильных конструкций на колонны 1.400-6/76 2 Схемы опирания стропильных конструкций на подстропильные. Таблица 13 для подбора и ключ для замены закладных деталей в подстропильных конструкциях 1.400-6/76 2 Детали М2-1 - М2-5, М2-2-1, М2-32 1.400-6/76 2 Детали М2-6, М2-7, М2-15, М2-33 1.400-6/76 2 Детали М2-8, М2-8-1, М2-9, М2-14 1.400-6/76 2 Детали М2-10, М2-11, М2-31 1.400-6/76 2 Деталь М2-12 1.400-6/76 2 Детали М2-13, М2-13-1, М2-27 1.400-6/76 2 Детали М2-13-2, М2-23 1.400-6/76 2 Деталь М2-16 1.400-6/76 2 Деталь М2-17 1.400-6/76 2 Детали М2-18, М2-21 1.400-6/76 2 Деталь М2-19 1.400-6/76 2 Деталь М2-20 1.400-6/76 2 Детали М2-22, М2-24 1.400-6/76 2 Детали М2-25, М2-25-1, М2-26, М2-26-1 1.400-6/76 2 Детали М2-28, М2-29, М2-30 1.400-6/76 3 Таблица 14 для подбора опорных закладных деталей в стропильных и подстропильных конструкциях 1.400-6/76 3 Таблица 15 Ключ для замены опорных закладных деталей в стропильных и подстропильных конструкциях на унифицированные закладные детали 1.400-6/76 3 Детали М3-1, М3-5, М3-7, М3-8, М3-8-1 - М3-8-3, М3-11, М3-11-1 1.400-6/76 3 Детали М3-2 - М3-4, М3-6, М3-15 1.400-6/76 3 Детали М3-9, М3-10, М3-20, М3-22, М3-22-1, М3-23, М3-23-1 1.400-6/76 3 Детали М3-12 - М3-14, М3-14-1, М3-16, М3-19, М3-21 1.400-6/76 3 Детали М3-17, М3-17-1, М3-18, М3-18-1 1.400-6/76 4 Таблица 16 для подбора унифицированных закладных деталей в стропильных и подстропильных конструкциях 1.400-6/76 4 Таблица 17. Ключ для замены закладных деталей в стропильных и подстропильных конструкциях на унифицированные закладные детали 1.400-6/76 4 Детали М4-1,М4-1-1 - М4-1-5, М4-2, М4-5, М4-5-1, М4-16, М4-17 1.400-6/76 4 Детали М4-3, М4-3-1 - М4-3-5, М4-4, М4-4-1, М4-6, М4-6-1, М4-37 1.400-6/76 4 Детали М4-7, М4-7-1,М4-7-2, М4-8, М4-8-1, М4-8-2, М4-9, М4-9-1 1.400-6/76 4 Детали М4-7-3, М4-8-3 1.400-6/76 4 Детали М4-10, М4-10-1 - М4-10-5, М4-22, М4-22-1 - М4-22-3 1.400-6/76 4 Детали М4-11, М4-11-1, М4-12, М4-13, М4-24 1.400-6/76 4 Детали М4-14, М4-15, М4-26, М4-26-1, М4-29, М4-29-1, М4-36, М4-38 1.400-6/76 4 Детали М4-18, М4-19, М4-27, М4-28 1.400-6/76 4 Детали М4-20, М4-20-1, М4-20-2, М4-21, М4-21-1, М4-23, М4-23-1 1.400-6/76 4 Детали М4-25, М4-25-1, М4-30, М4-31 1.400-6/76 4 Детали М4-32, М4-33, М4-34, М4-35 1.400-6/76 6 Схемы расположения в подкрановых балках закладных деталей для крепления к колоннам 1.400-6/76 6 Детали М6-1, М6-1-1 1.400-6/76 6 Детали М6-2, М6-3 1.400-6/76 6 Детали М6-4, М6-5 1.400-6/76 6 Детали МС-1, МС-2 1.400-6/76 7 Схемы опирания железобетонных подкрановых балок на колонны при шаге колонн 6 и 12м 1.400-6/76 7 Таблица 18 для подбора и ключ для замены в типовых колоннах закладных деталей для крепления железобетонных подкрановых балок 1.400-6/76 7 Материалы для подбора и ключ для замены в типовых колоннах закладных деталей для крепления стальных подкрановых балок. Таблица 19 1.400-6/76 7 Детали М7-1 - М7-4, М7-3-1, М7-4-1 1.400-6/76 7 Детали М7-5, М7-6 1.400-6/76 8 Таблица 20 для подбора унифицированных закладных деталей в плитах покрытий 1.400-6/76 8 Таблица 21. ключ для замены закладных деталей в плитах покрытия на унифицированные закладные детали 1.400-6/76 8 Детали М8-1 - М8-4, М8-1-1, М8-11 - М8-13 1.400-6/76 8 Детали М8-5 - М8-9, М8-7-1, М8-8-1, М8-8-2 1.400-6/76 8 Детали М8-10, М8-14 1.400-6/76 8 Таблица 22. Унифицированные пластины закладных деталей 1.400-6/76 8 Унифицированные пластины с отверстиями 1.400-6/76 8 Таблица 23. Унифицированные прямые анкеры закладных деталей 1.400-6/76 8 Таблица 24. Унифицированные гнутые анкеры закладных деталей 1.400-6/76 8 Таблица 25. Унифицированные элементы фасонного проката 1.400-6/76 8 Таблица 26 и 27. Унифицированные стержни с нарезкой. Гайки и шайбы |
| Разработан: | Харьковский Промстройниипроект НИИЖБА |
| Утверждён: | 18.10.1978 Госстрой СССР (Государственный комитет Совета Министров СССР по делам строительства) (USSR Gosstroy 203) |
| Заменяет собой: | |
| Чем заменён: |
















































































































































