Скачать Отраслевой руководящий документ. Техническая эксплуатация железобетонных конструкций производственных зданий. Часть IДата актуализации: 01.01.2021 |
| Статус: | действует |
| Название рус.: | Отраслевой руководящий документ. Техническая эксплуатация железобетонных конструкций производственных зданий. Часть I |
| Дата добавления в базу: | 01.09.2013 |
| Дата актуализации: | 01.01.2021 |
| Область применения: | Надзор за состоянием железобетонных конструкций, особенности надзора при воздействии на конструкции агрессивных сред, высоких и низких температур. Классификация технических состояний железобетонных конструкций. Дефекты и повреждения основных несущих железобетонных конструкций. Требования к содержанию и эксплуатации железобетонных конструкций. |
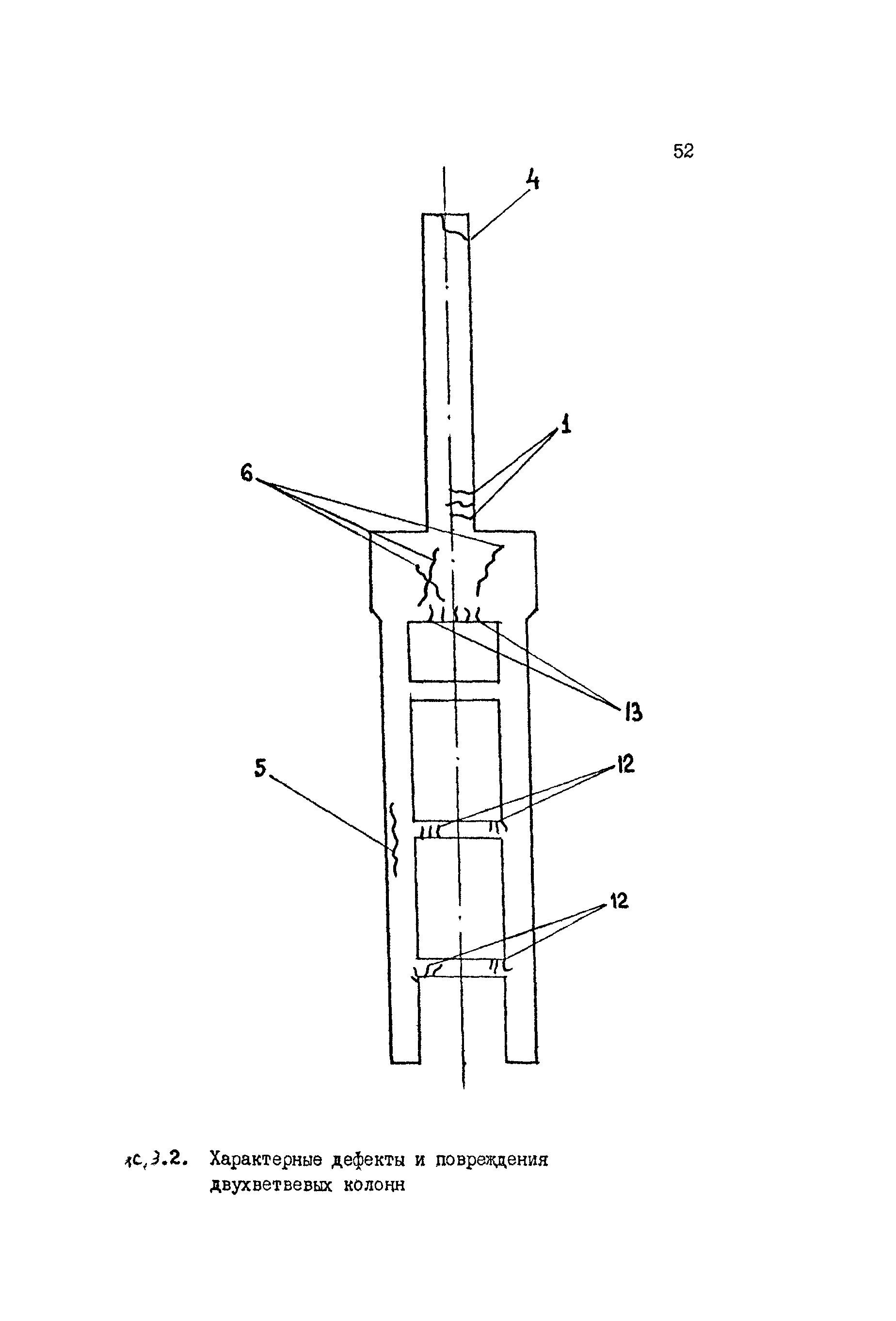
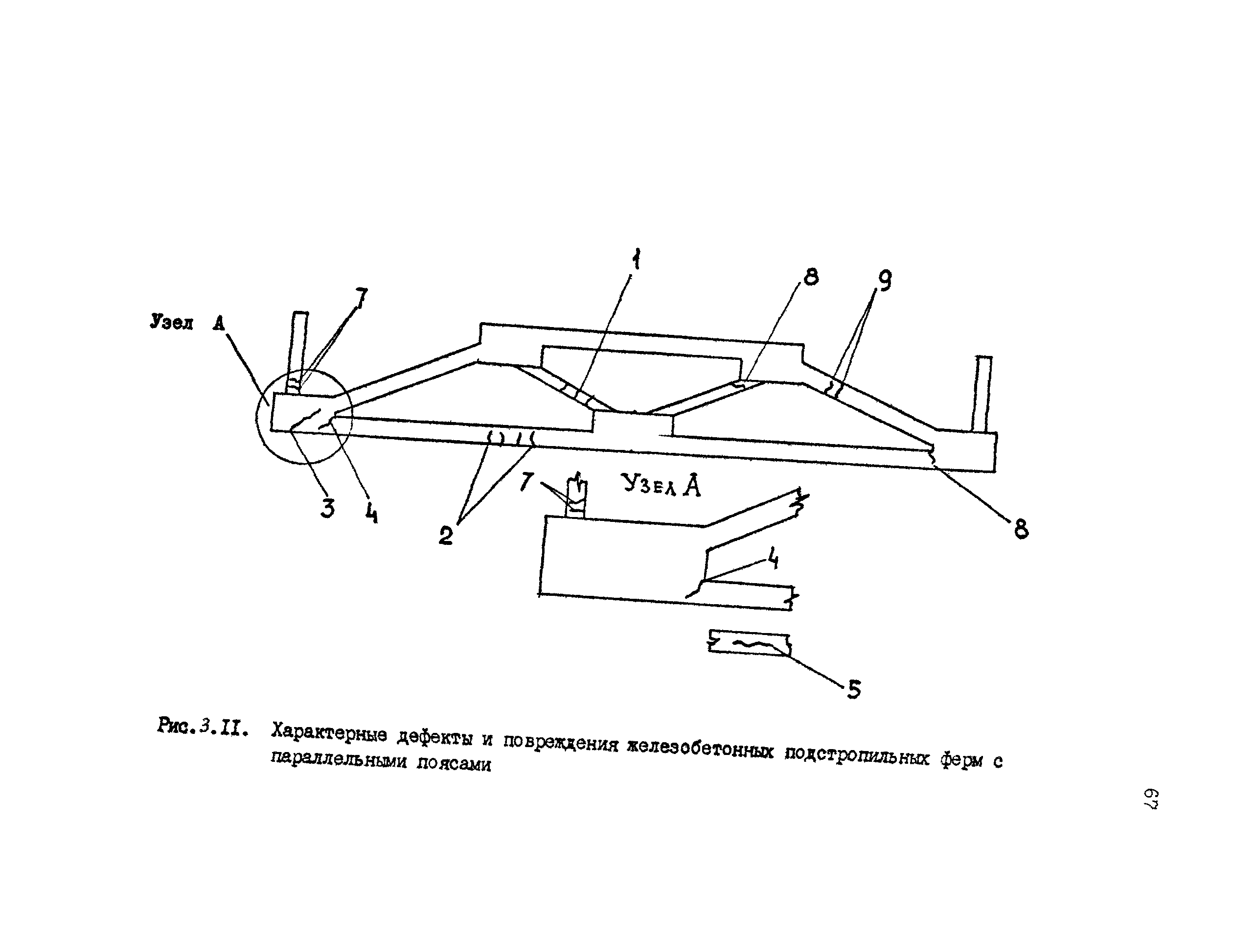
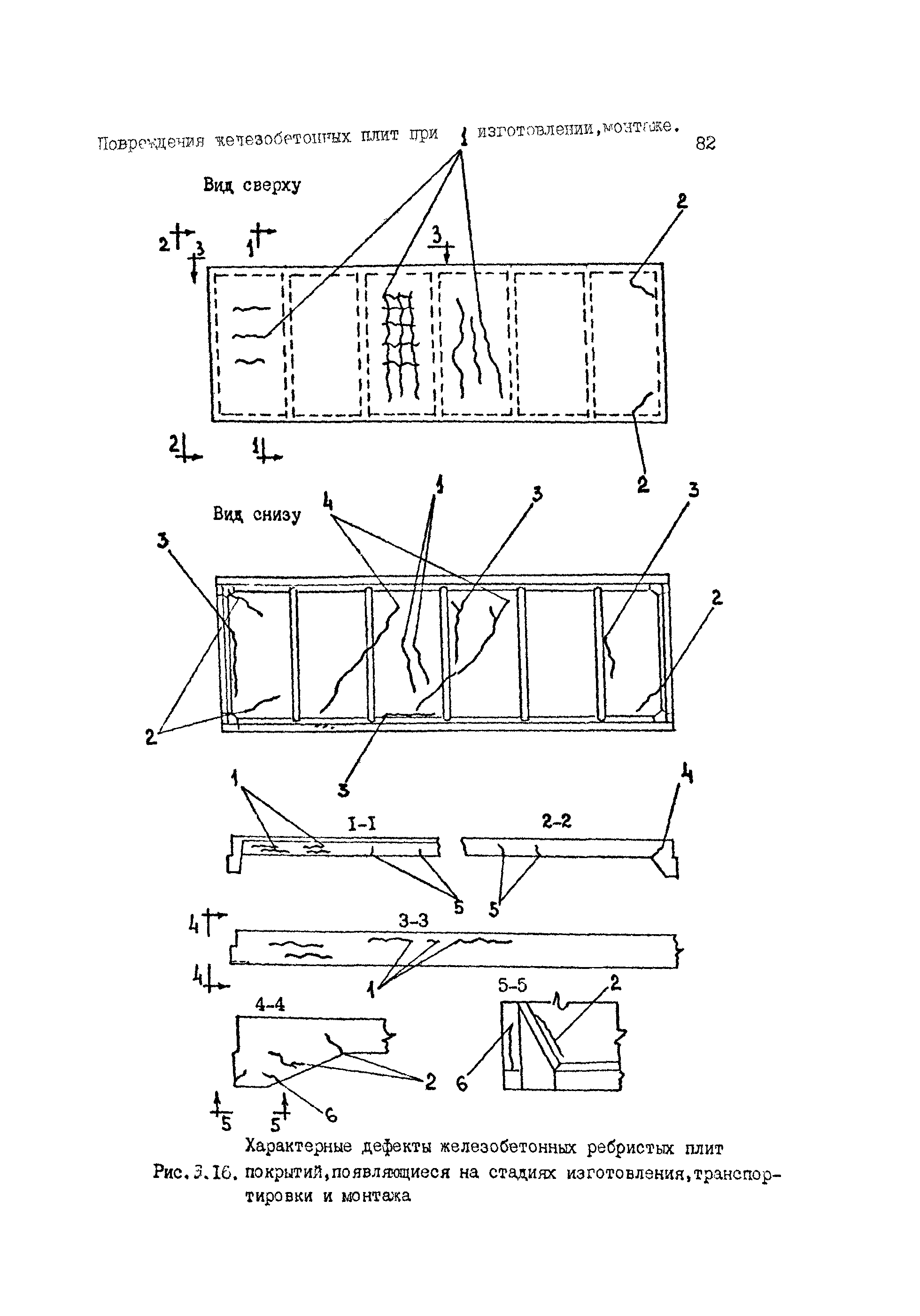
| Оглавление: | Введение 1 Основные положения 2 Надзор за состоянием железобетонных конструкций 3 Особенности надзора за состоянием железобетонных конструкций при воздействии агрессивных сред 4 Особенности надзора за состоянием железобетонных конструкций при воздействии высоких температур 5 Особенности надзора за состоянием железобетонных конструкций при воздействии низких температур 6 Классификация технических состояний конструкций 7 Дефекты и повреждения железобетонных колонн 8 Дефекты и повреждения железобетонных сборных подкрановых балок 9 Дефекты и повреждения железобетонных стропильных и подстропильных ферм 10 Дефекты и повреждения железобетонных стропильных и подстропильных балок 11 Дефекты и повреждения железобетонных плит покрытий 12 Дефекты и повреждения плит перекрытий 13 Дефекты стен промышленных зданий из железобетонных панелей 14 Дефекты и повреждения монолитных железобетонных конструкций индивидуального изготовления 15 Требования к содержанию и эксплуатации железобетонных конструкций Приложение 1. Основные термины и определения Приложение 2. Предельные прогибы элементов железобетонных конструкций Приложение 3. Данные о степени агрессивности производств Приложение 4. Основные виды арматурной стали и область ее применения в железобетонных конструкциях Приложение 5. Область применения углеродистой стали для закладных деталей |
| Разработан: | Харьковский Промстройниипроект НИИЖБ Научно-инженерная Ассоциация ЭРКОН ЧТБ Новые технологии Экспертно-консультативный центр Металлург |
| Утверждён: | 21.04.1993 Комитет Российской Федерации по металлургии |
| Принят: | 30.04.1993 Отдел содержания основных фондов Комитета РФ по металлургии |
| Нормативные ссылки: |
|











































































































































