Скачать ГОСТ Р 52768-2007 Центрифуги для производств, работающих с радиоактивными средами. Общие технические требования и методы испытаний

Дата актуализации: 01.01.2021

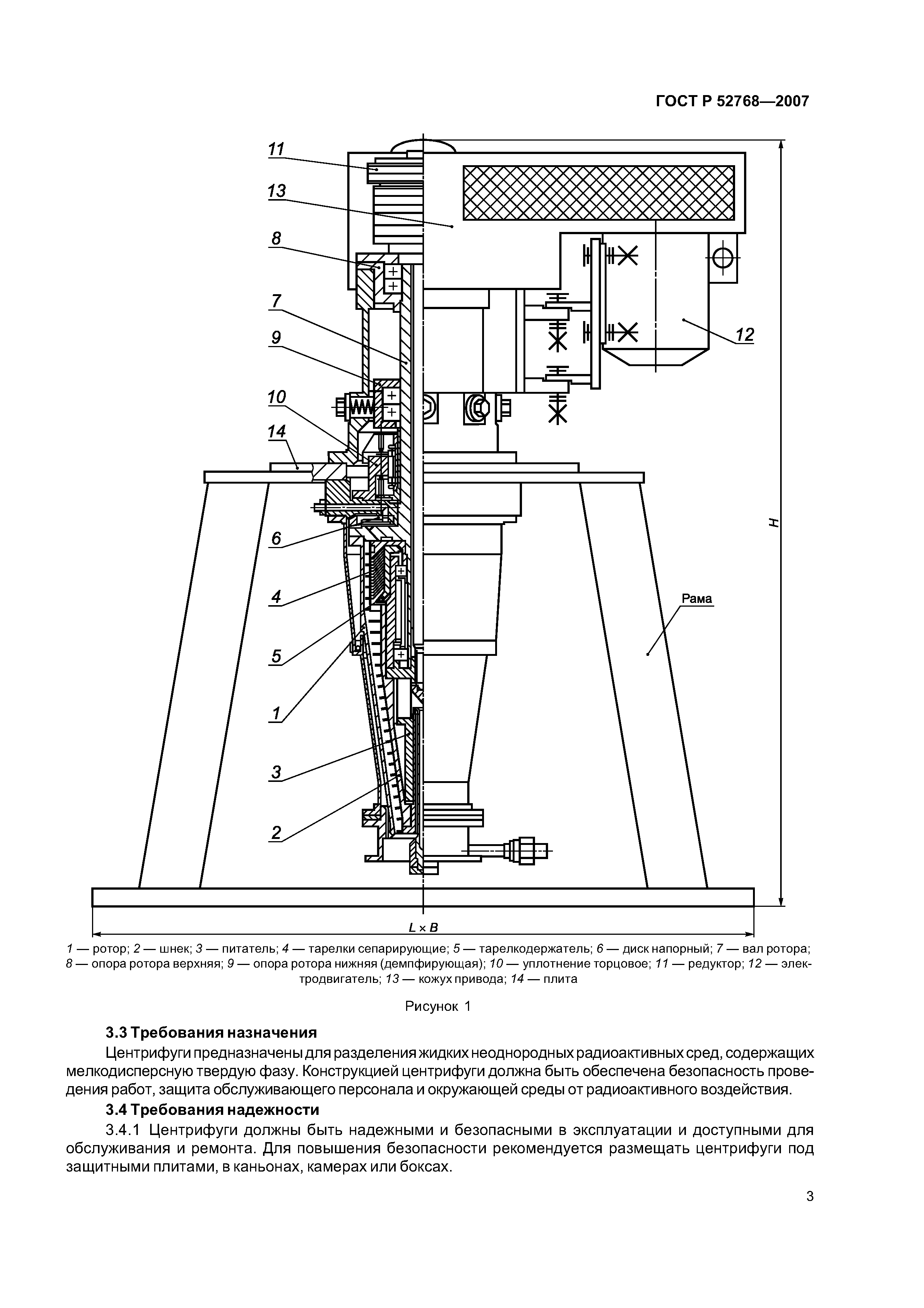
ГОСТ Р 52768-2007

Центрифуги для производств, работающих с радиоактивными средами. Общие технические требования и методы испытаний

Обозначение: ГОСТ Р 52768-2007
Обозначение англ: GOST R 52768-2007
Статус:введен впервые
Название рус.:Центрифуги для производств, работающих с радиоактивными средами. Общие технические требования и методы испытаний
Название англ.:Centrifuges for industries working with radioactive media. General technical requirements and test methods
Дата добавления в базу:01.09.2013
Дата актуализации:01.01.2021
Дата введения:01.01.2008
Область применения:Стандарт распространяется на непрерывно действующие, вертикальные, отстойные центрифуги со шнековой выгрузкой осадка из ротора, применяемые в производствах, работающих с радиоактивными средами. Стандарт устанавливает общие технические требования к проектированию, изготовлению, испытаниям и приемке центрифуг 4-го класса безопасности, а также методы испытаний.
Оглавление:1 Область применения
2 Нормативные ссылки
3 Общие технические требования
   3.1 Общие положения
   3.2 Типы, параметры и основные размеры центрифуг
   3.3 Требования назначения
   3.4 Требования надежности
   3.5 Требования к материалам
   3.6 Требования к покупным изделиям
   3.7 Конструктивные требования
   3.8 Требования к расчету на прочность и стойкости к внешним воздействиям
   3.9 Требования к расчету динамических нагрузок на несущие элементы строительных конструкций
   3.10 Требования к расчету критических скоростей вращающихся частей центрифуги
   3.11 Требования технологичности
   3.12 Требования к сварке
   3.13 Требования к механической обработке
   3.14 Требования к балансировке
   3.15 Требования к сборке
4 Правила приемки и методы испытаний
   4.1 Общие требования
   4.2 Испытание редуктора
   4.3 Испытание центрифуги
5 Требования безопасности и охраны окружающей среды
6 Комплектность
7 Маркировка
8 Упаковка
9 Транспортирование и хранение
Приложение А Типы, параметры и основные размеры центрифуг
Библиография
Разработан: ОАО СвердНИИхиммаш
Утверждён:23.10.2007 Федеральное агентство по техническому регулированию и метрологии (272-ст)
Издан: Стандартинформ (2008 г. )
Нормативные ссылки:
ГОСТ Р 52768-2007ГОСТ Р 52768-2007ГОСТ Р 52768-2007ГОСТ Р 52768-2007ГОСТ Р 52768-2007ГОСТ Р 52768-2007ГОСТ Р 52768-2007ГОСТ Р 52768-2007ГОСТ Р 52768-2007ГОСТ Р 52768-2007ГОСТ Р 52768-2007ГОСТ Р 52768-2007ГОСТ Р 52768-2007ГОСТ Р 52768-2007ГОСТ Р 52768-2007ГОСТ Р 52768-2007ГОСТ Р 52768-2007ГОСТ Р 52768-2007