Скачать ГОСТ Р 52857.4-2007 Сосуды и аппараты. Нормы и методы расчета на прочность. Расчет на прочность и герметичность фланцевых соединенийДата актуализации: 01.01.2021
|
| Обозначение: | ГОСТ Р 52857.4-2007 |
| Обозначение англ: | GOST R 52857.4-2007 |
| Статус: | отменен |
| Название рус.: | Сосуды и аппараты. Нормы и методы расчета на прочность. Расчет на прочность и герметичность фланцевых соединений |
| Название англ.: | Vessels and apparatus. Norms and methods of strength calculation. Stength and leak-tightness calculation of flange joints |
| Дата добавления в базу: | 01.09.2013 |
| Дата актуализации: | 01.01.2021 |
| Дата введения: | 01.04.2008 |
| Дата окончания срока действия: | 01.08.2018 |
| Область применения: | Стандарт устанавливает нормы и методы расчета на прочность и герметичность фланцевых соединений сосудов и аппаратов из углеродистых и легированных сталей, цветных металлов {алюминия, меди, титана и их сплавов), применяемых в химической, нефтехимической, нефтеперерабатывающей и смежных отраслях промышленности, работающих в условиях однократных и многократных нагрузок под внутренним избыточным давлением или вакуумом, под действием осевых сил и изгибающих моментов. Допускается также использование настоящего стандарта для расчета фланцевых соединений трубопроводов. Нормы и методы расчета на прочность и герметичность фланцевых соединений применимы при условии, что технические требования к конструированию, изготовлению и контролю удовлетворяют требованиям нормативных документов. В случае, если свойства материалов, отклонения от геометрической формы, неточности или качество изготовления отличаются от требований нормативных документов, то при расчете на прочность эти отступления должны быть учтены соответствующей корректировкой расчетных формул. |
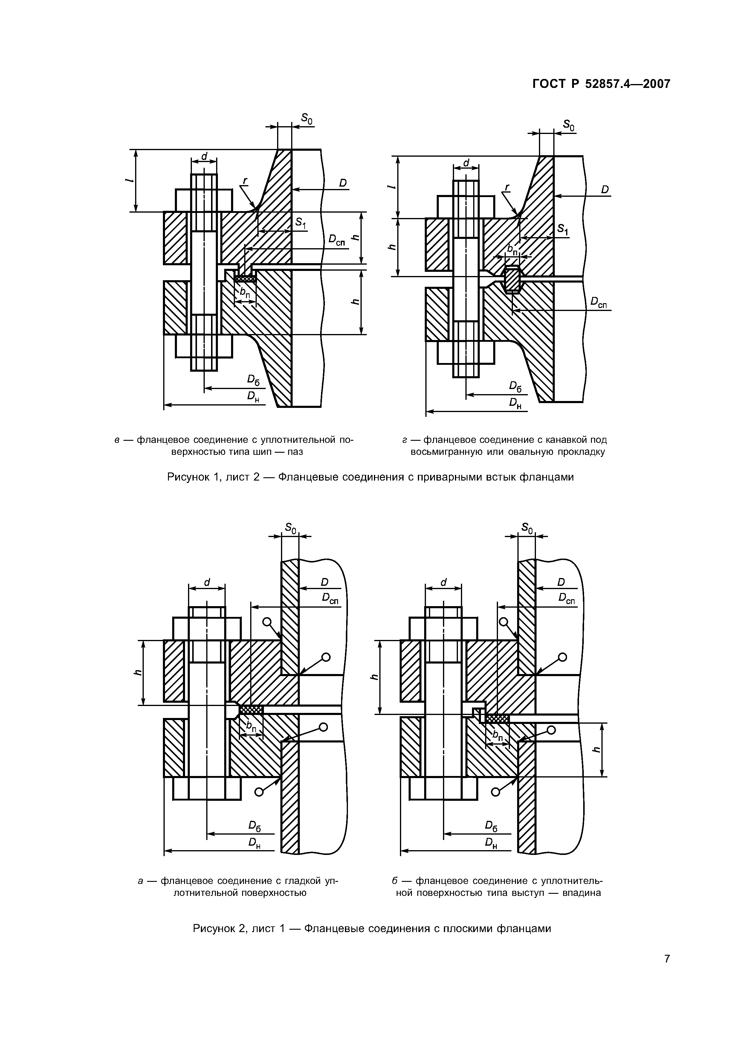
| Оглавление: | 1 Область применения 2 Нормативные ссылки 3 Обозначения 4 Общие положения 5 Усилия, необходимые для смятия прокладки и обеспечения герметичности фланцевого соединения 6 Усилия в болтах (шпильках) фланцевого соединения при затяжке и в рабочих условиях 7 Проверка прочности болтов (шпилек) и прокладки 8 Расчет фланцев на статическую прочность 8.1 Расчетный изгибающий момент, действующий на фланец при затяжке 8.2 Расчетный изгибающий момент, действующий на фланец в рабочих условиях 8.3 Расчетные напряжения во фланце при затяжке 8.4 Расчетные напряжения во фланце в рабочих условиях 8.5 Условия статической прочности фланцев 9 Проверка углов поворота фланцев 10 Расчет элементов фланцевого соединения на малоцикловую усталость 10.1 Размах условных упругих напряжений в элементах фланцевого соединения 10.2 Расчетные амплитуды приведенных условных упругих напряжений при затяжке 10.3 Расчетные амплитуды приведенных упругих напряжений в рабочих условиях Приложение А (рекомендуемое) Рекомендации по пределам применения фланцев и прокладок различных типов Приложение Б (рекомендуемое) Рекомендации по выбору нормализованных фланцевых соединений, нагруженных давлением, осевой силой и изгибающим моментом Приложение В (рекомендуемое) Рекомендации по назначению температур элементов фланцевого соединения Приложение Г (обязательное) Допускаемые напряжения для материала болтов (шпилек) Приложение Д (справочное) Площади поперечных сечений болтов (шпилек) Приложение Е (обязательное) Плечи действия сил и коэффициенты жесткости Приложение Ж (справочное) Физические и механические свойства крепежных материалов Приложение И (обязательное) Характеристики основных типов прокладок Приложение К (обязательное) Определение податливости прокладки, болтов (шпилек), фланцев Приложение Л (справочное) Крутящий момент на ключе при затяжке |
| Разработан: | Ростехнадзор ОАО НИИХИММАШ ОАО ВНИИНЕФТЕМАШ ЗАО Петрохим Инжиниринг |
| Утверждён: | 27.12.2007 Федеральное агентство по техническому регулированию и метрологии (503-ст) |
| Издан: | Стандартинформ (2008 г. ) Стандартинформ (2009 г. ) |
| Нормативные ссылки: |
|








































