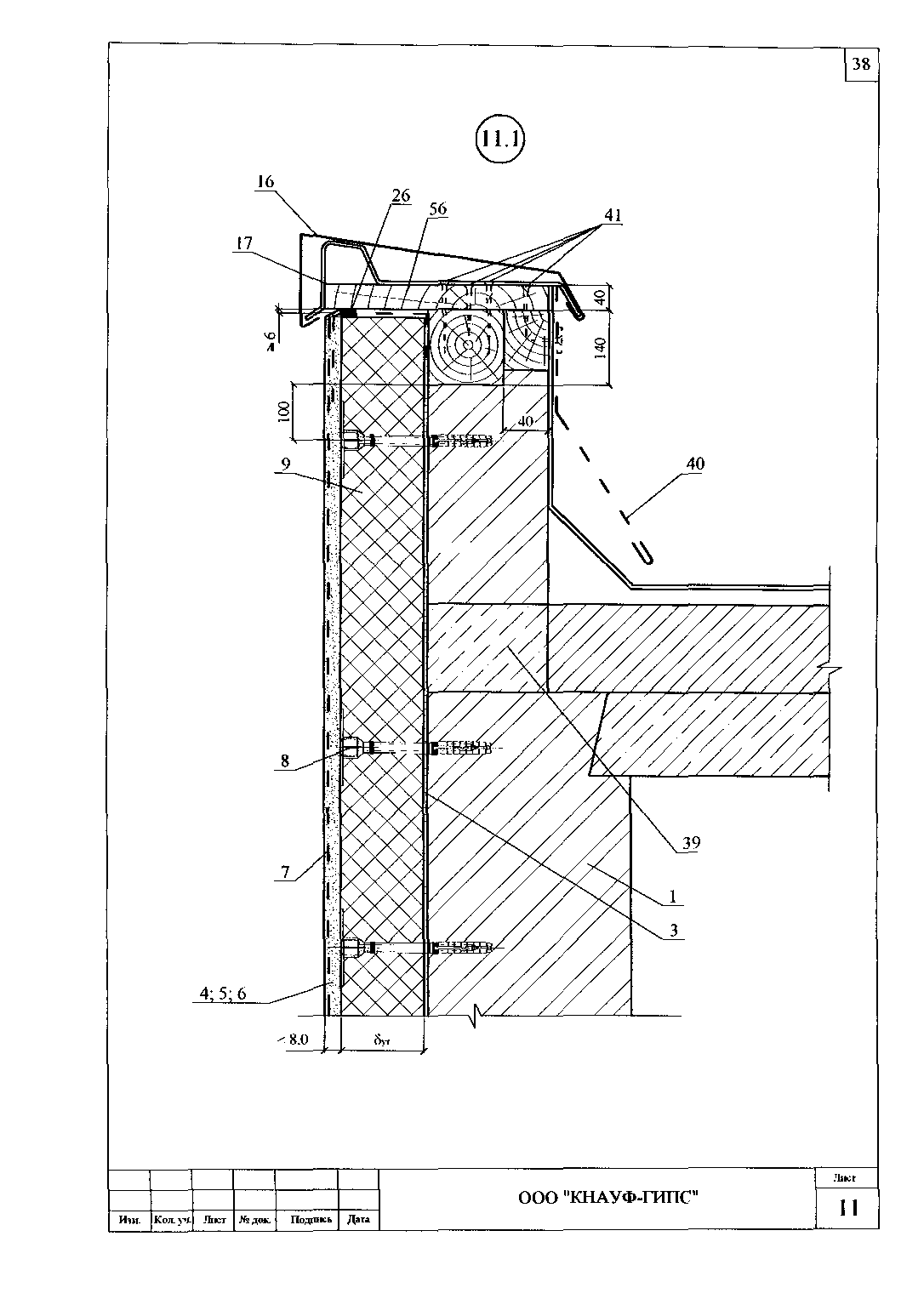
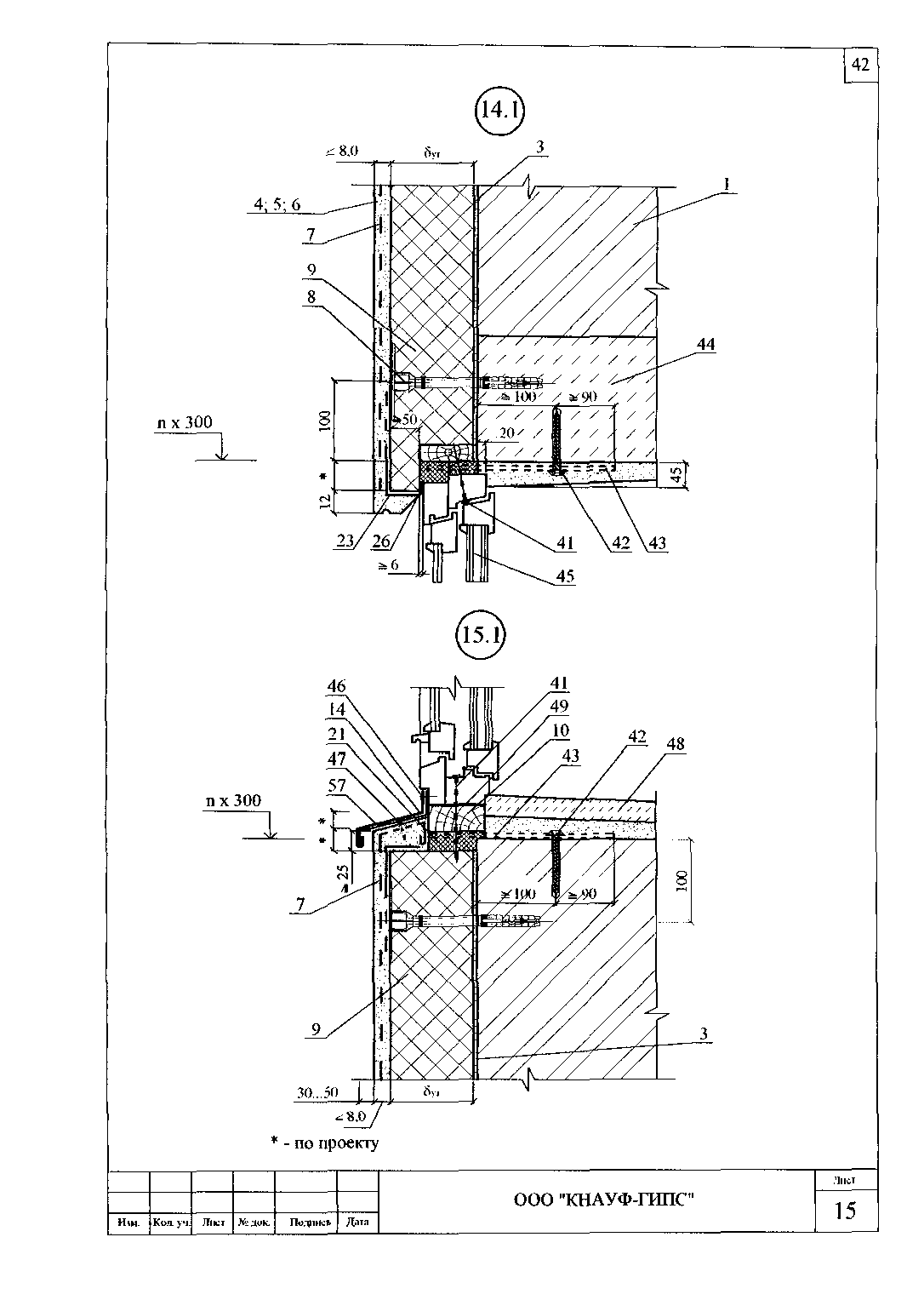
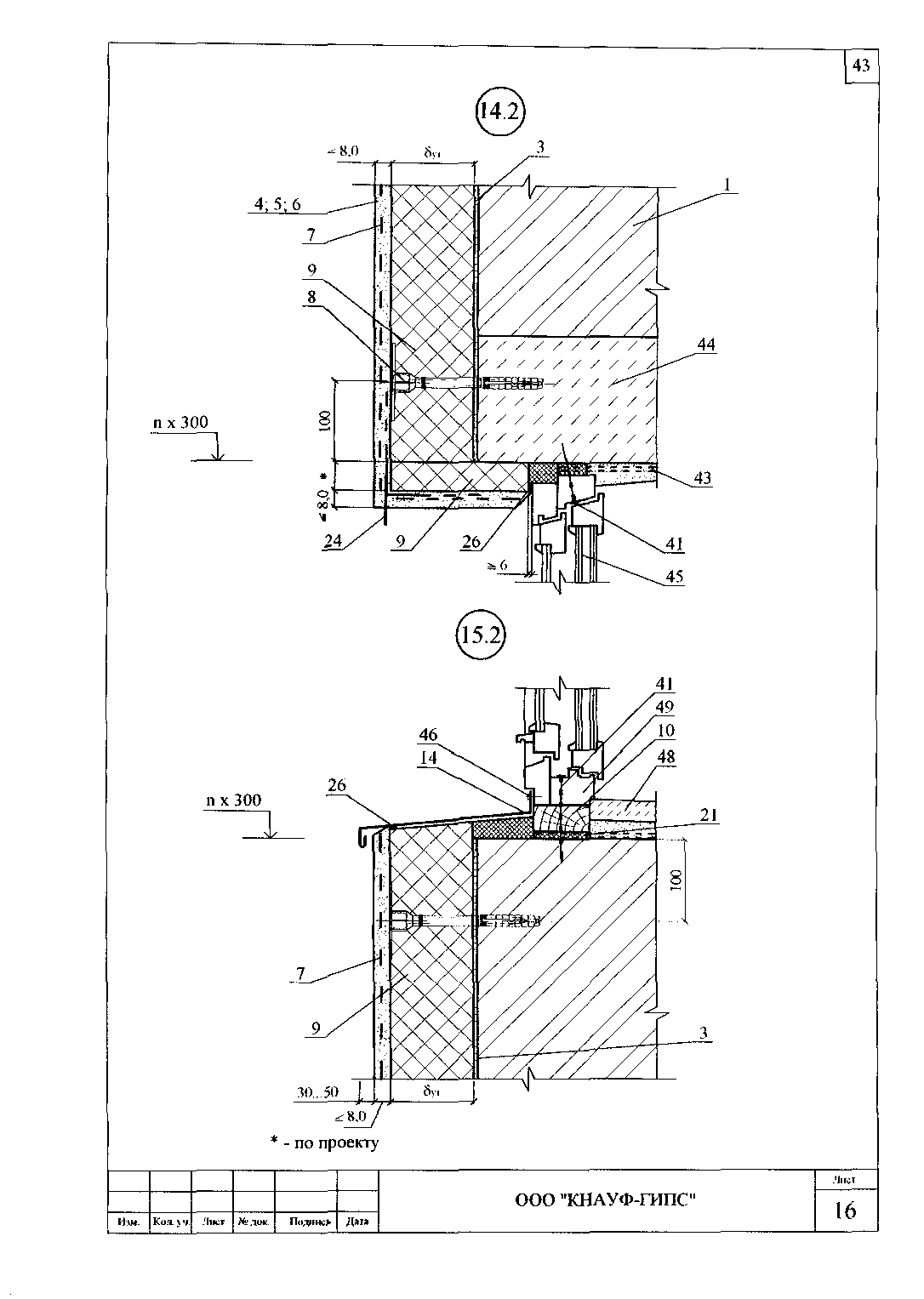
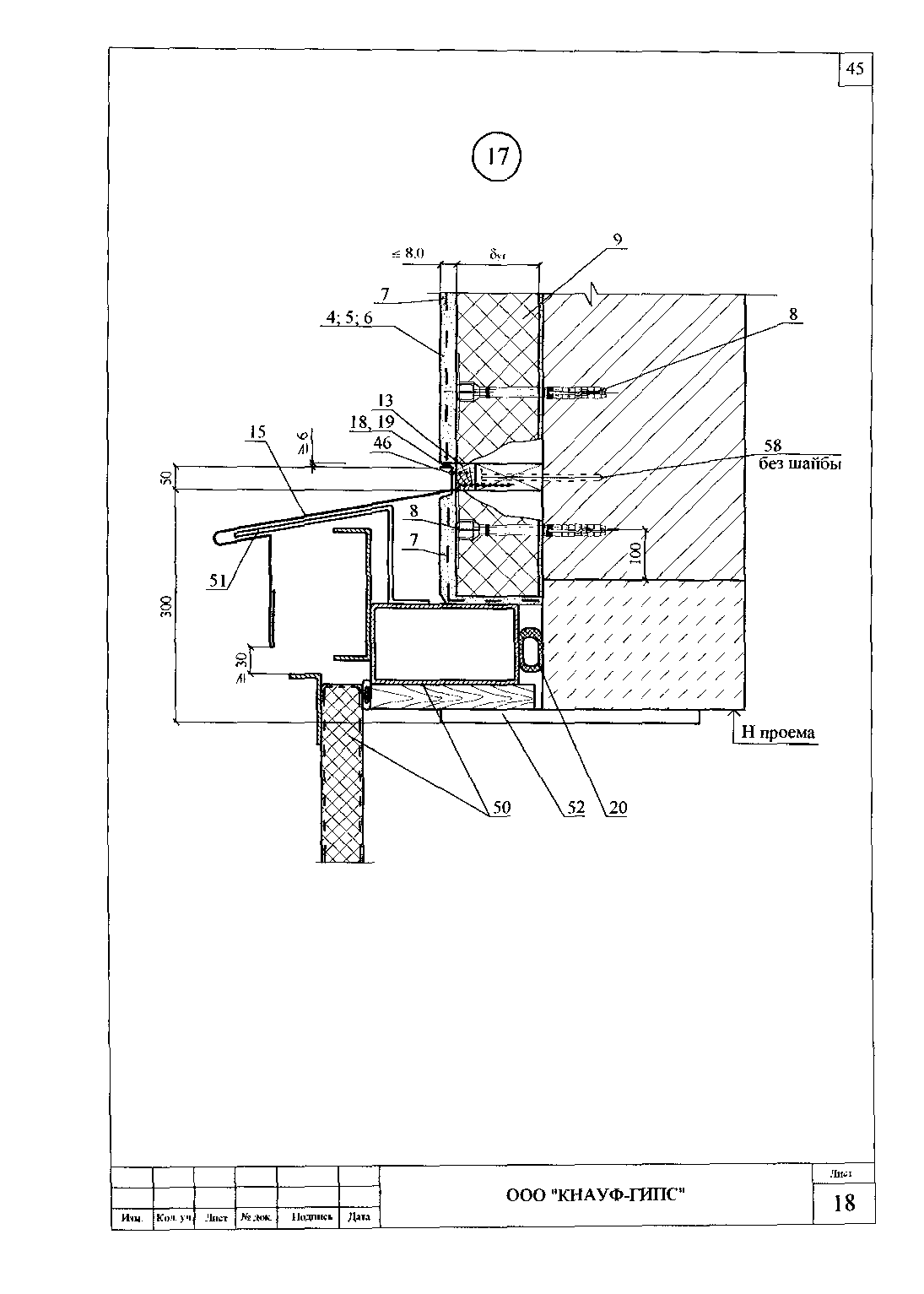
Скачать Альбом технических решений. Системы наружной теплоизоляции фасадов зданий КНАУФ-Теплая стена I и КНАУФ-Теплая стенаIIДата актуализации: 01.01.2021
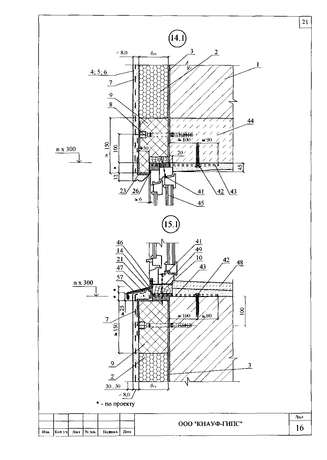
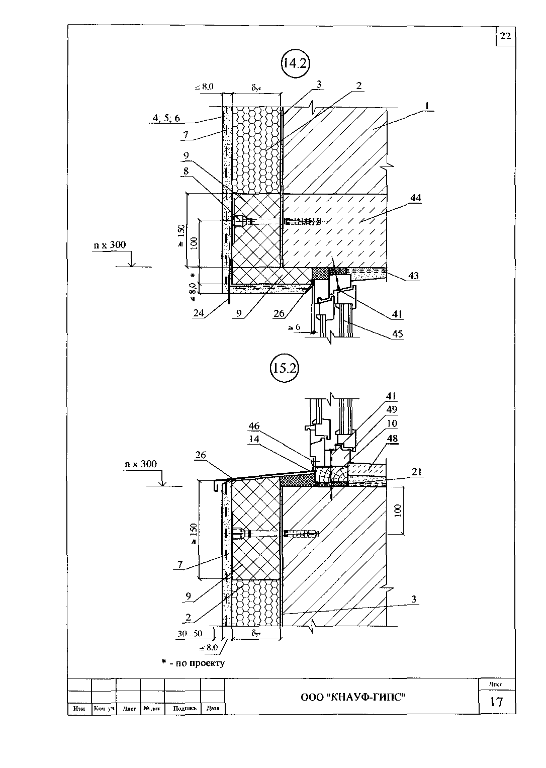
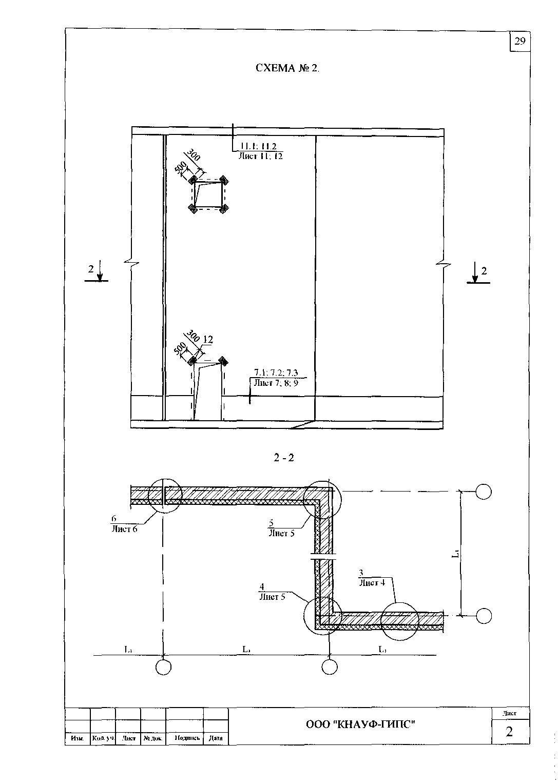
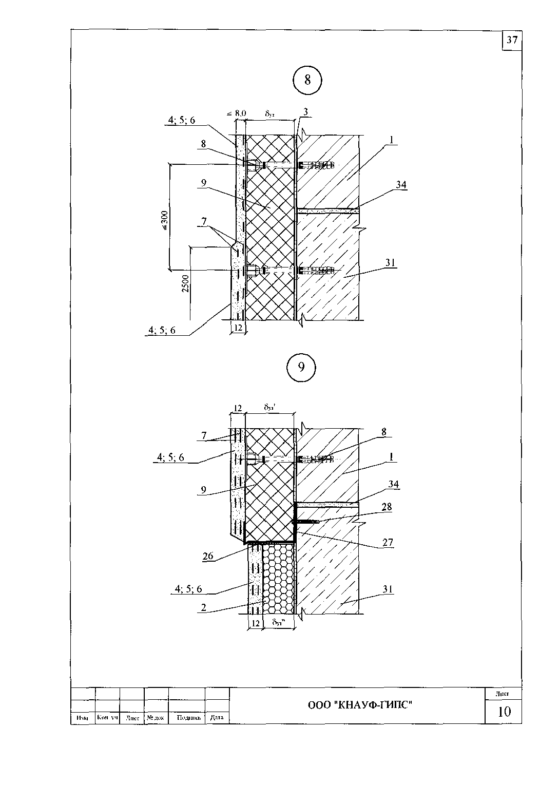
Альбом технических решений. Системы наружной теплоизоляции фасадов зданий "КНАУФ-Теплая стена" I и "КНАУФ-Теплая стена"II| Статус: | действует | | Название рус.: | Альбом технических решений. Системы наружной теплоизоляции фасадов зданий "КНАУФ-Теплая стена" I и "КНАУФ-Теплая стена"II | | Дата добавления в базу: | 01.09.2013 | | Дата актуализации: | 01.01.2021 | | Оглавление: | 1. Часть 1:Узлы системы "КНАУФ-Теплая стена" I с теплоизоляцией из пенополистирола 2. Часть 2:Узлы системы "КНАУФ-Теплая стена"II с теплоизоляцией из минераловатных плит 3. Схемы установки дюбелей | | Нормативные ссылки: | |
                                             
|