Скачать Рекомендации по проектированию и применению для строительства и реконструкции зданий в г. Москве конструктивных решений по антивандальной защите навесных и многослойных фасадных систем на 1-х этажах различных объектов строительства

Дата актуализации: 01.01.2021

Рекомендации по проектированию и применению для строительства и реконструкции зданий в г. Москве конструктивных решений по антивандальной защите навесных и многослойных фасадных систем на 1-х этажах различных объектов строительства

Статус:действует
Название рус.:Рекомендации по проектированию и применению для строительства и реконструкции зданий в г. Москве конструктивных решений по антивандальной защите навесных и многослойных фасадных систем на 1-х этажах различных объектов строительства
Дата добавления в базу:01.09.2013
Дата актуализации:01.01.2021
Дата введения:22.02.2006
Область применения:Рекомендации являются методическим и справочным пособием для разработки проектов с антивандальной защитой навесных и многослойных фасадных систем на первых этажах различных объектов строительства
Оглавление:1. Введение
2. Возможные виды вандальных воздействий и предложения по принципиальным защитным техническим решениям
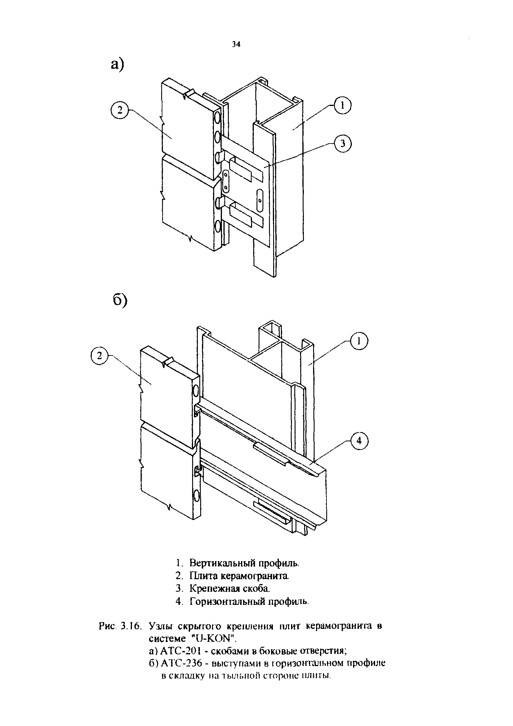
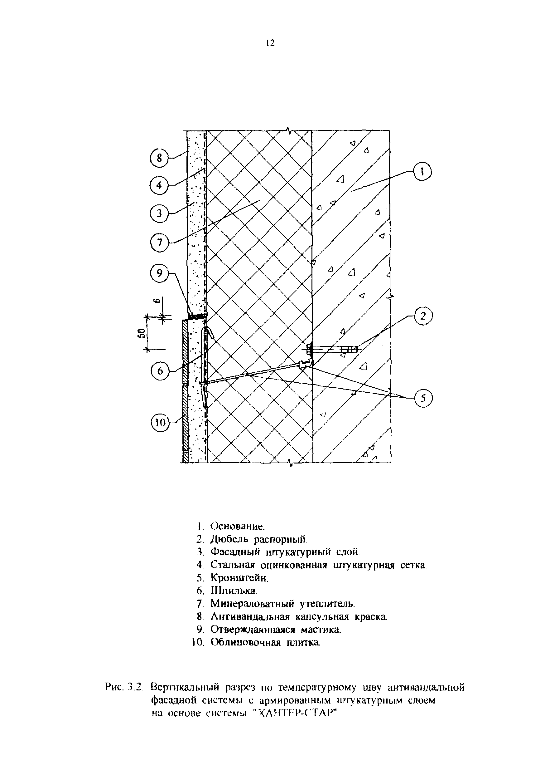
3. Конструктивное решение навесных фасадных систем с защитой от вандальных воздействий
4. Основные положения по конструированию, прочностным и теплотехническим расчетам антивандальных навесных фасадных систем
5. Основные положения по производству работ и контролю качества продукции
6. Технико-экономические показатели
7. Перечень нормативных документов и литературы
Разработан: ЦНИИЭП жилища
Утверждён:22.02.2006 Москомархитектура (Moskomarkhitektura 36)
Нормативные ссылки: