Скачать Каталог конструктивных решений по усилению и восстановлению строительных конструкций промышленных зданийДата актуализации: 01.01.2021 |
| Статус: | не действует |
| Название рус.: | Каталог конструктивных решений по усилению и восстановлению строительных конструкций промышленных зданий |
| Дата добавления в базу: | 01.09.2013 |
| Дата актуализации: | 01.01.2021 |
| Область применения: | Материалы каталога предназначены для использования их инженерно-техническими работниками проектных, производственных, ремонтно-строительных организаций министерств и ведомств в качестве практического пособия при решении вопросов усиления и восстановления строительных конструкций, разрушенных промышленных объектов, а также при капитальном ремонте и реконструкции этих объектов в условиях действующего производства. |
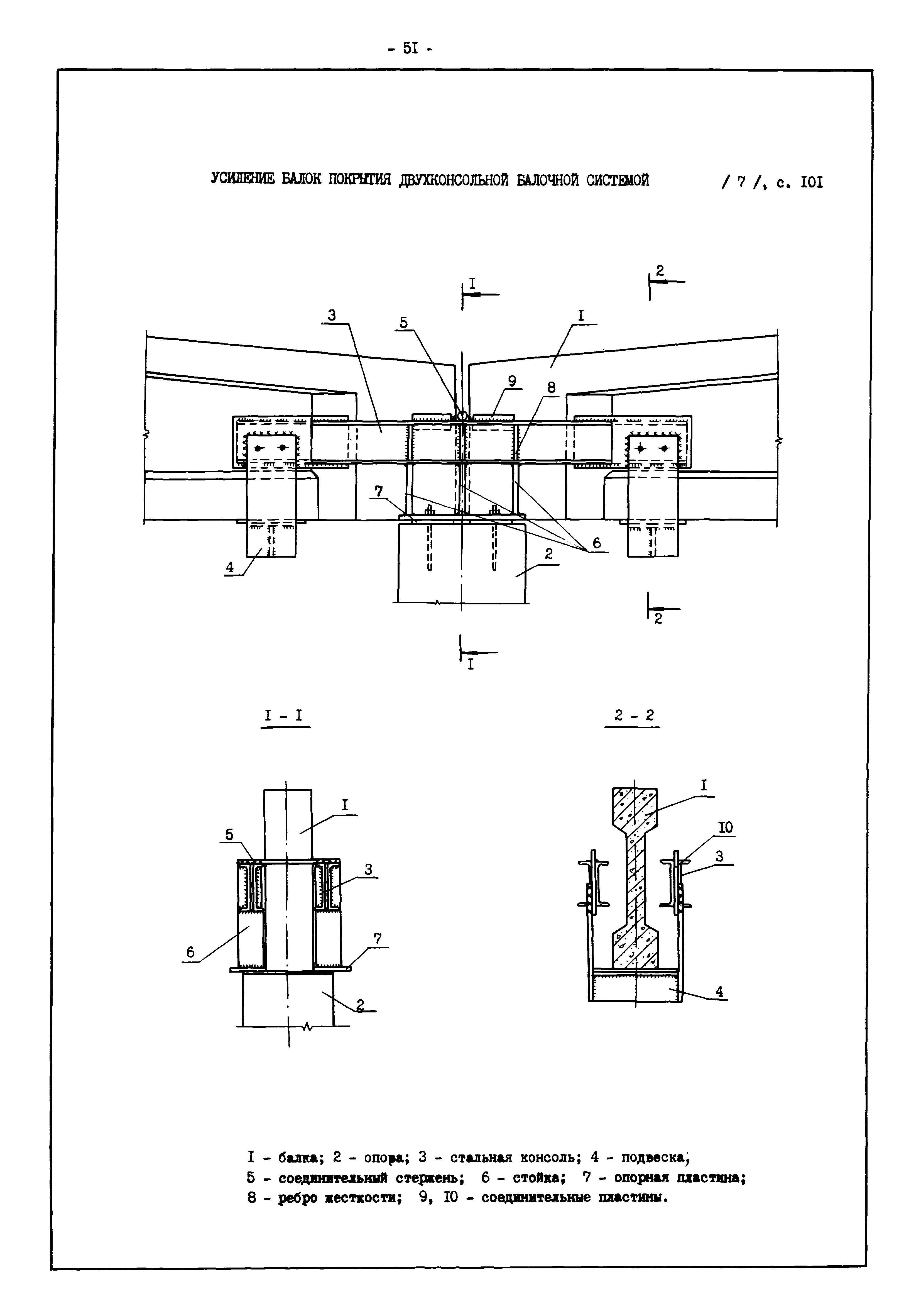
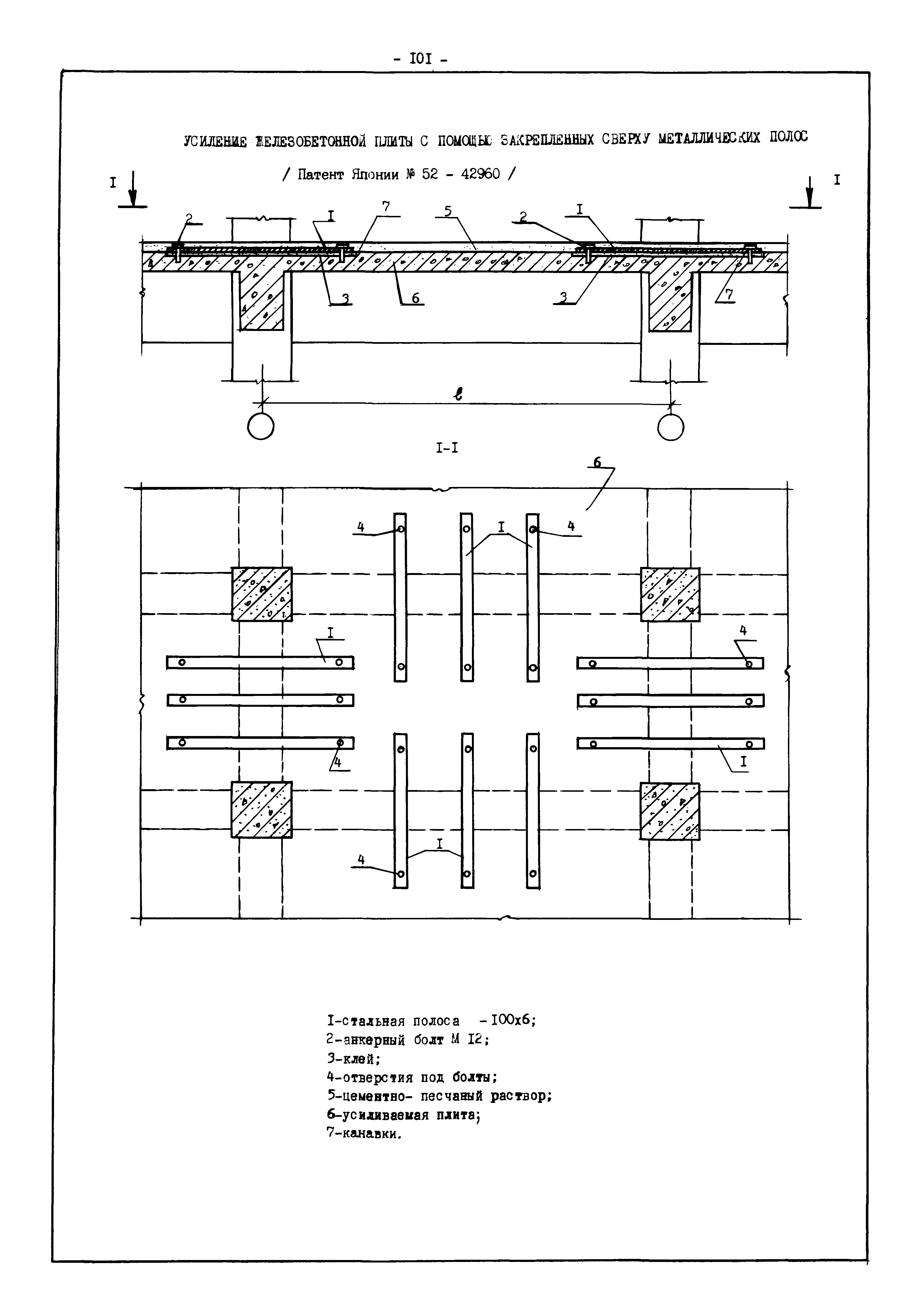
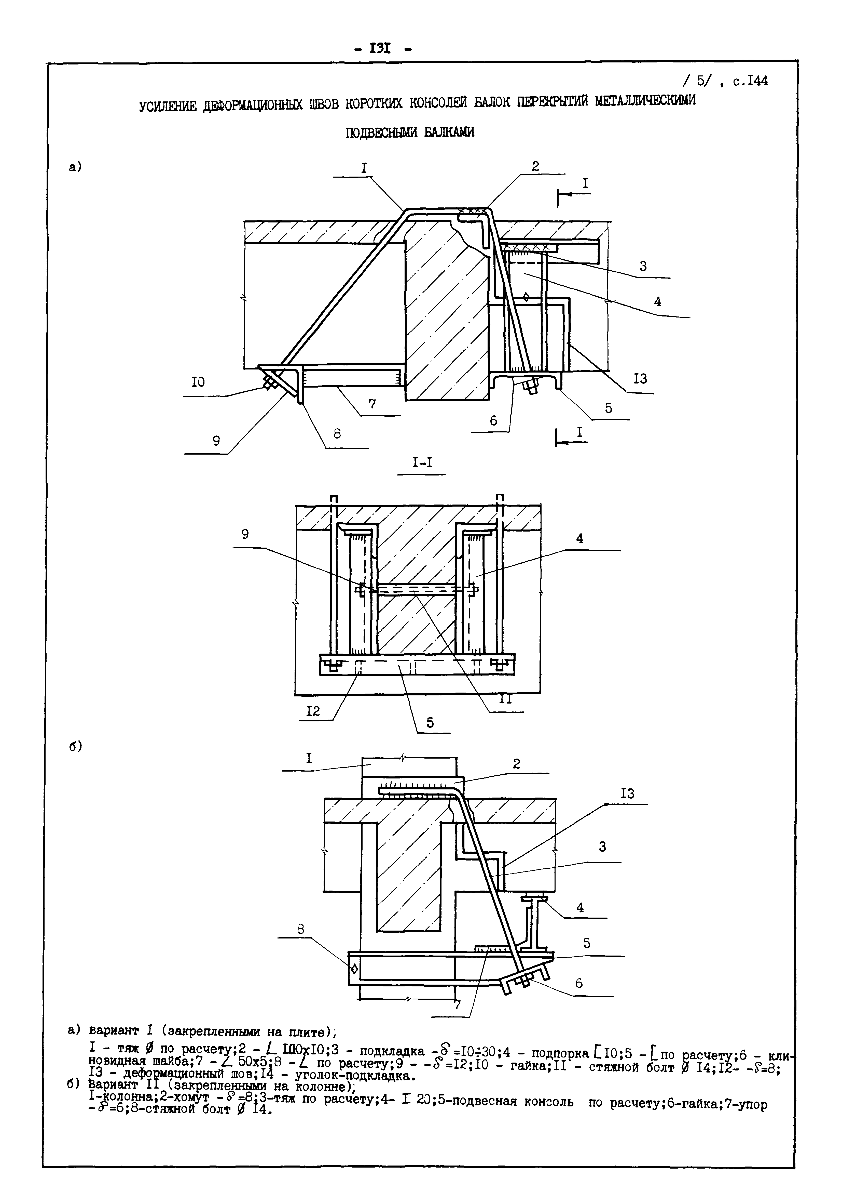
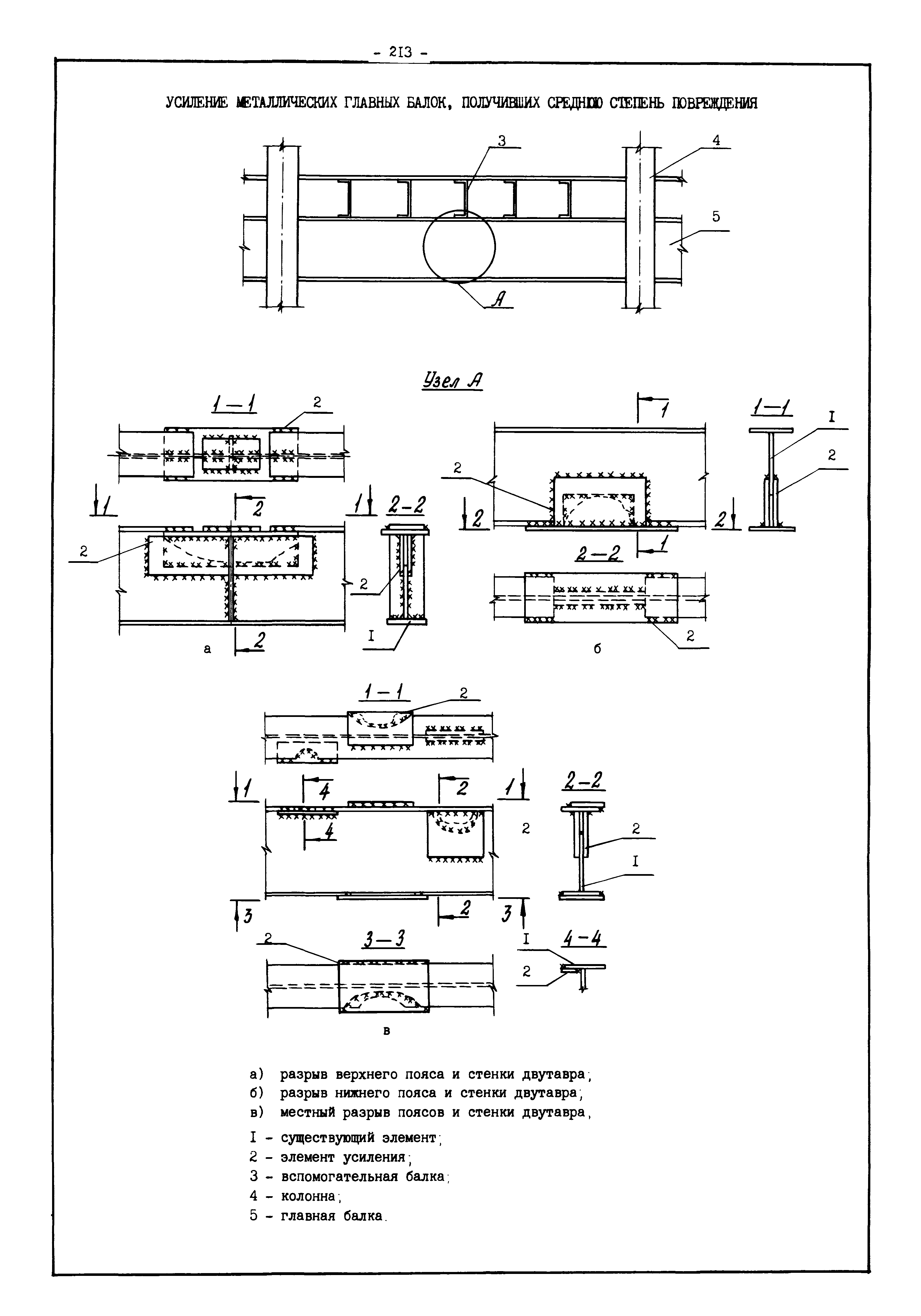
| Оглавление: | Введение I. Усиление и восстановление железобетонных конструкций Основные положения по усилению конструкций Оценка несущей способности железобетонных конструкций Основные положения по расчету и конструированию усилений Основные материалы для усиления и восстановления существующих железобетонных конструкций и требования к ним Требования к материалам для приготовления быстротвердеющих ремонтных составов Составы бетонов и растворов, предназначенных для усиления и восстановления строительных конструкций Усиление ребристых плит покрытия наращиванием Усиление ребристых плит покрытия при повреждении ребер Усиление сборной железобетонной плиты покрытия металлической балкой с подклинкой Усиление плит покрытия с помощью листов из волнистой стали Восстановление опирания ребристых плит покрытия на опоры Усиление продольных ребер плит покрытия Усиление сборных балок покрытия наращиванием сверху Усиление стропильных балок наращиванием снизу Усиление балок покрытия обоймой и дополнительными хомутами Усиление сжатой зоны стропильной балки обоймами Усиление железобетонной балки покрытия с помощью листов из фибробетона Усиление сборной балки покрытия шарнирно-стержневой цепью Усиление сборной балки покрытия шпренгелем Усиление железобетонной балки покрытия с помощью двухветьевой шпренгельной затяжки (а.с. СССР N 922257) Усиление стропильных балок подпружными системами Усиление опорных участков балок покрытия хомутами Усиление балок покрытия двухконсольной балочной системой Усиление верхнего пояса фермы Усиление нижнего пояса фермы Усиление стойки фермы Усиление раскоса и стойки фермы Усиление ребер сборных плит перекрытия с помощью дополнительной арматуры Усиление сборных плит перекрытия при помощи наклонных хомутов Усиление приопорных участков многопустотных плит перекрытий Усиление сборной многопустотной плиты перекрытия замоноличиванием каналов пустот Усиление сборной железобетонной плиты перекрытия с помощью изогнутого вниз стального листа (патент Японии N 56-54428) Восстановление ригеля перекрытия созданием обратного конструктивного выгиба с помощью домкрата (а.с. 1352023) Восстановление ригеля перекрытия созданием обратного конструктивного выгиба без домкрата (а.с. 1352023) Восстановление железобетонной балки путем подвешивания ее к металлической балке Восстановление плит перекрытия, получивших пробоины, с применением стали и бетона Восстановление безбалочного перекрытия, получившего пробоину величиной более 1 метра, деревянным щитом, не выступающим над полом Восстановление плит перекрытий, получивших пробоину величиной менее 1 метра, деревянным щитом, выступающим над полом Восстановление плит перекрытий, получивших пробоину менее 1 метра, деревянным щитом, не выступающим над полом Восстановление монолитных перекрытий, получивших пробоину величиной более 1 метра, деревянным щитом, не выступающим над полом Усиление монолитных плит перекрытия односторонним наращиванием Усиление железобетонной балки монолитного перекрытия наращиванием с помощью хомутов Усиление монолитной плиты перекрытия наращиванием с устройством железобетонных шпонок Восстановление железобетонных балок монолитного перекрытия при отколе Восстановление железбетонной балки монолитного перекрытия местными обоймами Восстановление сильно разрушенной железобетонной балки перекрытия Восстановление железобетонных балок монолитного перекрытия при помощи подвешенных металлических и деревянных балок Усиление железобетонной плиты с помощью закрепленных сверху металлических полос (патент Японии N 52-42950) Усиление железобетонной плиты монолитного перекрытия металлическими полосами, закрепленными с двух сторон (патент Японии N 57-10261) Усиление и восстановление плит перекрытия металлическим профильным листом (патент Японии N 54-29085) Усиление балки перекрытия треугольной фермой с прокладкой Усиление железобетонной балки перекрытия металлической балкой, опертой на столики Усиление железобетонной балки монолитного перекрытия преднапряженной металлической балкой Усиление балки монолитного железобетонного перекрытия преднапряженными прямыми затяжками Усиление железобетонной балки перекрытия шпренгелем Усиление балки перекрытия шпренгельной затяжкой Усиление железобетонной балки монолитного перекрытия дополнительной предварительно-напряженной комбинированной затяжкой Усиление железобетонной балки перекрытия преднапряженной арматурой Усиление балки перекрытия дополнительной жесткой опорой Усиление рамы дополнительными связями Усиление железобетонной балки с помощью подведенной металлической стойки Усиление балки перекрытия жесткими опорами Усиление деформационных швов коротких консолей балок перекрытий металлическими подвесными балками Усиление длинных консолей балок перекрытий тяжами Усиление балок перекрытия на восприятие поперечных сил Усиление верхней зоны подкрановой балки Усиление подкрановых балок на восприятие поперечных сил Усиление креплений подкрановой балки к колонне Усиление подкрановой балки с помощью стальных консолей и обойм Усиление подкрановой балки и ее опирания на колонны Восстановление железобетонных колонн местными обоймами Восстановление железобетонных колонн сплошными обоймами Восстановление железобетонных колонн, имеющих остаточное отклонение, сплошными обоймами Восстановление сильно поврежденных железобетонных колонн обоймами Усиление железобетонных колонн набетонкой Восстановление железобетонных колонн сплошными металлическими корсетами Усиление железобетонной колонны металлическими стойками Усиление железобетонных колонн деревянными стойками Усиление железобетонной колонны стальными листами полукруглой формы (патент Японии N 53-43259) Усиление железобетонных колонн стальными профилями (патент Японии N 53-42986) Усиление железобетонной колонны с помощью металлических ободов и проволочной сетки (патент Японии N 57-8263) Усиление железобетонной колонны с помощью железобетонных элементов и напрягаемой арматуры (патент Японии N 46-37490) Усиление железобетонных колонн с помощью проволочного троса (патент Японии N 51-132157) Усиление колонны предварительно-напряженной односторонней металлической распоркой Усиление железобетонной колонны двухсторонними преднапряженными распорками Восстановление консолей железобетонных колонн с помощью обойм Усиление консолей колонн с помощью наклонных горизонтальных тяжей Усиление консолей колонн комбинированной зятяжкой Усиление надкрановой части железобетонной колонны преднапряженными затяжками (а.с. СССР N 93 1905) Усиление стыкового соединения стенового блока с колонной фахверка II. Усиление и восстановление стальных конструкций Общая часть Усиление подведением новых конструкций и элементов Усиление постановкой дополнительных связей, ребер, диафрагм и распорок Усиление соединений элементов Усиление сечений элементов Усиление изменением конструктивной схемы Усиление увеличением пространственной жесткости Усиление решения по защите металлоконструкций от воздействия огня Усиление верхнего пояса металлической фермы Усиление нижнего пояса металлической фермы Усиление раскосов и стоек металлической фермы Усиление деформированного элемента верхнего пояса фермы шпренгелями Усиление фермы устройством несущей конструкции фонаря Усиление фермы покрытия шарнирно-стержневой цепью Усиление металлических вспомогательных балок и прогонов Усиление металлических главных балок перекрытий постановкой ребер жесткости Усиление металлических главных балок перекрытий накладными полосами Усиление металлических главных балок, получивших сильные повреждения Усиление металлических главных балок, получивших среднюю степень повреждения Усиление балок перекрытия подкосами Усиление решетчатых прогонов перекрытий металлическими стойками Усиление балок перекрытий путем устройства металлических ферм Усиление центрально-сжатых колонн сквозного сечения способом увеличения сечения Усиление центрально-сжатых колонн сплошного сечения способом увеличения сечения Усиление внецентренно-сжатых колонн способом увеличения сечения Усиление колонн с помощью металлических профилей Усиление колонн с помощью металлических профилей и труб Усиление деформированных металлических колонн бетонированием и дополнительными стойками III. Усиление и восстановление каменных и армокаменных конструкций Общая часть Виды повреждений каменных конструкций и способы их устранения Оценка несущей способности каменных конструкций Временное крепление отклонившейся стены с помощью подкосов Усиление торцевой кирпичной стены Создание поперечной связи отклонившихся стен Временное крепление отклонившейся стены Крепление стен с помощью системы тяжей Крепление стен одноэтажных зданий металлическими тяжами Крепление выпучившейся стены металлическими тяжами Крепление стен многоэтажных зданий металлическими тяжами Усиление стен накладными поясами Усиление стен железобетонными балочными поясами (а.с. СССР N 918408) Усиление стен армированной растворной обоймой Крепление стены при пробоине Усиление простенков железобетонными и металлическими сердечниками Усиление поврежденных простенков металлическими обоймами и бандажами Усиление простенков металлическими и железобетонными обоймами Усиление клинчатых и арочных перемычек металлическими профилями Усиление столбов обоймами Восстановление поврежденных кирпичных столбов с помощью стоек Усиление стальными тяжами пересечения стен, ослабленного трещиной или швом IV. Усиление и восстановление фундаментов Общая часть Усиление бутобетонных фундаментов путем укрепления или перекладки Усиление ленточных фундаментов путем расширения подошвы Усиление фундаментов отдельно стоящих опор расширением подошвы Усиление фундамента стаканного типа железобетонной рубашкой с частичным усилением колонны Усиление фундамента стаканного типа наращиванием Усиление ленточных фундаментов при помощи свайно-рамной конструкции Усиление ленточных фундаментов с помощью свайно-рамной конструкции и монолитного железобетонного пояса Усиление фундамента с помощью свай, поперечных балок и железобетонных поясов Усиление фундамента подводкой новых частей Усиление ленточных фундаментов с помощью приливов при внецентренном нагружении и сильно развитом фундаменте Усиление фундамента обжатием бетона усиления и грунта основания (а.с. СССР N 628233) Усиление фундамента методом задавливания Усиление узла крепления фундамента с колонной V. Примеры расчета усилений строительных конструкций А. Расчет усилений железобетонных конструкций Пример расчета усиления железобетонных балок обоймами Расчет балок предварительно-напряженными шпренгелями Пример расчета усиления балки предварительно-напряженными шпренгелями Расчет колонн, усиливаемых железобетонными обоймами и наращиванием Б. Расчет усиления стальных конструкций Расчет усиления стропильных ферм Пример расчета усиления сжатого элемента фермы (верхнего пояса, раскоса, стойки) Пример расчета усиления вспомогательных балок способом увеличения сечения Пример расчета усиления одноветьевой центрально-сжатой стойки двутаврового сечения В. Расчет усиления каменных конструкций Пример расчета усиления центрально-нагруженной кирпичной колонны Пример расчета усиления центрально-нагруженной кирпичной колонны железобетонной обоймой Пример расчета усиления кирпичного простенка стальной обоймой Г. Расчет усиления фундаментов Расчет усиления ленточных фундаментов Расчет фундаментов под отдельно стоящие опоры VI. Техника безопасности при проведении работ по усилению и восстановлению строительных конструкций Использованная литература |
| Разработан: | ЦНИИпромзданий |
| Утверждён: | ЦНИИпромзданий (TsNIIpromzdaniy ) |
| Нормативные ссылки: |
|













































































































































































































































































































































