Скачать Руководство по лабораторным геотехническим исследованиям грунтов. Физико-механические испытанияДата актуализации: 01.01.2021 |
| Статус: | не действует |
| Название рус.: | Руководство по лабораторным геотехническим исследованиям грунтов. Физико-механические испытания |
| Дата добавления в базу: | 01.09.2013 |
| Дата актуализации: | 01.01.2021 |
| Область применения: | Руководство предназначено для инженеров, техников и лаборантов, работающих в стационарных и полевых геотехнических лабораториях институтов и экспедиций Министерства мелиорации и водного хозяйства СССР. |
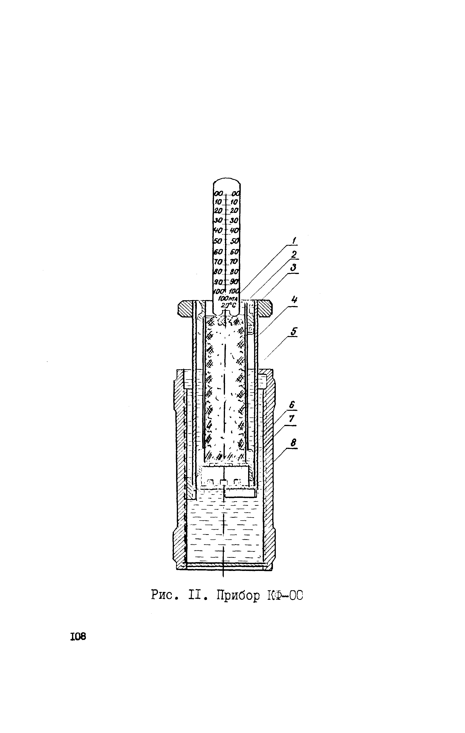
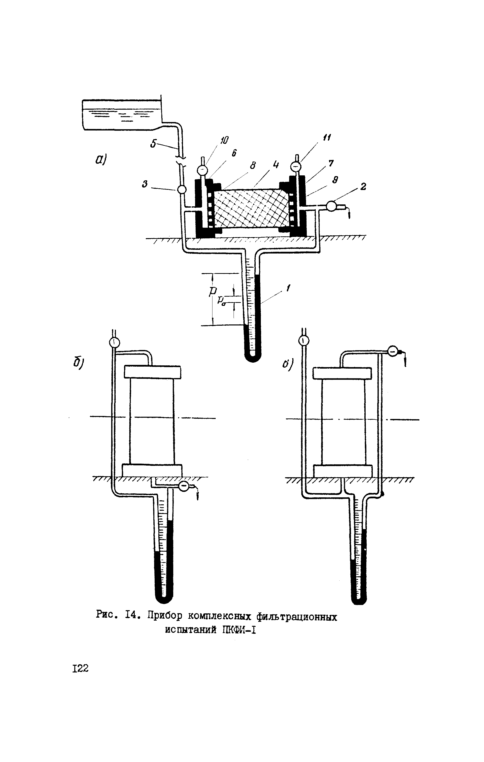
| Оглавление: | Общие положения Глава 1. Требования, предъявляемые к образцам грунтов Глава 2. Форма и содержание ведомостей-заказов Глава 3. Консервация, транспортировка и хранение образцов Глава 4. Подготовка грунтов к лабораторным испытаниям Глава 5. Номенклатура грунтов оснований Раздел II. Глава 1. Гранулометрический анализ грунтов (общие указания) Глава 2. Сито-пипеточный метод гранулометрического анализа глинистых грунтов Глава 3. Ареометрический метод гранулометрического анализа грунтов Глава 4. Гранулометрический анализ песчаных грунтов Глава 5. Гранулометрический состав крупнообломочных грунтов Глава 6. Пластичность и консистенция Глава 7. Ускоренный метод определения числа пластичности, разработанный в Севкавгипроводхозе Глава 8. Станок для определения границы текучести Глава 9. Удельный вес грунта Глава 10. Ускоренный метод определения удельного веса грунтов в керосине Глава 11. Методика определения удельного веса засоленных почвогрунтов на специальной установке Глава 12. Определение удельного веса засоленных грунтов в водной среде Глава 13. Содержание органических веществ в грунте Раздел III. Определение характеристик состояния грунтов Глава 1. Объемный вес связных грунтов Глава 2. Объемный вес несвязных грунтов Глава 3. Объемный вес крупнообломочных грунтов Глава 4. Влажность грунтов (общие положения) Глава 5. Термостатный метод Глава 6. Ускоренный метод определения влажности грунтов Глава 7. Гигроскопическая влажность Глава 8. Пористость и коэффициент пористости Глава 9. Степень плотности песков Глава 10. Степень влажности крупнообломочных и песчаных грунтов Раздел IV. Определение характеристик свойств грунтов Глава 1. Объемный вес песчаных грунтов в рыхлом и плотном сложении Глава 2. Влагоемкость Глава 3. Водоотдача Глава 4. Максимальная плотность и оптимальная влажность грунтов Глава 5. Определение водопроницаемости грунтов Глава 6. Угол естественного откоса Глава 7. Набухание глинистых грунтов Глава 8. Размокание грунтов Глава 9. Усадка грунтов Глава 10. Сжимаемость грунтов (компрессия) Глава 11. Просадочных грунтов Глава 12. Подсчет относительной просадочности при неполном увлажнении лессовой толщи Глава 13. Определение сопротивление грунтов срезу Глава 14. Структурная прочность грунтов Глава 15. Определение коррозионных свойств грунтов Глава 16. Определение удельного сопротивления пенетрации Глава 17. Испытание скальных пород на прочность Глава 18. Определение коэффициента выветрелости Глава 19. Статистическая обработка результатов определения характеристик грунтов Приложения |
| Разработан: | В/О Союзводпроект |
| Утверждён: | Министерство мелиорации и водного хозяйства (Ministry of Irrigation, Drainage, and Water Management ) 02.04.1981 В/О Союзводпроект (76) |
| Заменяет собой: |
|
| Нормативные ссылки: |
|













































































































































































































































































