Скачать ГОСТ Р ИСО 10303-508-2009 Системы автоматизации производства и их интеграция. Представление данных об изделии и обмен этими данными. Часть 508. Прикладные интерпретированные конструкции. Многосвязные поверхностиДата актуализации: 01.01.2021
|
| Обозначение: | ГОСТ Р ИСО 10303-508-2009 |
| Обозначение англ: | GOST R ISO 10303-508-2009 |
| Статус: | введен впервые |
| Название рус.: | Системы автоматизации производства и их интеграция. Представление данных об изделии и обмен этими данными. Часть 508. Прикладные интерпретированные конструкции. Многосвязные поверхности |
| Название англ.: | Industrial automation systems and integration. Product data representation and exchange. Part 508. Application interpreted construct. Non-manifold surface |
| Дата добавления в базу: | 01.09.2013 |
| Дата актуализации: | 01.01.2021 |
| Дата введения: | 01.07.2010 |
| Область применения: | Стандарт определяет интерпретацию интегрированных ресурсов, обеспечивающую соответствие требованиям к представлению геометрических форм посредством моделей многосвязных поверхностей. Требования стандарта распространяются на: - трехмерные точки; - точки, определенные в параметрическом пространстве кривых или поверхностей; - трехмерные кривые; - кривые, определенные в параметрическом пространстве поверхностей; - элементарные кривые: линию, окружность, эллипс, параболу, гиперболу; - кривые пересечений; - полилинии, состоящие, по крайней мере, из трех точек; - поверхности; - элементарные поверхности: плоскость, цилиндр, конус, тор, сферу; - криволинейные поверхности, полученные вращением или линейной экструзией кривой; - рельефные кривые и поверхности; - обрезание кривых и поверхностей с использованием топологических объектов; - композицию кривых и поверхностей с использованием топологических объектов; - копирование кривых, поверхностей и моделей поверхностей; - трехмерные смещения кривых и поверхностей; - многосвязные объекты. Требования стандарта не распространяются на: - неограниченную геометрию; - самопересекающуюся геометрию; - геометрию в двумерном пространстве декартовых координат; - копирование точек; - топологию без привязки к соответствующей геометрической области. |
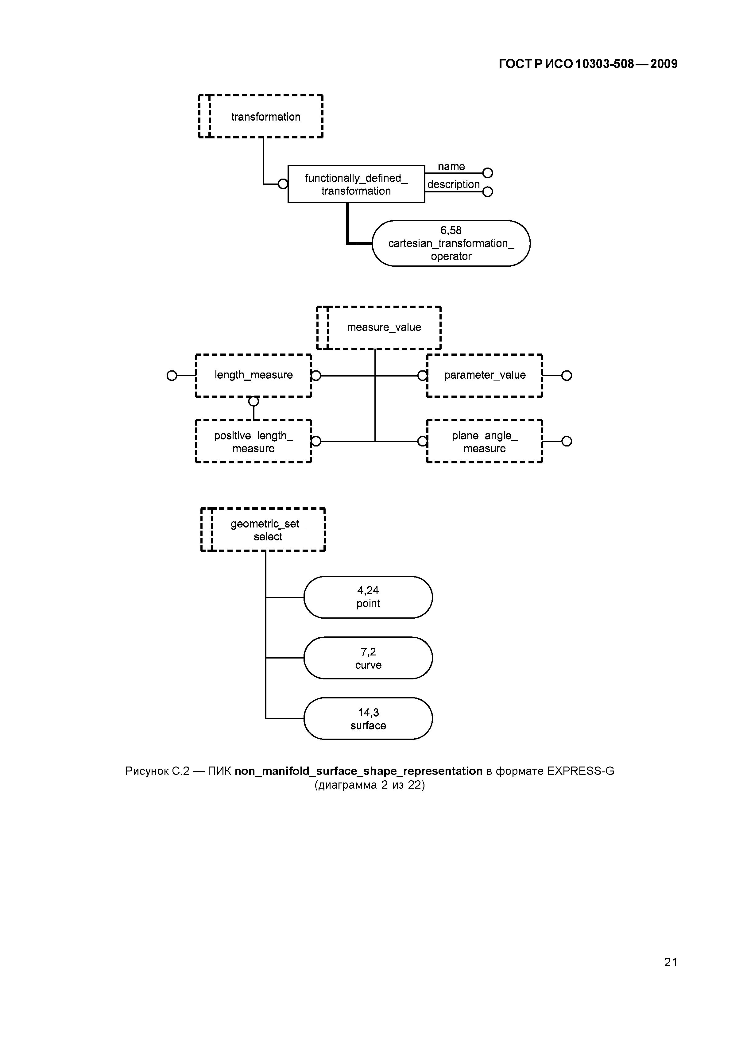
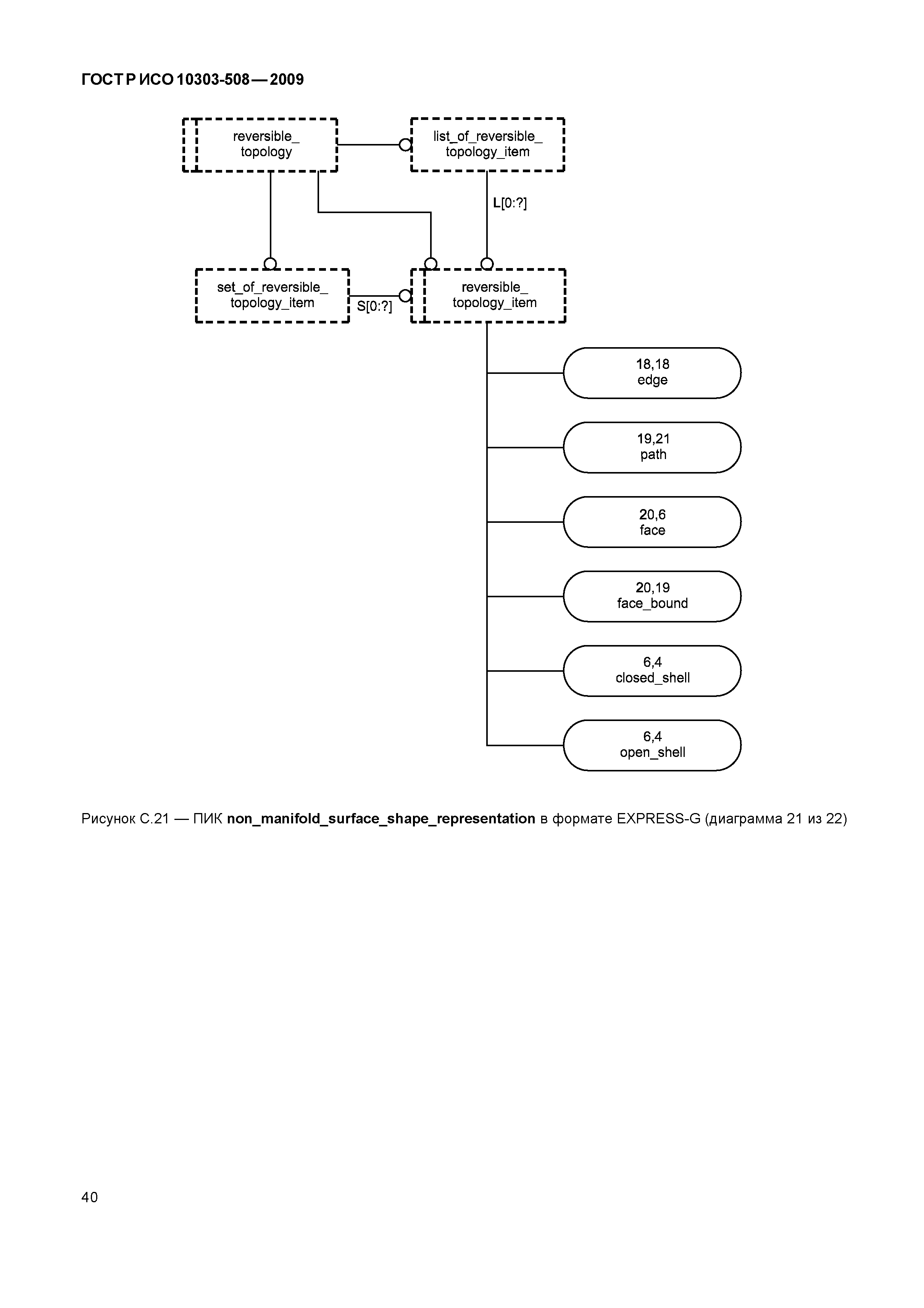
| Оглавление: | 1 Область применения 2 Нормативные ссылки 3 Термины и определения 3.1 Термины, определенные в ИСО 10303-1 3.2 Термины, определенные в ИСО 10303-42 3.3 Термин, определенный в ИСО 10303-202 3.4 Термины, определенные в ИСО 10303-511 3.5 Другие термины и определения 4 Сокращенный листинг на языке ЕХРRЕSS 4.1 Основные понятия и допущения 4.2 Определение объекта non_mаnifоld_surfасе_shаре_rерrеsеntаtion схемы аiс_nоn_mаnifоld_surfасе 4.3 Определение функций схемы аiс_nоn_mаnifоld_surfасе 4.3.1 Функция nmsf_curve_check. 4.3.2 Функция nmsf_surfасе_check Приложение А (обязательное) Сокращенное наименование объекта. Приложение В (обязательное) Регистрация информационного объекта Приложение С (справочное) ЕХРRЕSS-G диаграммы Приложение D (справочное) Машинно-интерпретируемые листинги Приложение ДА (справочное) Сведения о соответствии ссылочных международных стандартов ссылочным национальным стандартам Российской Федерации |
| Разработан: | ГНУ Центральный научно-исследовательский и опытно-конструкторский институт роботехники и технической кибернетики |
| Утверждён: | 14.09.2009 Федеральное агентство по техническому регулированию и метрологии (362-ст) |
| Издан: | Стандартинформ (2010 г. ) |
| Нормативные ссылки: |
|
















































