Скачать РД 39-136-95 Инструкция по эксплуатации насосно-компрессорных трубДата актуализации: 01.01.2021
|
| Обозначение: | РД 39-136-95 |
| Обозначение англ: | RD 39-136-95 |
| Статус: | действует |
| Название рус.: | Инструкция по эксплуатации насосно-компрессорных труб |
| Дата добавления в базу: | 01.09.2013 |
| Дата актуализации: | 01.01.2021 |
| Дата введения: | 01.07.1995 |
| Область применения: | Инструкция содержит основные технические данные отечественных и зарубежных насосно-компрессорных труб (НКТ) и предназначена для нефтегазодобывающих предприятий, осуществляющих эксплуатацию НКТ. |
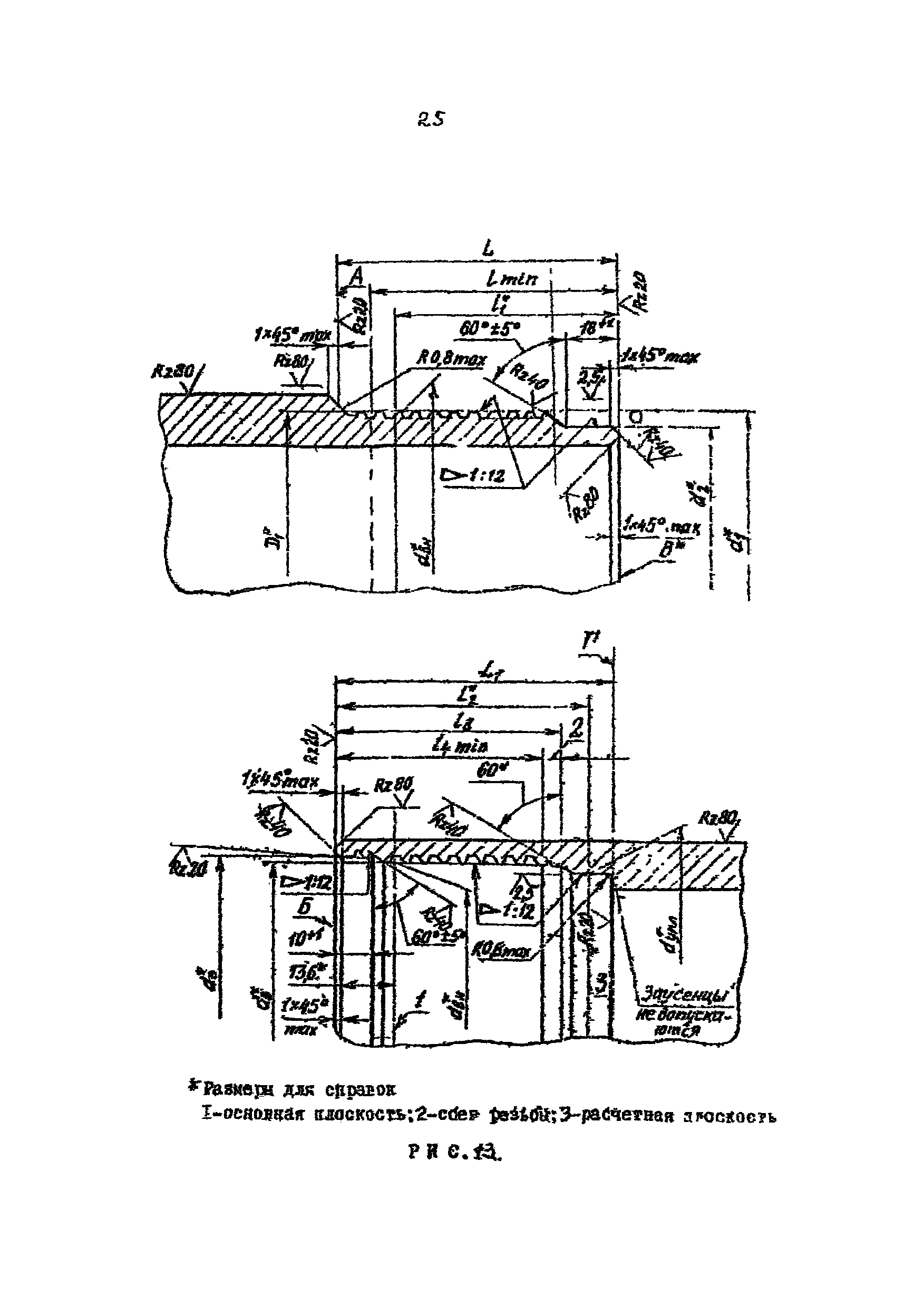
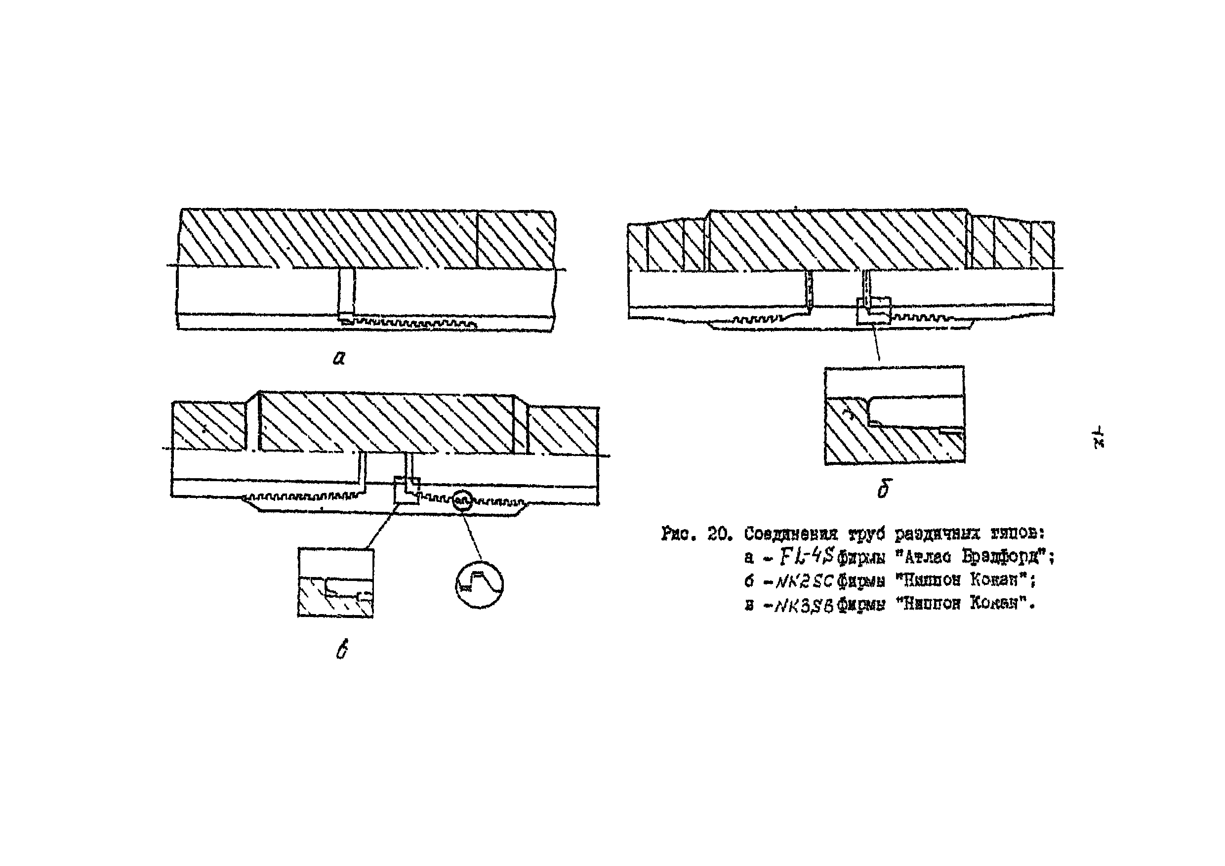
| Оглавление: | 1. Основные технические данные и сортамент насосно-компрессорных труб 1.1 Трубы отечественного производства 1.2 Трубы зарубежного производства (импорт) 2. Правила контроля и приемки 3. Маркировка 4. Условия применения 5. Подготовка к эксплуатации, учет работы и движения парка труб 6. Проведение на скважинах спуско-подъемных операций 7. Причины аварий и рекомендации по их расследованию 8. Разбраковка, ремонт и списание насосно-компрессорных труб 9. Транспортирование и хранение 10. Правила безопасности при погрузке, разгрузке и эксплуатации Приложения 1. Поставщики труб и освоенный сортамент 2. Геометрические размеры и масса отечественных насосно-компрессорных труб 3. Страгивающие и растягивающие нагрузки для насосно-компрессорных труб 4. Внутреннее и наружное давление, при которых напряжение в теле труб достигает предела текучести 5. Испытательные гидравлические давления для насосно-компрессорных труб 6. Предельные глубины спуска одноступенчатой колонны насосно-компрессорных труб отечественного производства 7. Геометрические характеристики насосно-компрессорных труб по стандартам АНИ 8. Предельные глубины спуска одноступенчатой колонны насосно-компрессорных труб, изготовляемых по стандартам АНИ 9. Растягивающие нагрузки, при которых напряжения в резьбовой части соединений труб изготовляемых по стандартам АНИ, достигают предела текучести 10. Давления, при которых напряжения в теле труб достигают предела текучести 11. Моменты свинчивания для зарубежных труб с муфтами, изготовленных по стандарту АНИ 12. Рекомендуемые моменты свинчивания для безмуфтовых труб, изготовленных по стандарту АНИ 13. Основные размеры и масса труб типа VAM фирмы "Валлурек" 14. Основные размеры и масса труб типа ТДS фирмы "Маннесман" 15. Основные размеры и масса труб типа ДSS-НТС, IJ-3SS, IJ-4S фирмы "Атлас Брэдфорд" 16. Основные размеры и масса труб типа ТС-4S фирмы "Атлас Брэдфорд" 17. Основные размеры и масса труб типа FL-4S фирмы "Атлас Брэдфорд 18. Основные размеры и масса труб типа СS фирмы "Хайдрил" 19. Основные размеры и масса труб типа PH-6 фирмы "Хайдрил" 20. Основные размеры и масса труб типа А-95 фирмы "Хайдрил" 21. Растягивающие нагрузки, при которых напряжения в теле трубы достигают предела текучести (трубы с высаженными наружу концами, изготовленными по стандарту АНИ, трубы фирм "Валлурек", "Хайдрил", "Маннесман", "Атлас Брэдфорд" 22. Рекомендуемые моменты свинчивания для соединений типа VAM фирмы "Валлурек" с использованием смазки по стандарту 5А2 АНИ 23. Рекомендуемые моменты свинчивания для соединений ТДS фирмы "Маннесман" 24. Оптимальные моменты свинчивания для соединений типа ДSS-НТС, IJ-3SS, IJ-4S фирмы "Атлас Брэдфорд" 25. Оптимальные моменты свинчивания для соединений типа ТС-4S фирмы "Атлас Брэдфорд" 26. Оптимальные моменты свинчивания для соединений типа FL-4S фирмы "Атлас Брэдфорд" 27. Оптимальные моменты свинчивания для соединений типа А-95, CS, РН-6, РН-4 фирмы "Хайдрил" 28. Основные размеры и масса труб типа NК2SC фирмы "Ниппон Кокан" 29. Основные размеры и масса труб типа NК3SВ фирмы "Ниппон Кокан" 30. Растягивающие нагрузки, при которых напряжения в теле трубы достигают предела текучести, для труб фирмы "Ниппон Кокан" типа NK2SC, NK3SВ 31. Давления, при которых напряжения в теле трубы достигают предела текучести, для труб фирмы "Ниппон Кокан" типа NK2SC, NK3SВ 32. Основные характеристики резьбовых соединений Фокс для насосно-компрессорных труб 33. Паспорт-журнал на скважинный комплект насосно-компрессорных труб 34. Образцы маркировки отечественных и зарубежных насосно-компрессорных труб 35. Перечень нормативно-технической документации по насосно-компрессорным трубам |
| Разработан: | ВНИИТнефть |
| Утверждён: | 15.02.1995 А.О. ВНИИТнефть |
| Принят: | Департамент по науке и технике ВНИИТнефть |
| Заменяет собой: | |
| Нормативные ссылки: |






























































































































































