Скачать ГОСТ 23979-80 Переводники для насосно-компрессорных труб. Технические условияДата актуализации: 01.01.2021
|
| Обозначение: | ГОСТ 23979-80 |
| Обозначение англ: | GOST 23979-80 |
| Статус: | заменен |
| Название рус.: | Переводники для насосно-компрессорных труб. Технические условия |
| Название англ.: | Sub for tubing. Specifications |
| Дата добавления в базу: | 01.09.2013 |
| Дата актуализации: | 01.01.2021 |
| Дата введения: | 01.07.1980 |
| Дата окончания срока действия: | 01.02.2019 |
| Область применения: | Стандарт распространяется на переводники, предназначенные для соединения между собой насосно-компрессорных труб разных диаметров, а также подземного оборудования, имеющего присоединительные концы с резьбой насосно-компрессорных труб, используемого при эксплуатации нефтяных и газовых скважин. |
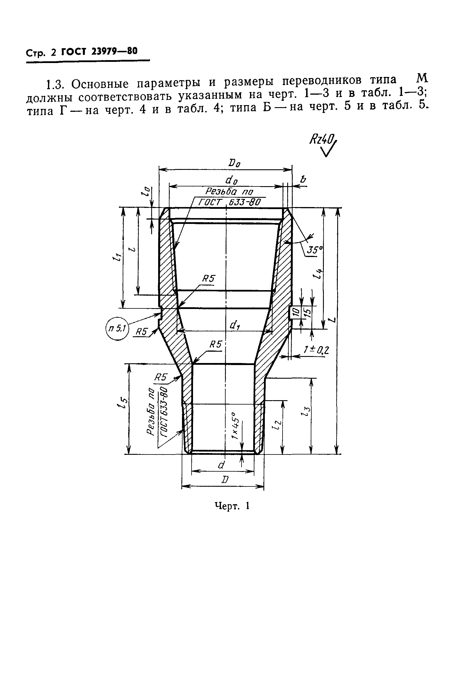
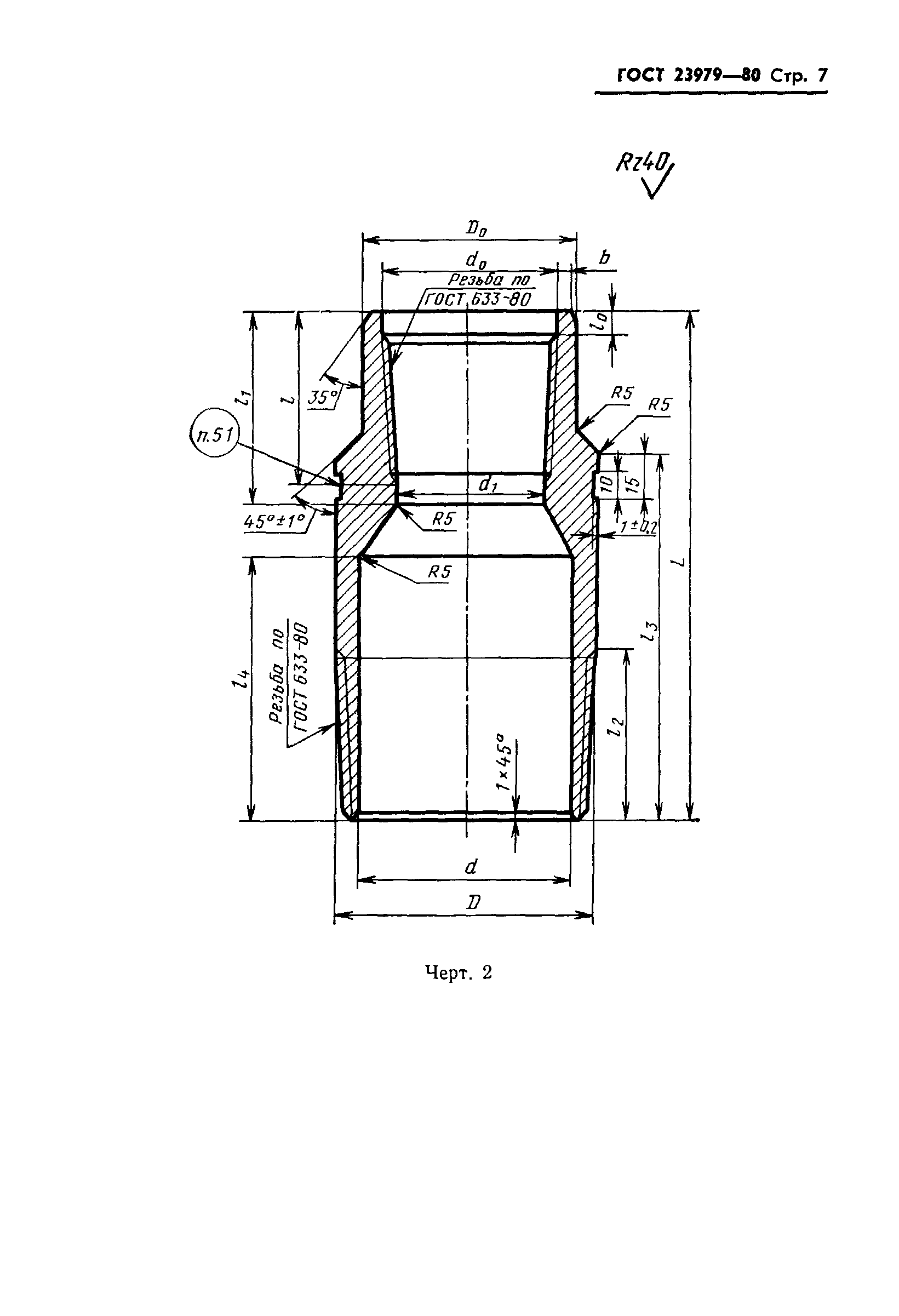
| Оглавление: | 1 Типы, основные параметры и размеры 2 Технические требования 3 Правила приемки 4 Методы испытаний 5 Маркировка, упаковка, транспортирование и хранение 6 Указания по эксплуатации |
| Разработан: | Министерство нефтяной промышленности |
| Утверждён: | 05.02.1980 Государственный комитет СССР по стандартам (USSR National Committee on Standards 555) |
| Издан: | Издательство стандартов (1980 г. ) |
| Список изменений: |
|
| Нормативные ссылки: |
|





















Текстовое изменение № 1 от 01.01.1986
