Скачать ТР 12220-ТИ.2001 Теплоизоляционные изделия URSA в конструкциях тепловой изоляции промышленного оборудования. Рекомендации по применению с альбомом технических решенийДата актуализации: 01.01.2021
|
| Обозначение: | ТР 12220-ТИ.2001 |
| Обозначение англ: | TR 12220-ТИ.2001 |
| Статус: | действует |
| Название рус.: | Теплоизоляционные изделия URSA в конструкциях тепловой изоляции промышленного оборудования. Рекомендации по применению с альбомом технических решений |
| Дата добавления в базу: | 01.09.2013 |
| Дата актуализации: | 01.01.2021 |
| Область применения: | Теплоизоляционные изделия из стеклянного штапельного волокна URSA предназначены для использования в промышленной тепловой изоляции при температуре изолируемых поверхностей от минус 60 °С до плюс 320 °С а также для утепления строительных конструкций жилых, общественных и производственных зданий. |
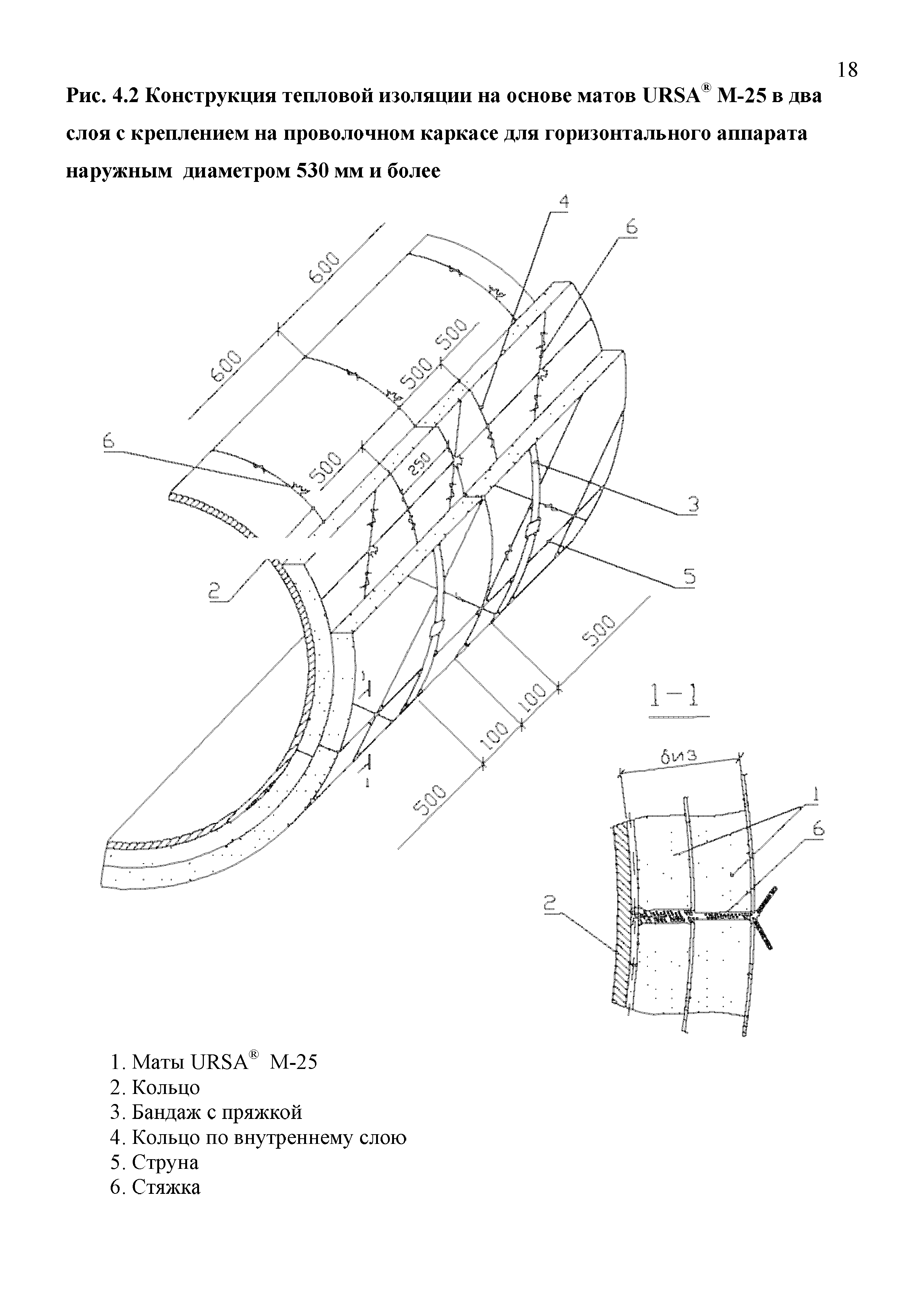
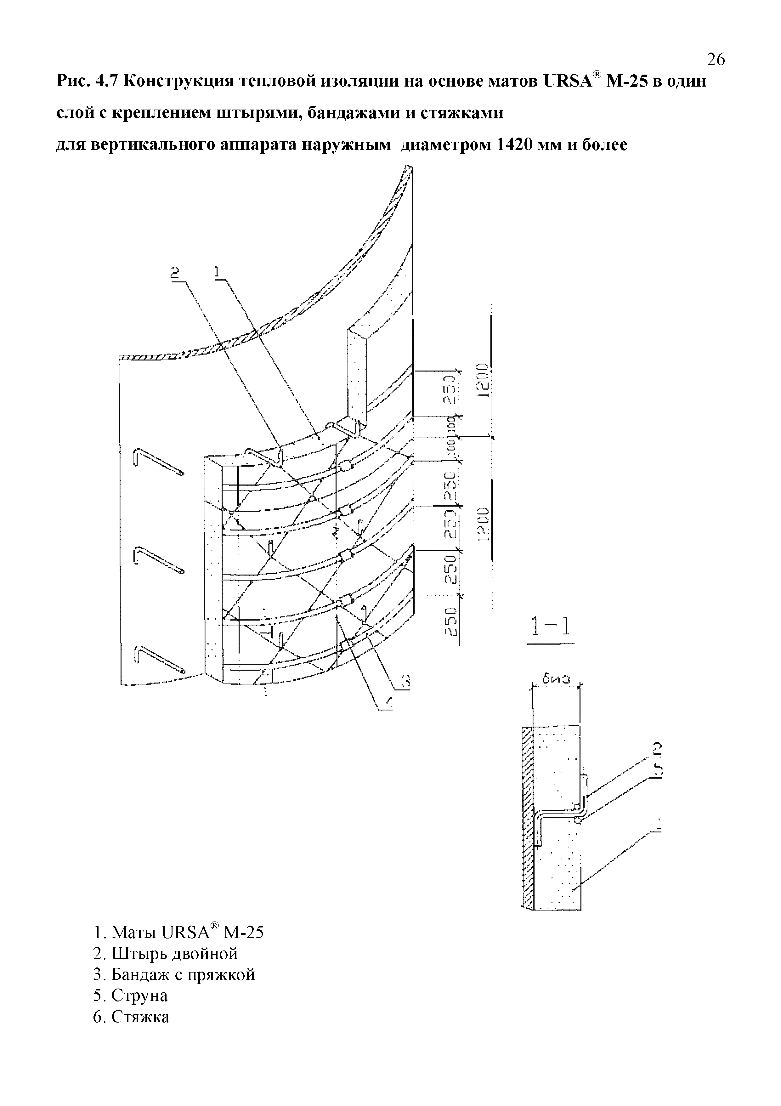
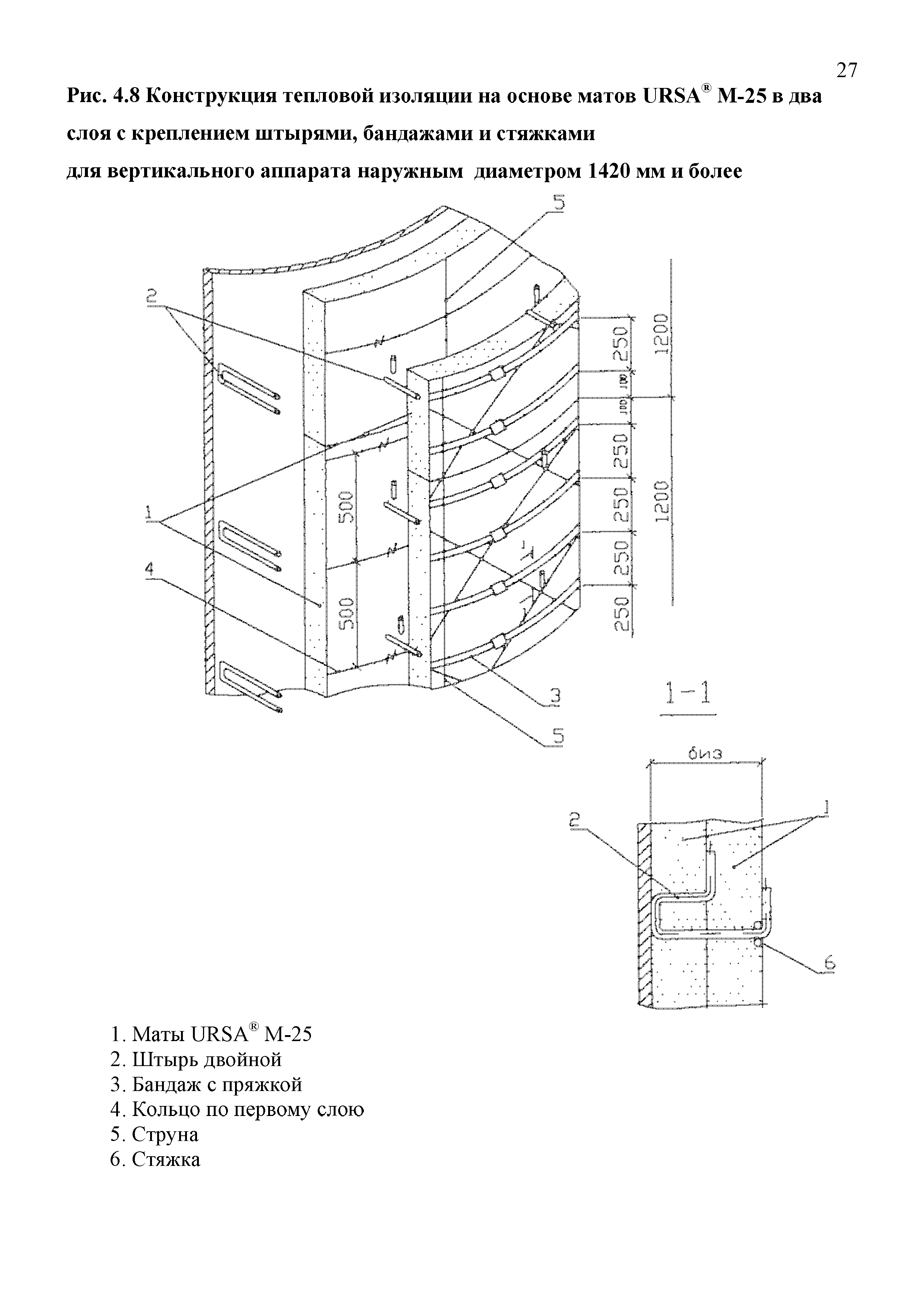
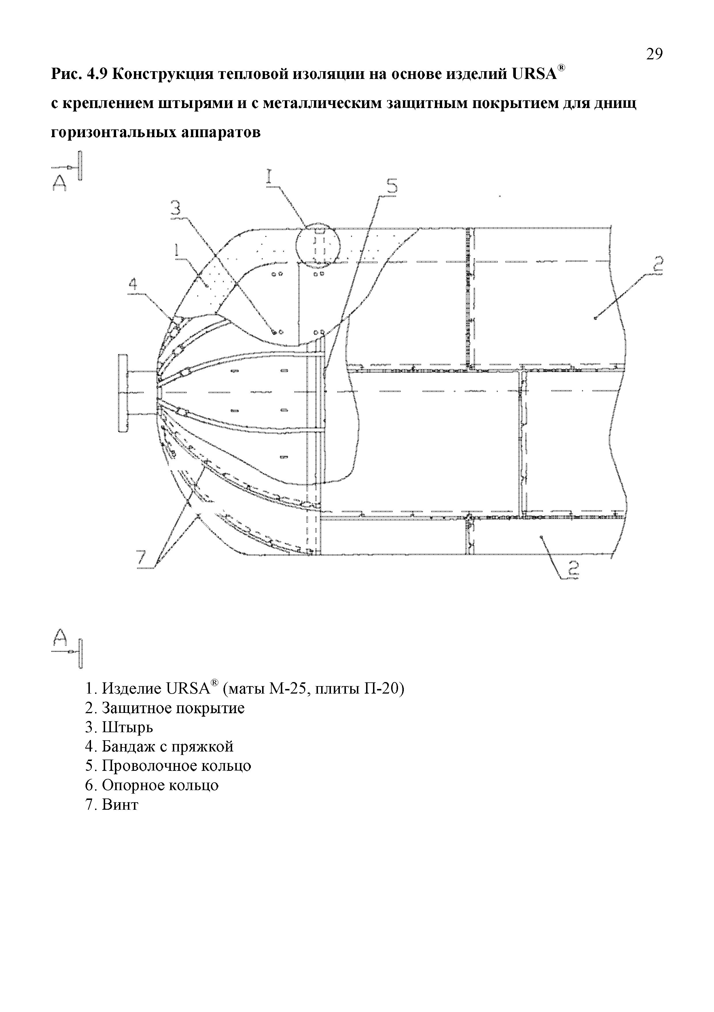
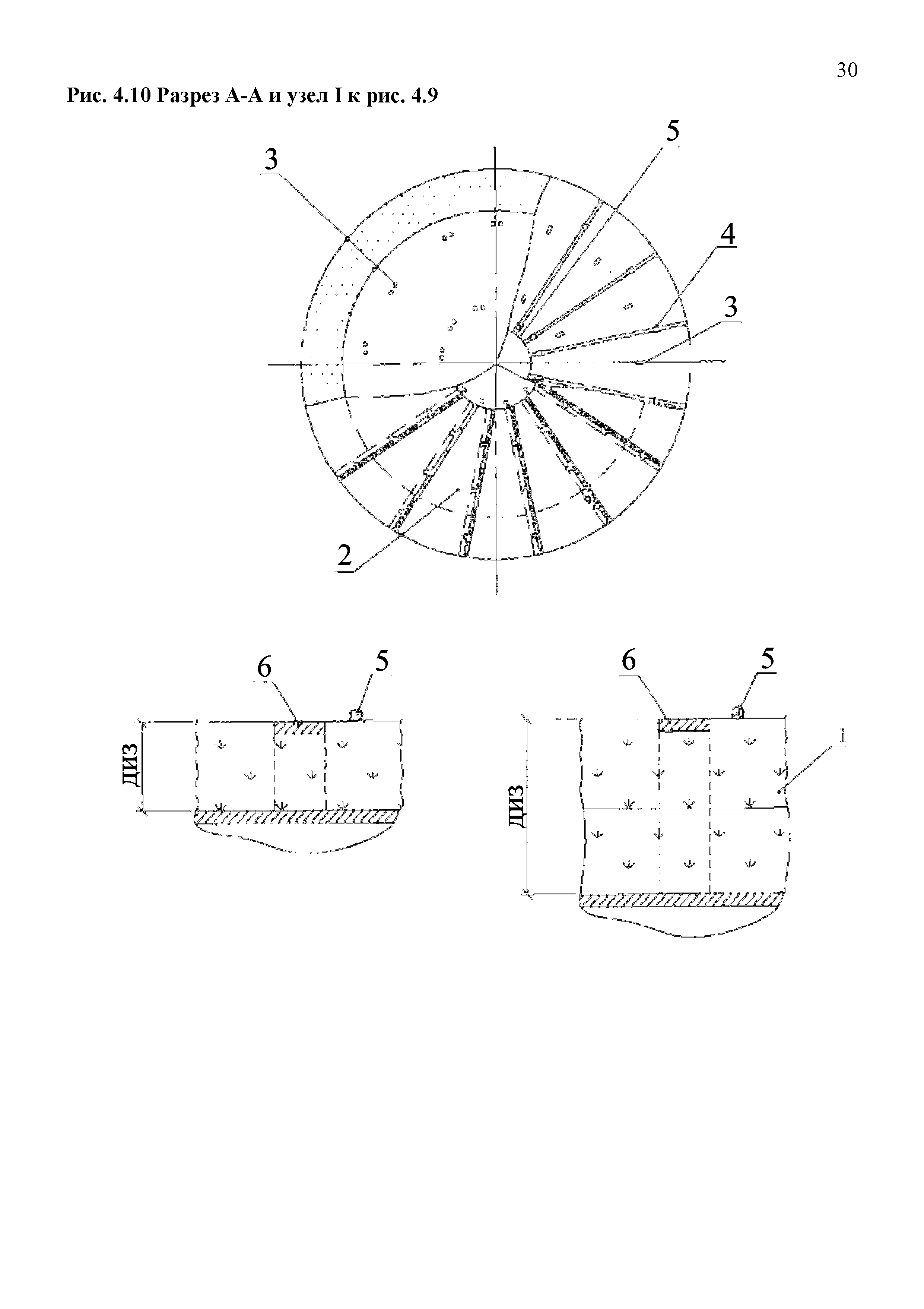
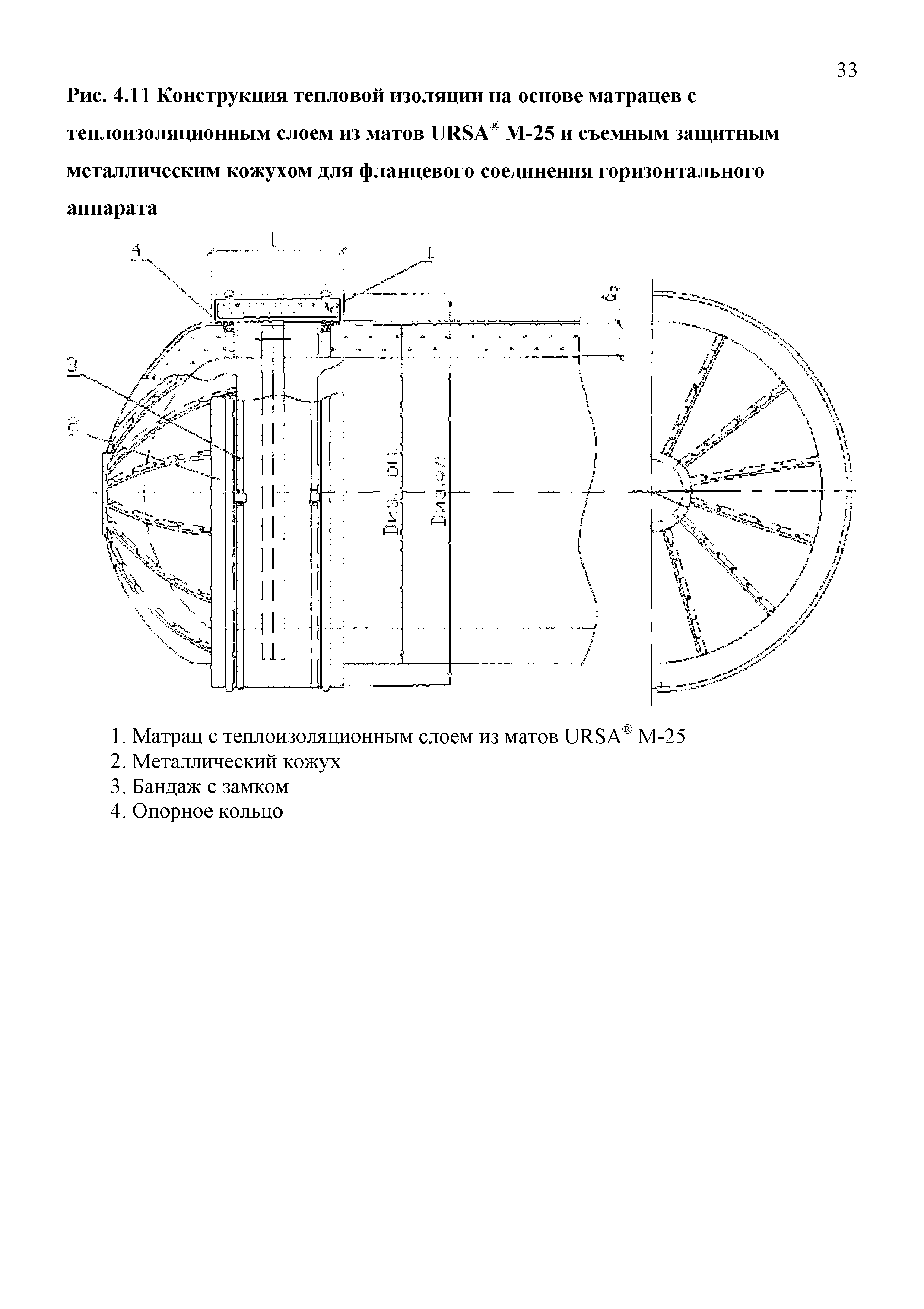
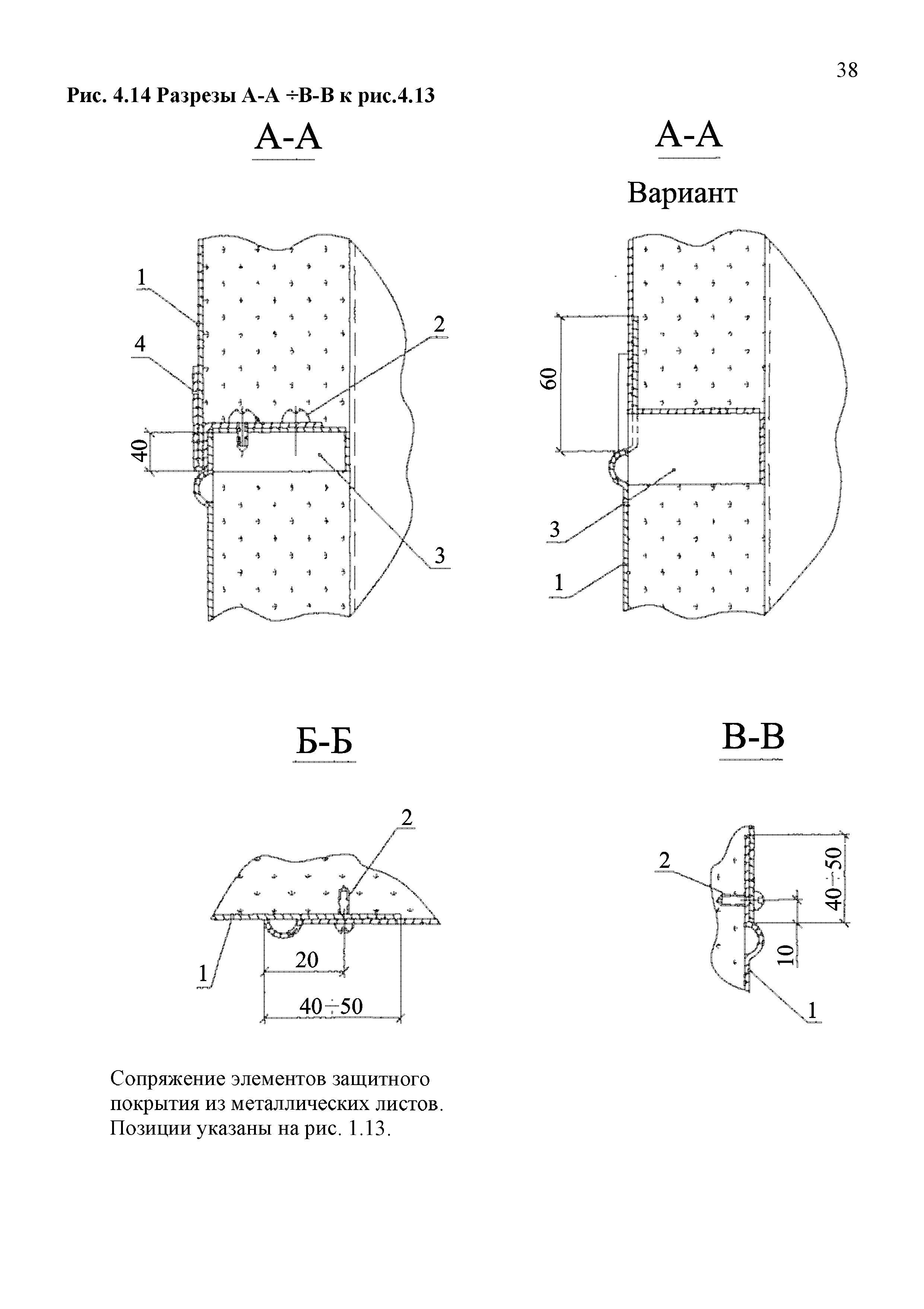
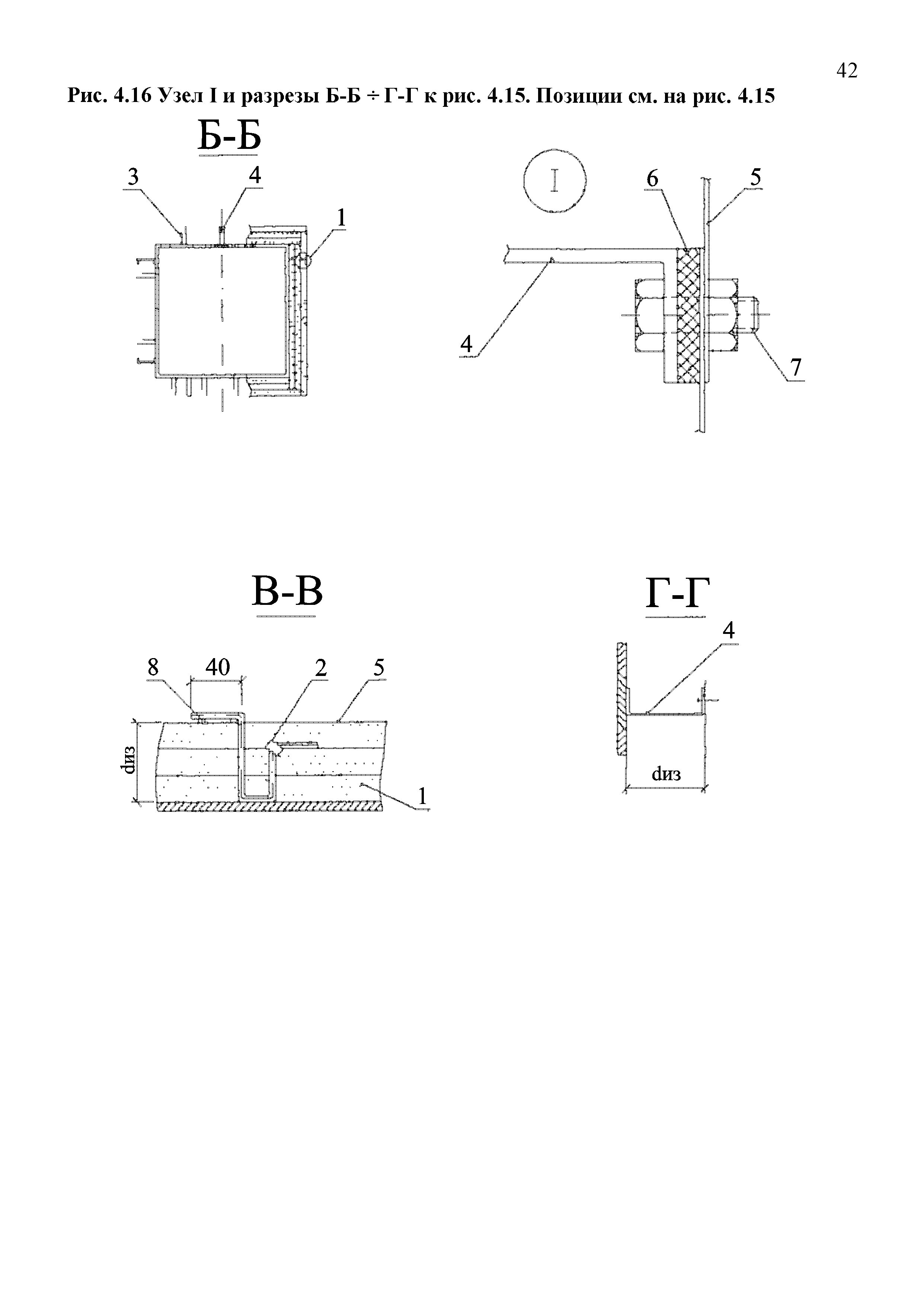
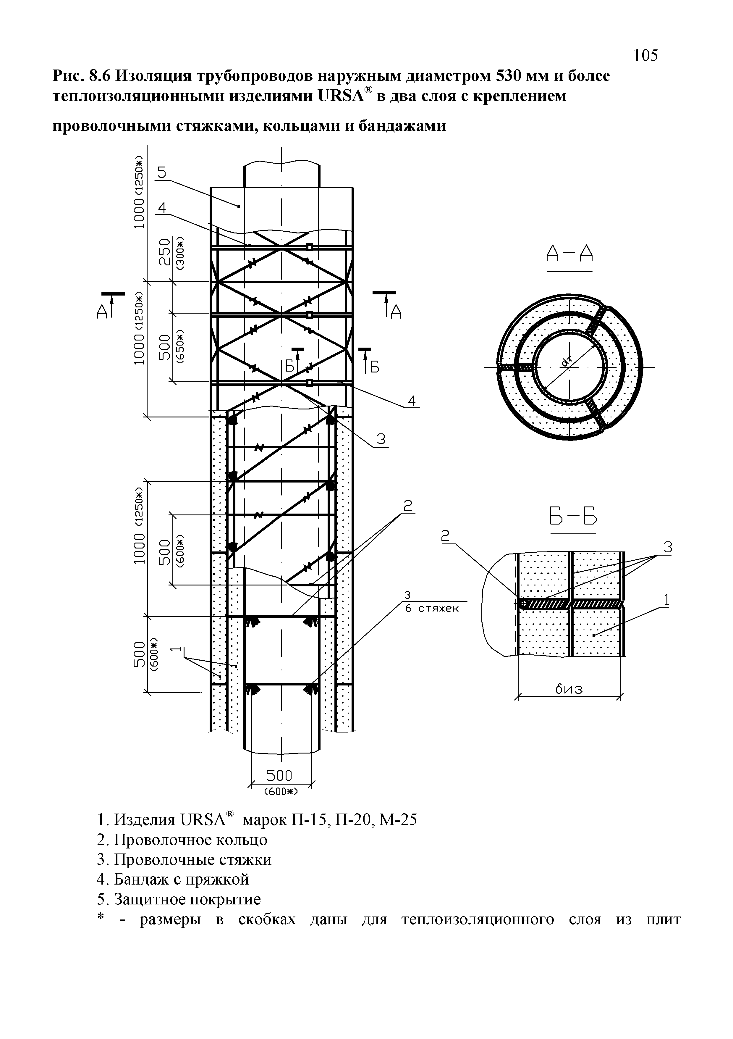
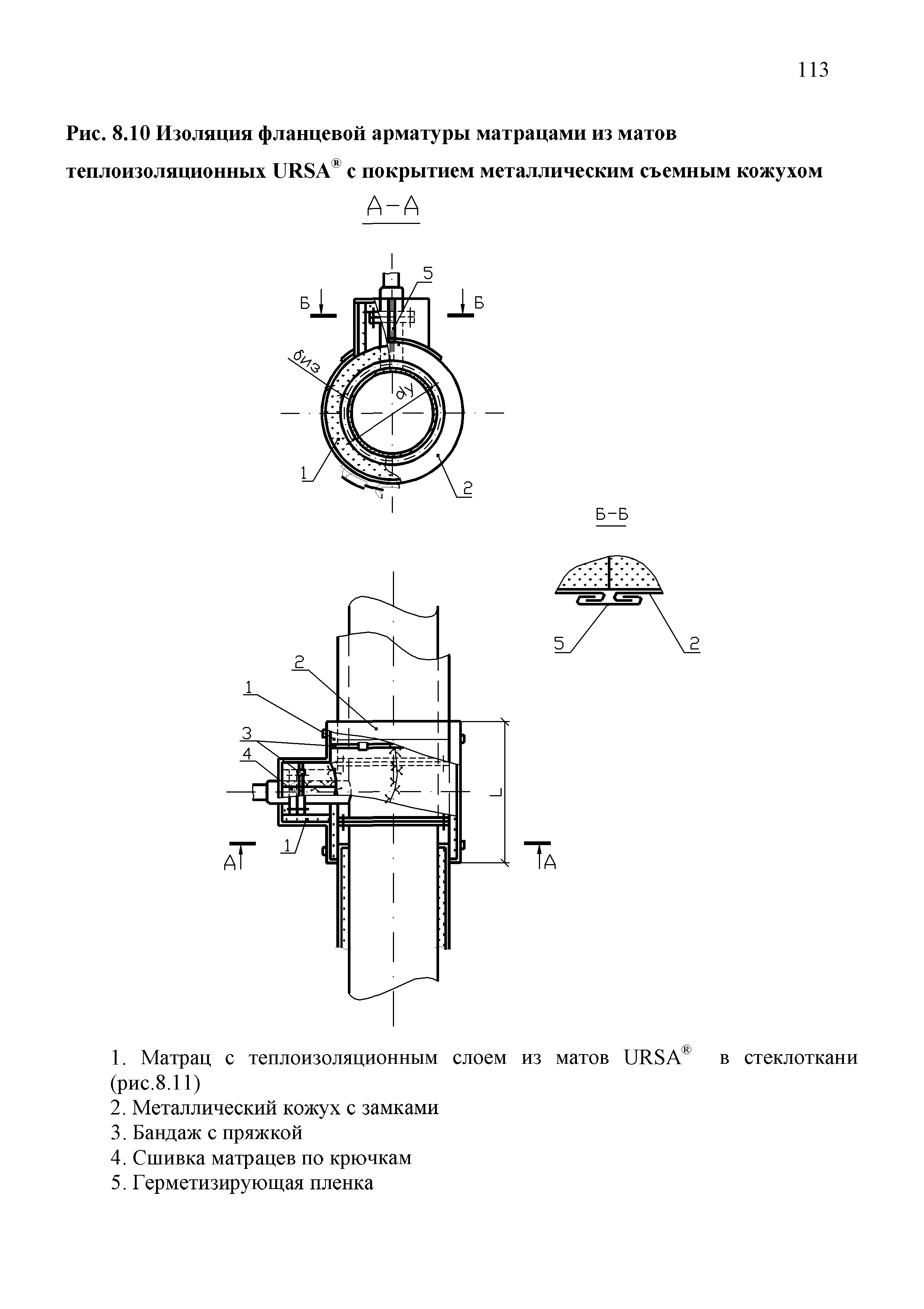
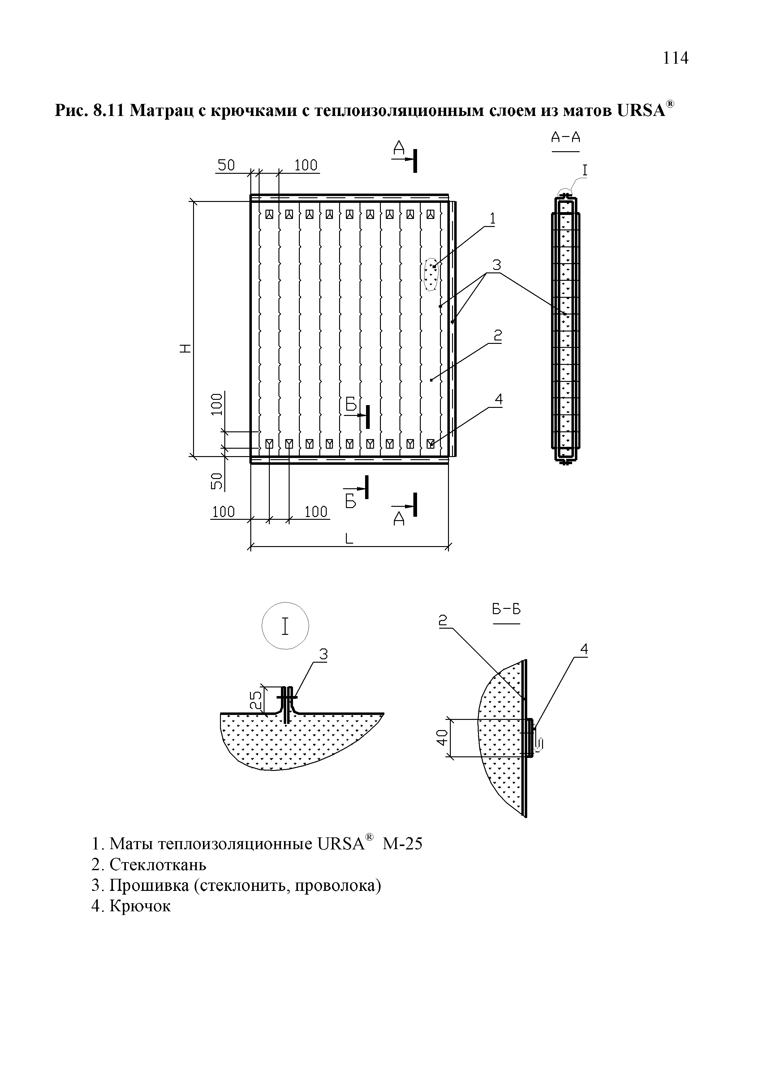
| Оглавление: | Введение 1 Область применения теплоизоляционных изделий URSA 2 Номенклатура и физико-технические характеристики изделий URSA 3 Технические требования к теплоизоляционным материалам в конструкциях тепловой изоляции промышленного оборудования 4 Конструктивные решения тепловой изоляции оборудования на основе теплоизляционных изделий URSA 4.1. Тепловая изоляция цилиндрических технологических аппаратов диаметром 530 мм и более 4.2. Тепловая изоляция газоходов и воздуховодов прямоугольного сечения 4.3. Тепловая изоляция резервуаров для хранения нефти и нефтепродуктов 4.4. Тепловая изоляция резервуаров для хранения холодной воды в системах водоснабжения и пожаротушения 4.5. Рекомендованные покровные материалы при изоляции матами и плитами URSA 5 Расчетные характеристики теплоизоляционных конструкций на основе теплоизоляционных изделий URSA 5.1. Тепловая изоляция с целью обеспечения заданной плотности теплового потока с поверхности изолированного объекта 5.2. Тепловая изоляция с целью обеспечения заданной температуры на поверхности изоляции 5.3. Тепловая изоляция с целью предотвращения конденсации влаги на поверхности изоляции 6 Расход теплоизоляционных изделий URSA на изоляцию 1 м длины цилиндрического аппарата или 1 м2 плоской поверхности 7 Рекомендации по применению теплоизоляционных изделий URSA в конструкциях тепловой изоляции трубопроводов 8 Конструктивные решения тепловой изоляции трубопроводов, арматуры и фланцевых соединений на основе теплоизоляционных изделий URSA 8.1. Теплоизоляционные изделия URSA в конструкциях тепловой изоляции трубопроводов 8.2. Конструкции тепловой изоляции на основе теплоизоляционных матов URSA для арматуры и фланцевых соединений трубопроводов 9 Расчетные характеристики теплоизоляционных конструкций на основе теплоизоляционных изделий URSA 9.1. Тепловая изоляция с целью обеспечения заданной плотности теплового потока с поверхности изолированного объекта 9.2. Тепловая изоляция с целью обеспечения заданной температуры на поверхности изоляции 9.3. Тепловая изоляция с целью предотвращения конденсации влаги на поверхности изоляции 9.4. Тепловая изоляция трубопроводов с целью предотвращения замерзания содержащейся в них жидкости 9.5. Тепловая изоляция трубопроводов водяных тепловых сетей двухтрубной подземной канальной прокладки 10 Расход теплоизоляционных изделий при изоляции трубопроводов |
| Утверждён: | 01.01.2001 АО Теплопроект (Teploproject AO ) |
| Нормативные ссылки: |
|





















































































































































