Скачать Рекомендации по повышению эффективности отопления лестничных клеток многоэтажных жилых зданий

Дата актуализации: 01.01.2021

Рекомендации по повышению эффективности отопления лестничных клеток многоэтажных жилых зданий

Статус:действует
Название рус.:Рекомендации по повышению эффективности отопления лестничных клеток многоэтажных жилых зданий
Дата добавления в базу:01.09.2013
Дата актуализации:01.01.2021
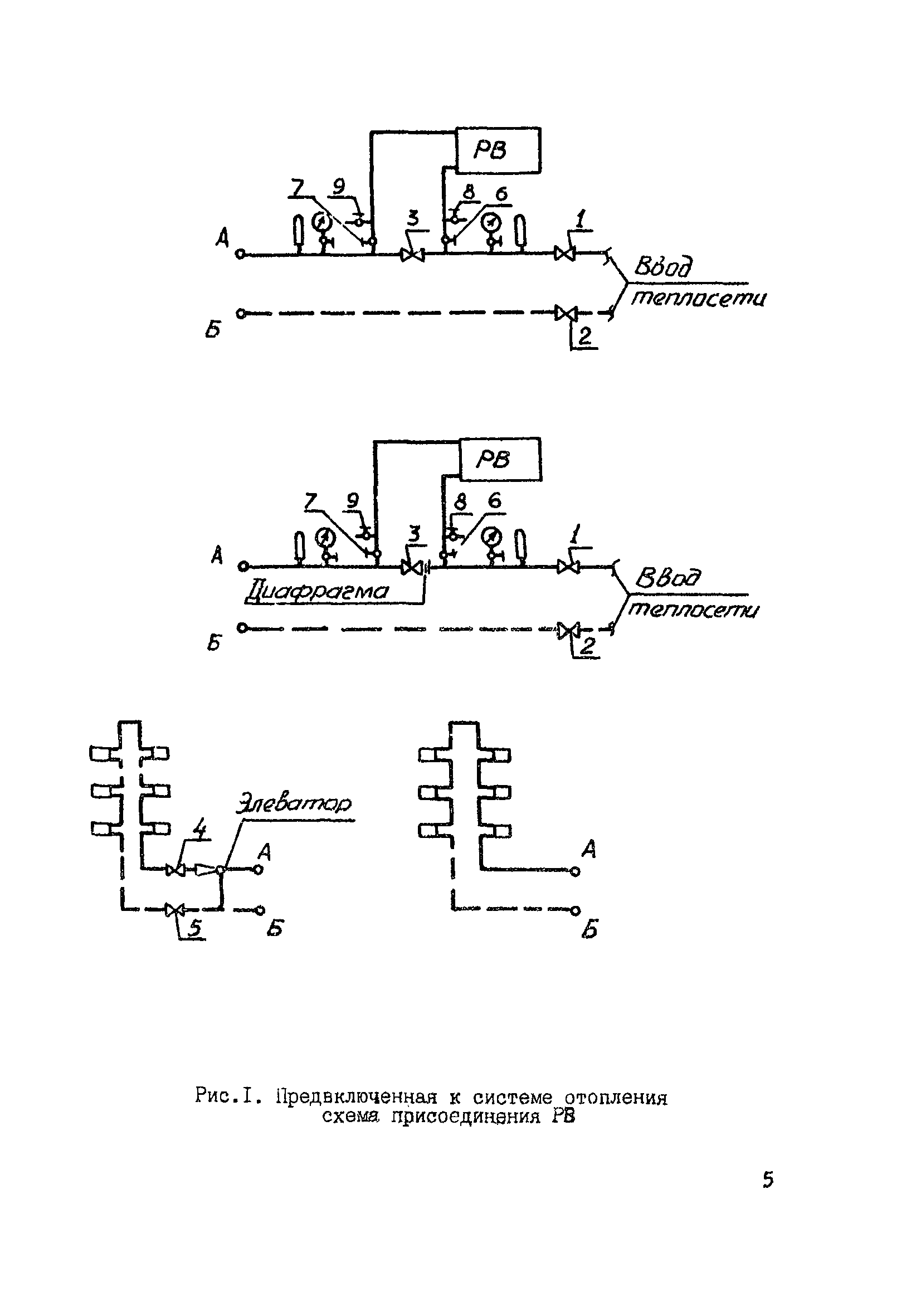
Область применения:В рекомендациях даны указания по повышению надежности и эффективности действия, выбору схем присоединения, расчету рециркуляционных воздухонагревателей, а также указания по монтажу и эксплуатации отопительных установок лестничных клеток в эксплуатируемых и вновь строящихся многоэтажных зданиях.
Оглавление:1. Общие положения
2. Расчет теплопотерь лестничных клеток
3. Расчет РВ с нагревательным элементом из чугунных ребристых труб
4. Расчет РВ с нагревательным элементом из секций калориферов
5. Схемы присоединения РВ к системе теплоснабжения
6. Реконструкция существующих систем отопления лестничных клеток
7. Указания по монтажу РВ
8. Указания по эксплуатации
Разработан: Академия коммунального хозяйства им. К.Д. Памфилова
Утверждён:15.01.1980 Министерство жилищно-коммунального хозяйства РСФСР (22)
Нормативные ссылки: