Скачать Рекомендации по расчету несущей способности мерзлых оснований фундаментов с учетом понижения их температуры в процессе строительства и эксплуатацииДата актуализации: 01.01.2021 |
| Статус: | не действует |
| Название рус.: | Рекомендации по расчету несущей способности мерзлых оснований фундаментов с учетом понижения их температуры в процессе строительства и эксплуатации |
| Дата добавления в базу: | 01.09.2013 |
| Дата актуализации: | 01.01.2021 |
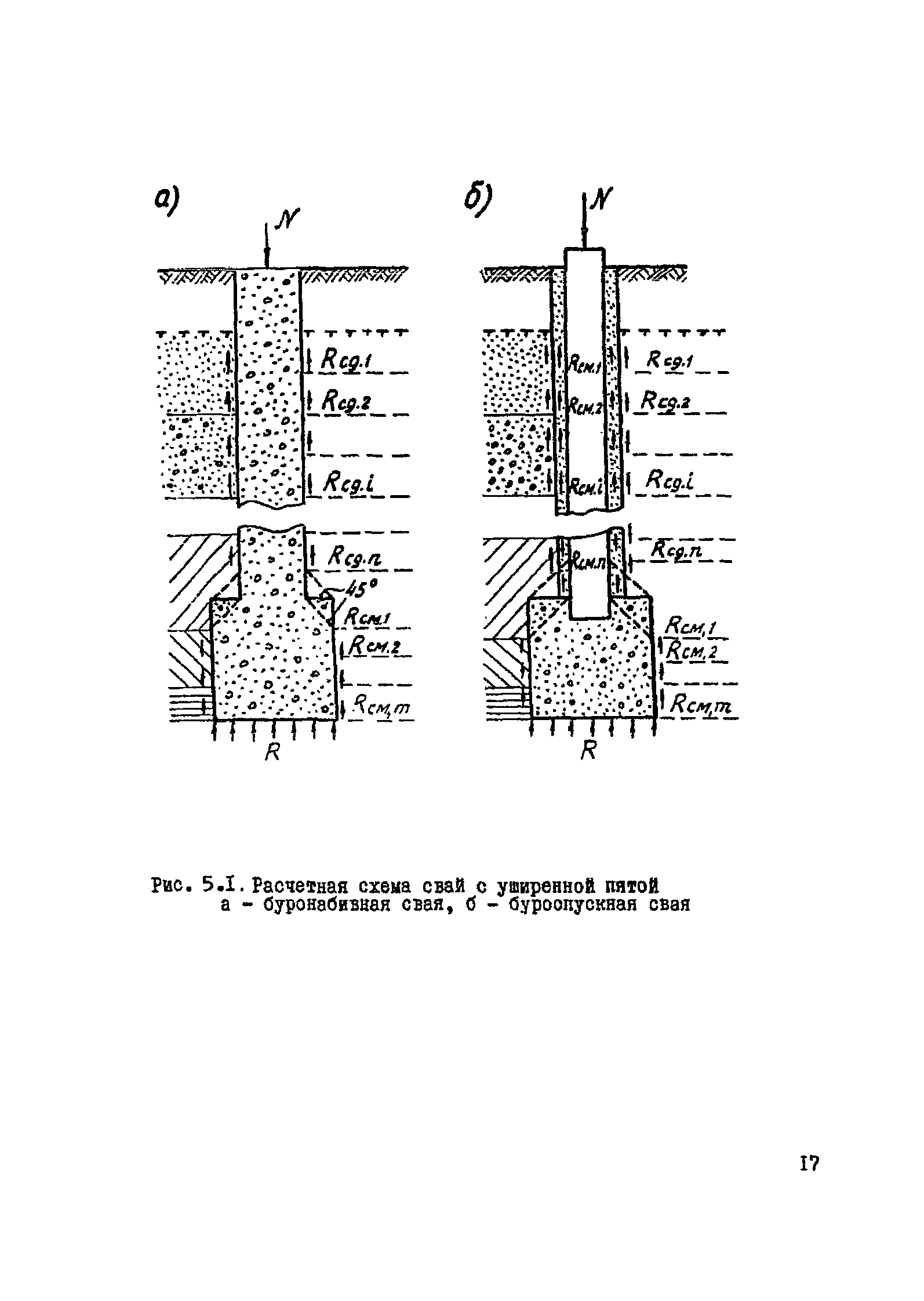
| Область применения: | В Рекомендациях обобщен опыт применения гидроструйной технологии при устройстве свайных фундаментов в сложных мерзлотно—грунтовых условиях, а также данные испытания свей с уширенной пятой в вечномерзлых грунтах. |
| Оглавление: | Введение 1. Общие положения 2. Технология проходки скважин под сваи 3. Устройство свай с уширенной пятой 4. Организация работ и техника безопасности 5. Расчет оснований свайных фундаментов с уширенной пятой Приложение 1. Перечень комплекта оборудования для производства работ по гидроструйной технологии Приложение 2. Общее устройство гидроструйной установки Приложение 3. Конструкция и изготовление узлов и деталей навесного оборудования |
| Разработан: | НИИОСП им. Н.М. Герсеванова Госстроя СССР |
| Утверждён: | НИИОСП им. Н.М. Герсеванова Госстроя СССР (Gersevanov NIIOSP, USSR Gosstroy ) |
| Нормативные ссылки: |
|





































