Скачать Рекомендации по устройству оснований и фундаментов в лессовых грунтах с применением аммиачных композиций и барьерного закрепленияДата актуализации: 01.01.2021 |
| Статус: | введен впервые |
| Название рус.: | Рекомендации по устройству оснований и фундаментов в лессовых грунтах с применением аммиачных композиций и барьерного закрепления |
| Дата добавления в базу: | 01.09.2013 |
| Дата актуализации: | 01.01.2021 |
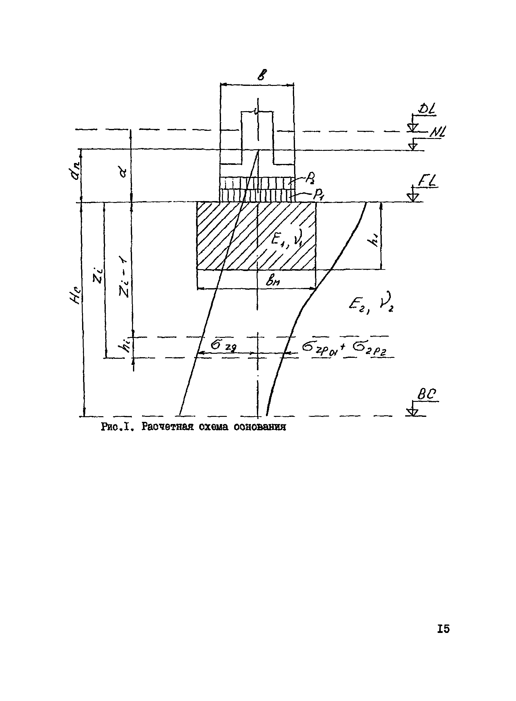
| Область применения: | Рекомендации распространяются на проектирование и производство работ по устройству оснований и фундаментов в лессовых грунтах с применением аммиачных композиций и барьерного закрепления. С широким распространением лессовык грунтов. Рекомендации со— держат сведения, касающиеся проектирования, специальных лабораторных и полевых испытаний грунтов, производства и контроля качества работ, материалов и оборудования, а также правил по технике безопасности. Применение в фундаментостроении разработанной технологии позволит упростить и снизить стоимость устройства оснований из этих грунтов. |
| Оглавление: | 1. Общие положения 2. Область применения аммиачных композиций и барьерного закрепления 3. Инженерно-геологические изыскания 4. Специальные лабораторные исследования 5. Полевые опытные работы 6. Проектирование 7. Оборудование 8. Материалы 9. Производство работ 10. Контроль качества 11. Документация 12. Требования по технике безопасности при химической стабилизации (закреплении) грунтов Пример закрепления |
| Разработан: | ВНИИОСП им. Н.М. Герсеванова Трест Одесгражданстрой Минстроя УССР ВСНО Гидроспрецстроя Минэнерго СССР |
| Утверждён: | ВНИИОСП имени Н.М. Герсеванова |
| Нормативные ссылки: |
|

















































































