Скачать Рекомендации по отделке поверхностей свежеотформованных железобетонных изделийДата актуализации: 01.01.2021 |
| Статус: | справочные материалы, мп, тпр |
| Название рус.: | Рекомендации по отделке поверхностей свежеотформованных железобетонных изделий |
| Дата добавления в базу: | 01.09.2013 |
| Дата актуализации: | 01.01.2021 |
| Область применения: | В Рекомендациях приведены методы отделки свежеотформованных изделий, принципиальные схемы и технические характеристики отделочных машин и оборудования, методы контроля качества отделки, данные по технике безопасности и охране труда при выполнении отделочных работ. Предназначены для инженерно-технических работников лабораторий заводов железобетонных изделий, проектных и научно-исследовательских организаций. |
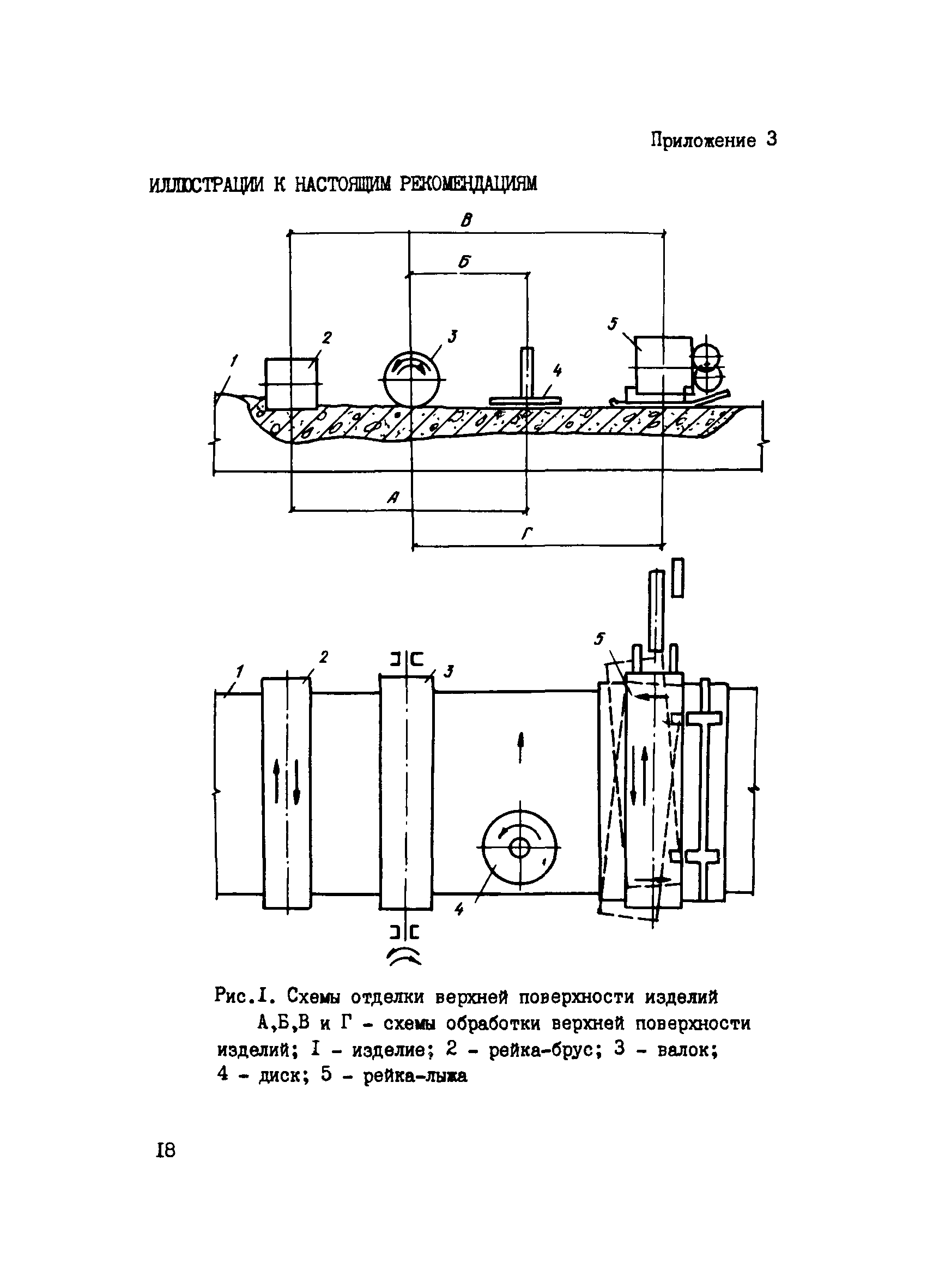
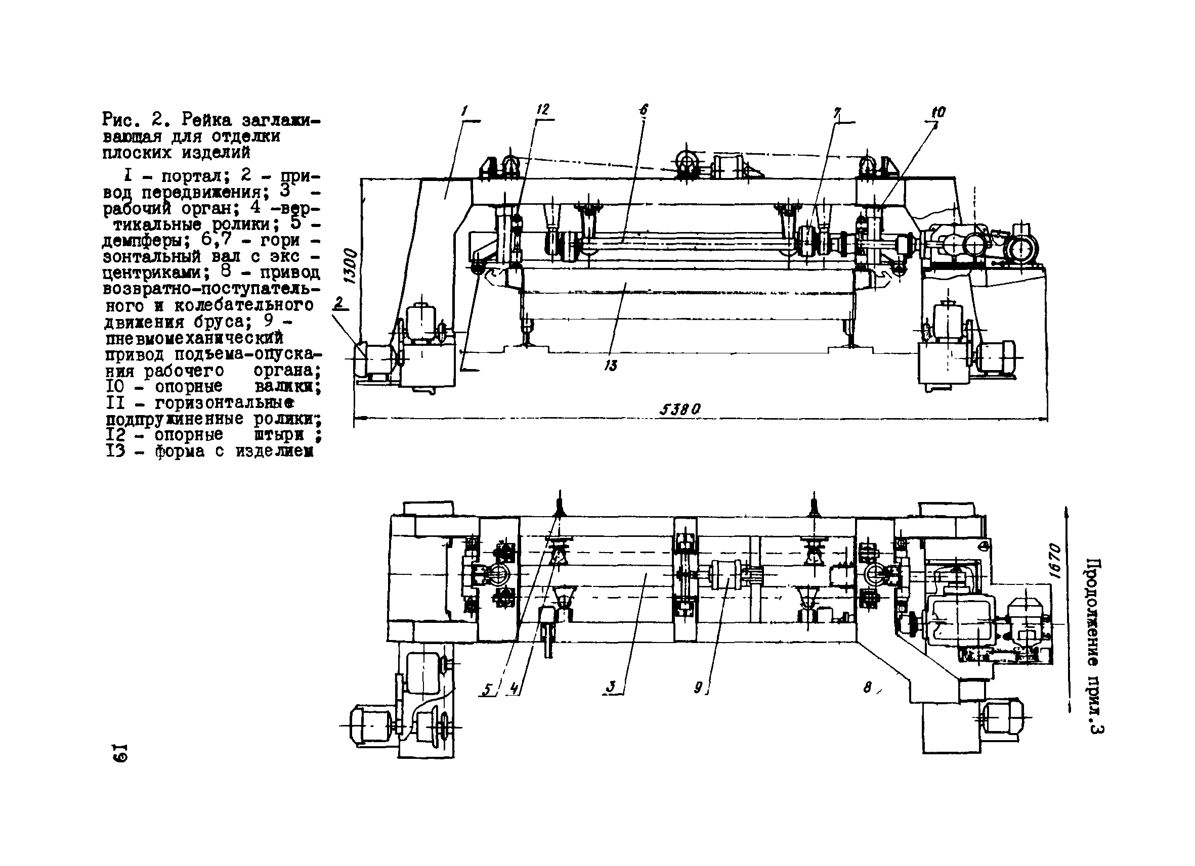
| Оглавление: | Предисловие 1. Общие положение 2. Материалы и смеси для отделки 3. Арматурные каркасы и формы 4. Технология отделочных работ 5. Контроль качества 6. Техника безопасности Приложение 1. Основные технические характеристики отделочных машин и механизмов Приложение 2. Методика оценки качества поверхности железобетонных изделий Приложение 3. Иллюстрации к настоящим Рекомендациям |
| Разработан: | НИИЖБ Госстроя СССР ЛИСИ Минвуза РСФСР Гипростроммаш Минстройдормаша ВНИИжелезобетона Минстройматериалов СССР ЦНИИЭП жилища НИЛ ФХММ и ТП Главмоспромстройматериалов Мосгорисполкома |
| Утверждён: | 30.10.1986 НИИЖБ Госстроя СССР (NIIZhB, USSR Gosstroy ) |
| Нормативные ссылки: |
|
































