Скачать Р 578-85 Рекомендации по испытанию магистральных и промысловых трубопроводов в условиях низких температурДата актуализации: 01.01.2021
|
| Обозначение: | Р 578-85 |
| Обозначение англ: | R 578-85 |
| Статус: | введен впервые |
| Название рус.: | Рекомендации по испытанию магистральных и промысловых трубопроводов в условиях низких температур |
| Дата добавления в базу: | 01.09.2013 |
| Дата актуализации: | 01.01.2021 |
| Дата введения: | 01.01.1986 |
| Область применения: | В Рекомендациях изложены вопросы технологии и организации испытаний линейной части магистральных и промысловых трубопроводов диаметром от 50 до 1420 мм включительно в условиях низких температур. |
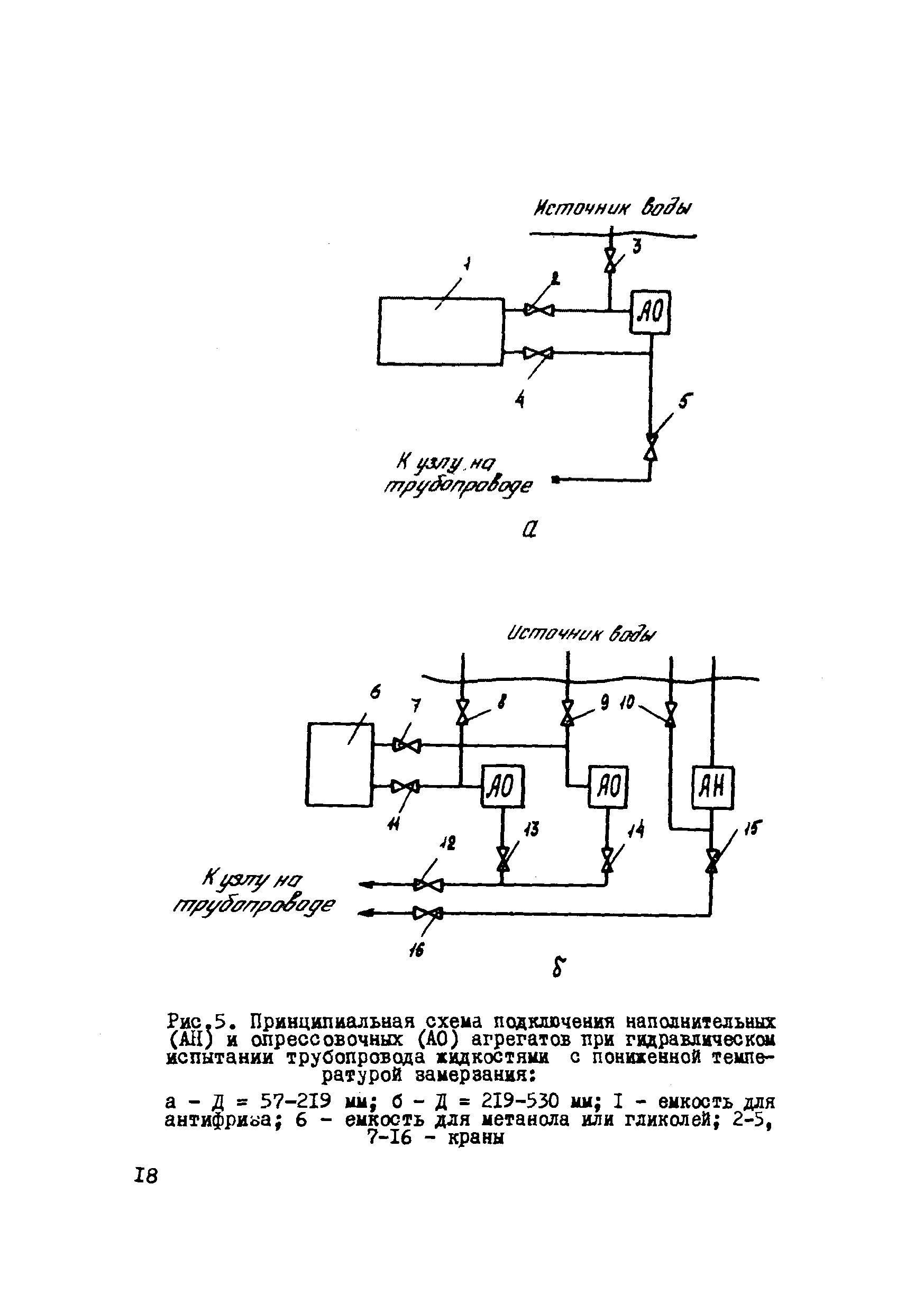
| Оглавление: | 1. Общие положения 2. Методы испытаний трубопроводов 3. Пневматический метод испытания трубопроводов 4. Гидравлический метод испытания трубопроводов 5. Комбинированный метод испытания трубопроводов Приложение 1 Рекомендуемое. Машины для очистки полости, испытания и удаления воды из трубопроводов Приложение 2 Рекомендуемое. Методика определения параметров наполнения трубопровода Приложение 3 Рекомендуемое. Методика расчета технологических параметров при гидравлическом испытании Приложение 4 Рекомендуемое. Пример расчета технологических параметров при испытании трубопроводов жидкостями с пониженной температурой замерзания Приложение 5 Рекомендуемое. Расчет необходимого числа парoпреoбразователей и трубок нагревательного элемента Литература |
| Разработан: | ВНИИСТ |
| Утверждён: | 01.08.1985 ВНИИСТ (VNIIST ) |
| Нормативные ссылки: |
|






































































