Скачать ВНТП 4-92 Книга 1Дата актуализации: 01.01.2021
|
| Обозначение: | ВНТП 4-92 |
| Обозначение англ: | VNTP 4-92 |
| Статус: | действует |
| Название рус.: | Книга 1 |
| Дата добавления в базу: | 01.09.2013 |
| Дата актуализации: | 01.01.2021 |
| Дата введения: | 01.03.1993 |
| Область применения: | Нормы распространяются на проектирование строительства, реконструкции, расширения, технического перевооружения, подготовки новых горизонтов угольных и сланцевых шахт, разрезов, обогатительных фабрик и сортировок |
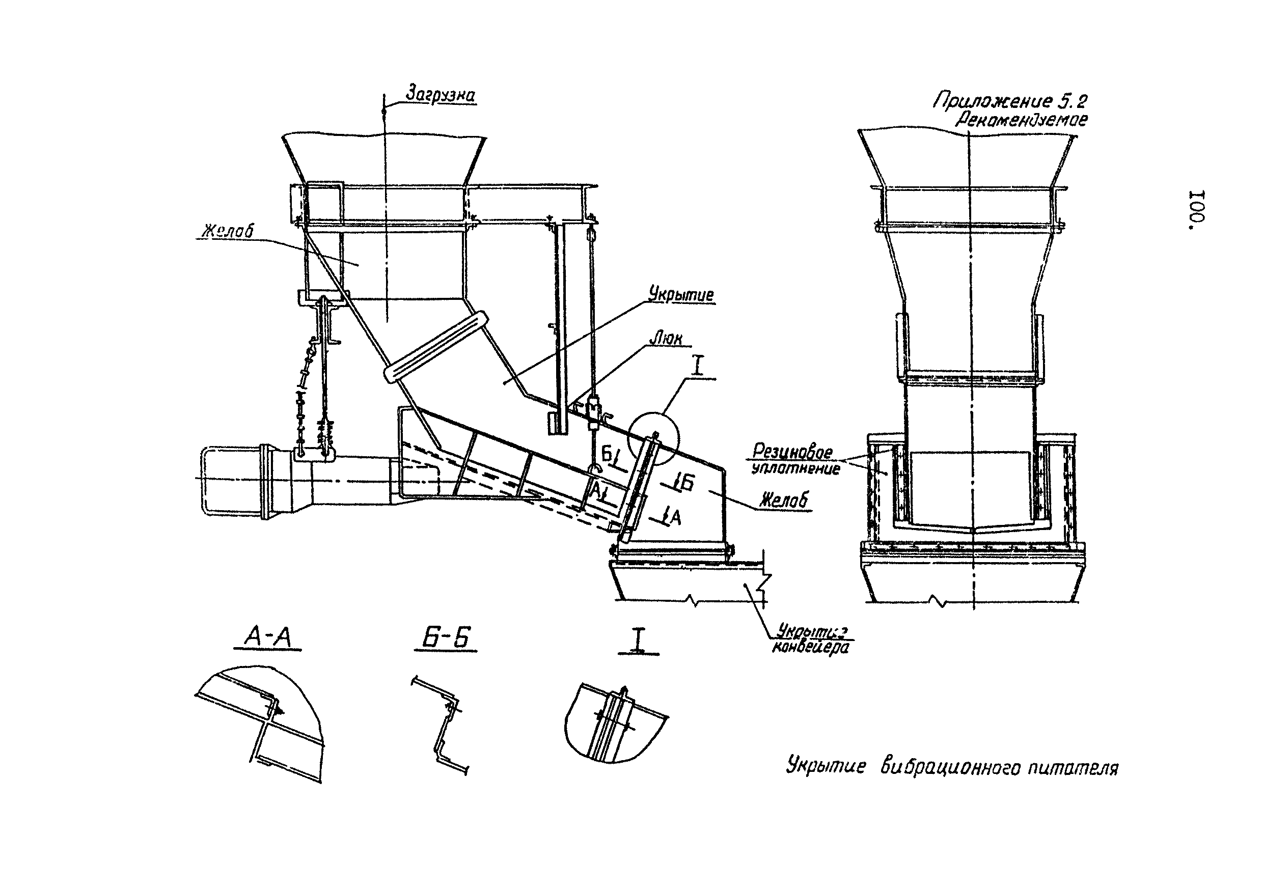
| Оглавление: | 1. Общие положения 2. Технологический комплекс поверхности Прием и обработка угля и породы Транспорт ленточными конвейерами и желобами Погрузка и складирование угля Контроль качества угля Санитарно-технические устройства 3. Породный комплекс Пункт погрузки породы в транспортные средства Транспорт породы в отвал Отвалы породы 4. Генеральные планы промышленных площадок шахт, разрезов и обогатительных фабрик Выбор площадок для строительства Планировка территории Дороги и площадки Узкоколейные пути на поверхности шахт и обогатительных фабрик Защита от шума Монтажные площадки Пожарная военизированная и сторожевая охрана 5. Комплекс обезболивания Требования к технологическому процессу и оборудованию Укрытие оборудования Укрытие питателей Укрытие ленточных конвейеров Укрытие грохотов Укрытие дробилок Укрытие бункеров Укрытие элеваторов, конвейеров, винтовых и сплошного волочения Укрытие центрифуг Укрытие вагоноопрокидывателей Пылеулавливание в местах пылеобразования Пылеулавливающие установки Воздуховоды Объемы отсасываемого воздуха Скорость воздуха в элементах пылеулавливающих систем Очистка запыленного воздуха Подача воздуха в помещение Гидрообеспыливание Уборка осевшей пыли и просыпи Требования к строительным конструкциям зданий и сооружений по условиям борьбы с пылью Приложения |
| Разработан: | Южгипрошахт Минуглепрома СССР ВНИИОСуголь Минуглепрома Институт Центрогипрошахт Днепрогипрошахт Карагандагипрошахт ПечорНИИпроект Донгипрошахт Ростовгипрошахт Уралгипрошахт Институт Гипрошахт Луганскгипрошахт Кузбассгипрошахт Востсибгипрошахт УкрНИИпроект |
| Утверждён: | 08.12.1992 Комитет угольной промышленности |
| Принят: | 11.11.1992 Госгортехнадзор России (Russian Federation Gosgortekhnadzor 07-4/107) |
| Заменяет собой: |
|
| Нормативные ссылки: |
|










































































































































