Скачать Рекомендации по повышению эффективности работы предприятий крупнопанельного домостроения на базе передового опытаДата актуализации: 01.01.2021 |
| Статус: | справочные материалы, мп, тпр |
| Название рус.: | Рекомендации по повышению эффективности работы предприятий крупнопанельного домостроения на базе передового опыта |
| Дата добавления в базу: | 01.09.2013 |
| Дата актуализации: | 01.01.2021 |
| Область применения: | Документ содержит рекомендации по повышению эффективности работы предприятий крупнопанельного домостроения на базе передового опыта |
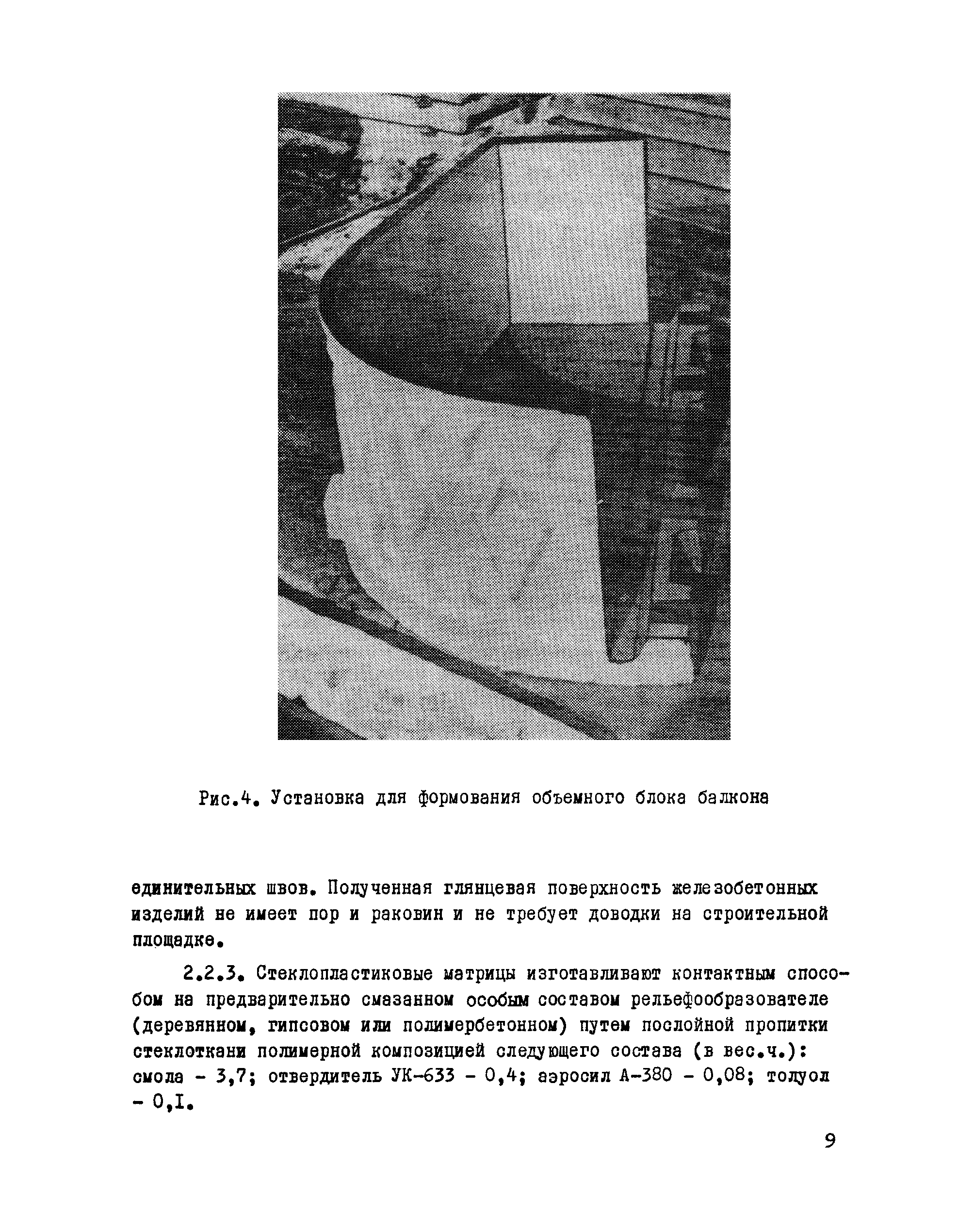
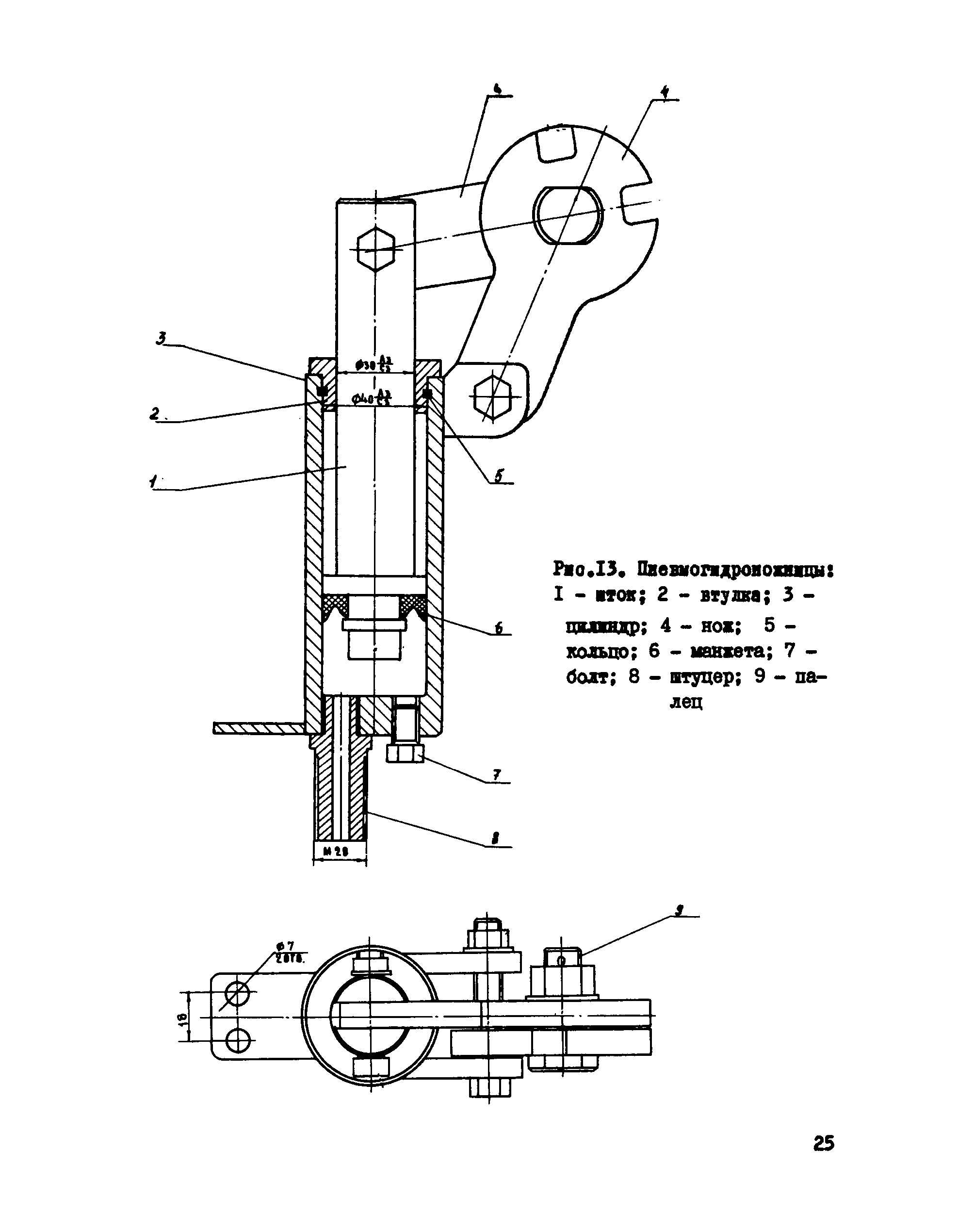
| Оглавление: | 1 Совершенствование технологии приготовления бетонных смесей 1.1 Электрохимическая обработка воды для затворения бетона 1.2 Применение комплексных добавок для бетонных смесей 1.3 Автоматизация бетоносмесительных установок периодического действия 2. Совершенствование технологии изготовления и отделки изделий КПД 2.1 Установка для формования объемного блока балкона 2.2. Стеклопластиковые матрицы для получения рельефа на железобетонных изделиях 2.3. Железобетонные матрицы для получения рельефа на ограждениях балконов и лоджий 2.4. Матрицы из листовой холоднокатанной стали для получения рельефа на ограждающих конструкциях зданий 2.5. Установка для шпаклевки железобетонных и бетонных поверхностей 2.6. Подстилающий слой из водного раствора сульфитно-дрожжевой бражки (СДБ) 2.7. Эмульсионная смазка ОПЛ-С 2.8 Роторно-пульсационный аппарат для приготовления смазки 3. Совершенствование арматурных работ 3.1 Полуавтоматическая линия ПДС-6м по производству двухветвевых каркасов 3.2. Подвесные сварочные клещи 3.3. Пневмогидроножницы для высечки проемов в армокаркасах 3.4. Ручной инструмент для вязки арматурных конструкций 4. Совершенствование тепловой обработки бетона 4.1 Система эжекционного принудительно-направленного паропрогрева кассетных установок 4.2. Установка для тепловой обработки изделий продуктами сгорания природного газа 5. Совершенствование способов контроля качества 5.1 Пост контроля прочностных характеристик железобетонных конструкций 5.2. Прибор для определения кривизны поверхности 5.3, Приспособление для очистки арматурной проволоки, поставляемой в бухтах 6. Совершенствование системы управления и организации производства 6.1 Новая система начисления заработной платы в рамках комплексной системы управления качеством 6.2. Нормативный метод планирования строительного производства на Таллинском ДСК Литературе Карта обратной связи |
| Разработан: | ТбилЗНИИЭП КиевЗНИИЭП ЛенЗНИИЭП ЦНИИЭП жилища СибЗНИИЭП |
| Утверждён: | 28.03.1984 ЦНИИЭП жилища (TsNIIEPzhilishcha 7) |
| Издан: | ЦНИИЭПжилища (1984 г. ) |
| Нормативные ссылки: |
|













































