Скачать Методика проведения неразрушающего контроля дисковых тормозов основной лебедки установки для капитального ремонта скважин NОI-150

Дата актуализации: 01.01.2021

Методика проведения неразрушающего контроля дисковых тормозов основной лебедки установки для капитального ремонта скважин NОI-150

Статус:действует
Название рус.:Методика проведения неразрушающего контроля дисковых тормозов основной лебедки установки для капитального ремонта скважин NОI-150
Дата добавления в базу:01.10.2014
Дата актуализации:01.01.2021
Область применения:В документе приводится технология визуально-измерительного, ультразвукового, магнитопорошкового и капиллярного методов контроля деталей дисковых тормозов.
Оглавление:1 Общие положения
2 Аппаратура
3 Подготовка к контролю
4 Порядок контроля
5 Оформление результатов контроля
6 Техника безопасности
Приложение А. Акт результатов неразрушающего контроля
Приложение Б. Индикаторные материалы, применяемые при магнитопорошковом контроле
Приложение В. Дефектоскопические материалы, применяемые при цветном методе контроля
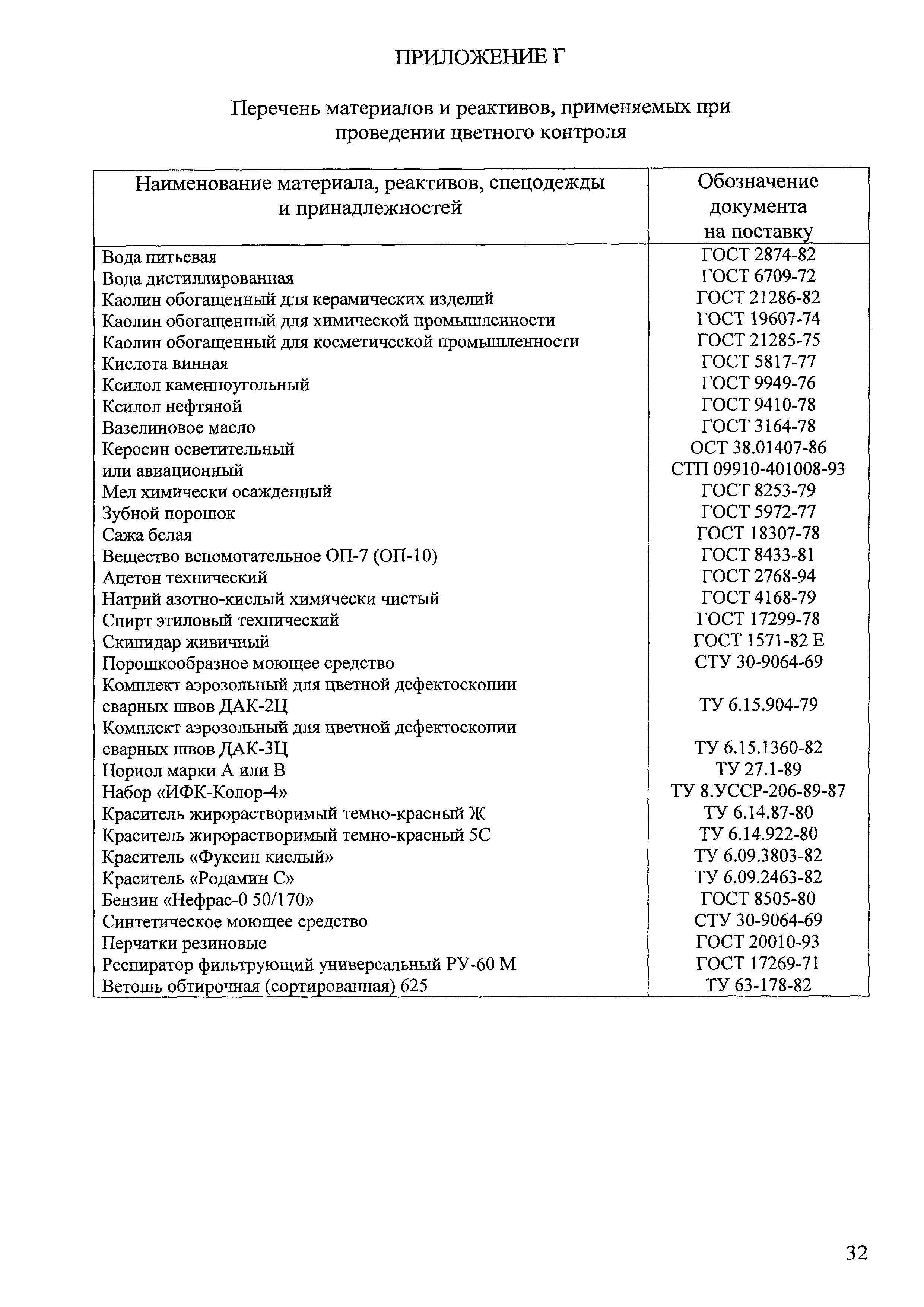
Приложение Г. Перечень материалов и реактивов, применяемых при проведении цветного контроля
Разработан: ООО СПКТБ НЕФТЕГАЗМАШ
Утверждён: ООО СПКТБ НЕФТЕГАЗМАШ
Нормативные ссылки: