Скачать Методика по проведению неразрушающего контроля автоматизированной групповой замерной установки АГЗУ

Дата актуализации: 01.01.2021

Методика по проведению неразрушающего контроля автоматизированной групповой замерной установки АГЗУ

Статус:действует
Название рус.:Методика по проведению неразрушающего контроля автоматизированной групповой замерной установки АГЗУ
Дата добавления в базу:01.10.2014
Дата актуализации:01.01.2021
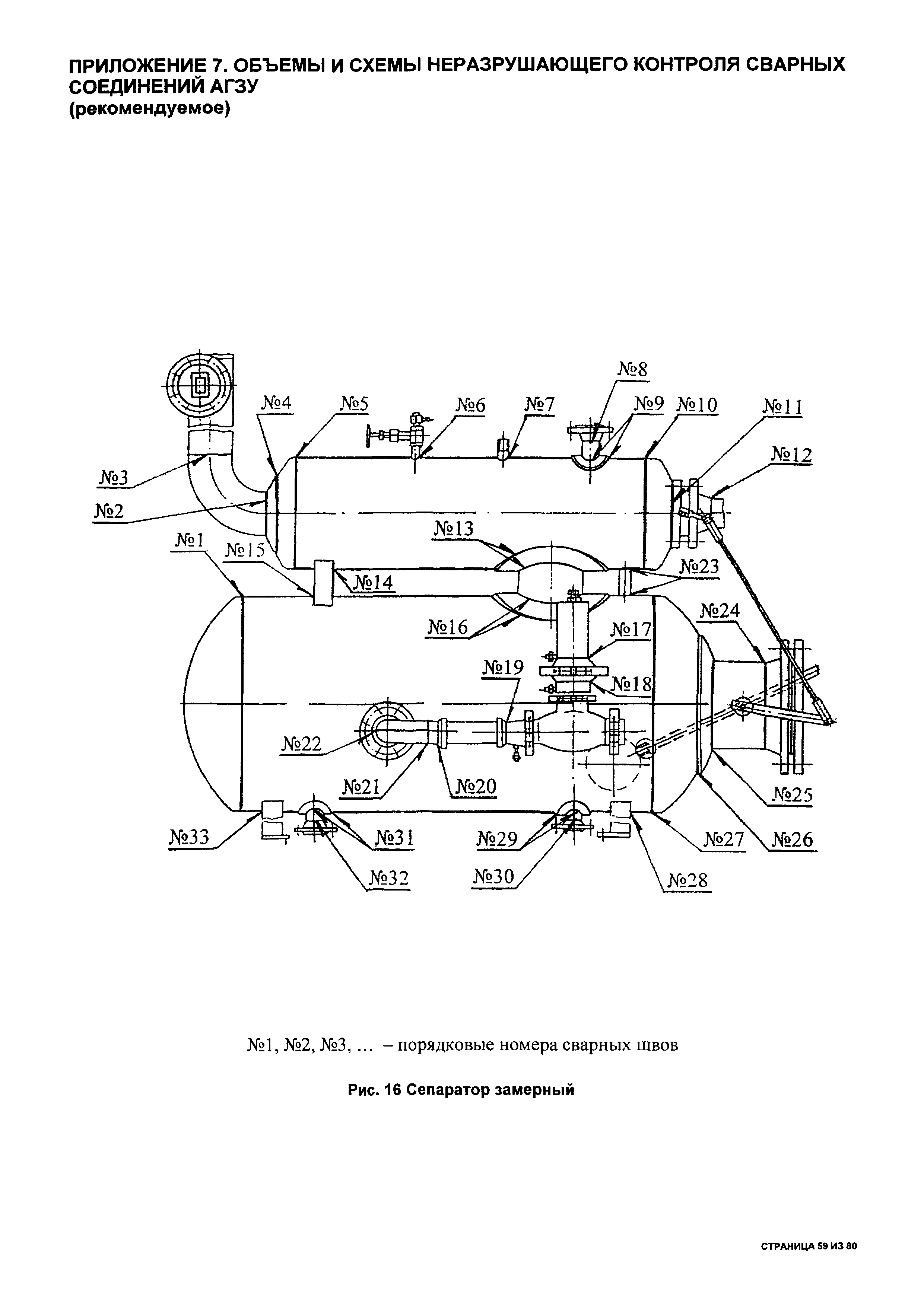
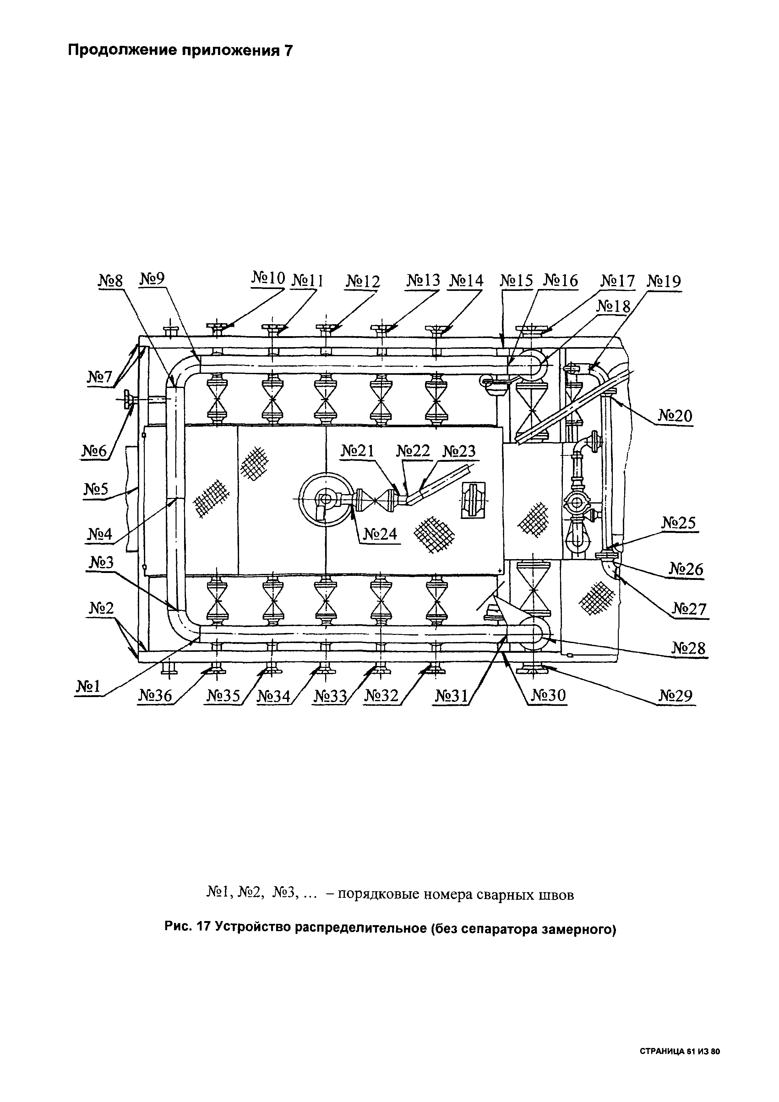
Область применения:«Методика по проведению неразрушающего контроля автоматизированной групповой замерной установки АГЗУ» устанавливает основные положения по неразрушающему контролю и гидравлическому испытанию автоматизированных групповых замерных установок.
Оглавление:Вводные положения
Введение
Цели
Задачи
Область действия
1 Термины, определения, обозначения и сокращения
2 Общие положения
3 Подготовка АГЗУ к неразрушающему контролю
4 Организация работ по проведению неразрушающего контроля
5 Порядок выполнения и содержание работ при неразрушающем контроле
   5.1 Методы неразрушающего контроля
   5.2 Визуальный и измерительный контроль
   5.3 Дефектоскопический контроль
   5.4 Ультразвуковой контроль
   5.5 Магнитопорошковый контроль
   5.6 Капиллярный контроль
   5.7 Твердометрия
6 Оформление результатов неразрушающего контроля
7 Гидравлическое испытание АГЗУ
   7.1 Общие положения
   7.2 Оборудование, механизмы, инструмент, приспособления, материалы для проведения гидравлического испытания
   7.3 Порядок подготовки к гидравлическому испытанию
   7.4 Объем, режимы и методика проведения гидравлического испытания
   7.5 Порядок оформления результатов гидравлического испытания
8 Требования промышленной безопасности и производственной санитарии
9 Нормативно-техническая документация, использованная при разработке методики
10 Регистрация изменения методики
Приложения
Разработан: СПКТБ Нефтегазмаш
Утверждён: СПКТБ Нефтегазмаш
Нормативные ссылки: