Скачать ГОСТ 31825-2012 Штанги насосные, штоки устьевые и муфты к ним. Технические условияДата актуализации: 01.01.2021 ГОСТ 31825-2012
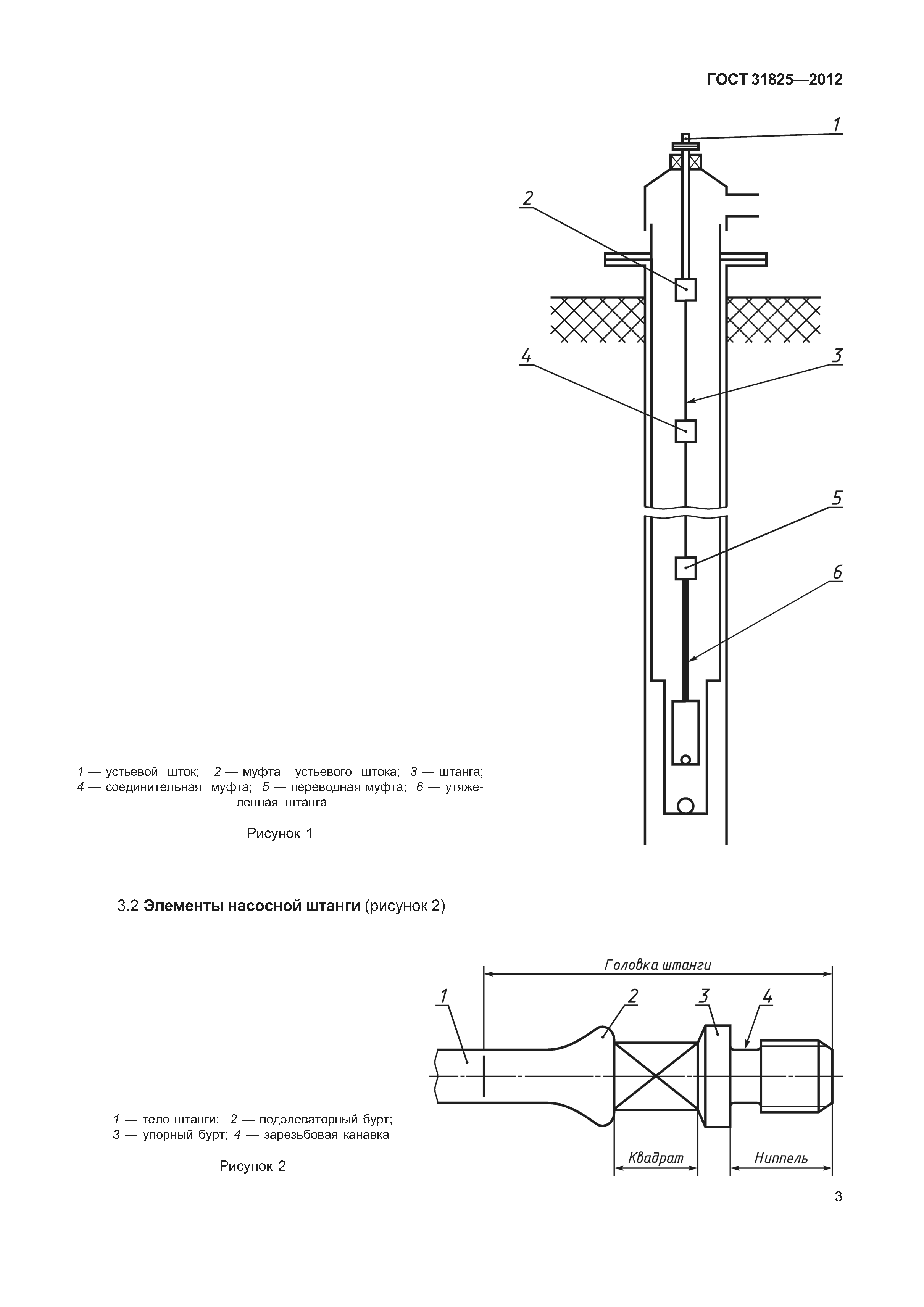
Штанги насосные, штоки устьевые и муфты к ним. Технические условия| Обозначение: | ГОСТ 31825-2012 | | Обозначение англ: | GOST 31825-2012 | | Статус: | введен впервые | | Название рус.: | Штанги насосные, штоки устьевые и муфты к ним. Технические условия | | Название англ.: | Sucker rods, mouth stocks and couplings for them. Specifications | | Дата добавления в базу: | 01.10.2014 | | Дата актуализации: | 01.01.2021 | | Дата введения: | 01.01.2014 | | Область применения: | Стандарт распространяется на насосные штанги (нормальной длины, укороченные, утяжеленные), устьевые штоки и муфты к ним, предназначенные для передачи возвратно-поступательного движения от наземного привода штанговой насосной установки к плунжеру скважинного насоса или вращательного движения, в случае применения винтовых насосов при добыче нефти. Стандарт может быть использован для целей сертификации. | | Оглавление: | 1 Область применения 2 Нормативные ссылки 3 Определения 4 Конструкция, основные параметры и размеры 5 Сопрягаемые элементы штанг устьевых штоков и муфт 6 Технические требования 7 Упаковка и консервация 8 Требования безопасности 9 Правила приемки 10 Методы контроля 11 Транспортирование и хранение 12 Указания по эксплуатации 13 Гарантии изготовителя Приложение А (справочное) Массы штанг устьевых штоков и утяжеленных штанг Приложение Б (рекомендуемое) Механические свойства штанг и муфт Приложение В (обязательное) Объем выборки от партии Приложение Г (рекомендуемое) Примеры расчета вероятности безотказной работы партии штанг Приложение Д (рекомендуемое) Калибры для контроля резьбы Приложение Е (рекомендуемое) Область применения насосных штанг и значение допускаемого приведенного напряжения в штангах Приложение Ж (справочное) Характеристика коррозионности продукции нефтяных скважин по содержанию в ней коррозионно-активных компонентов (без учета влияния ингибиторов коррозии) | | Утверждён: | 15.11.2012 Межгосударственный Совет по стандартизации, метрологии и сертификации (Inter-Governmental Council on Standardization, Metrology, and Certification 42) 21.11.2012 Федеральное агентство по техническому регулированию и метрологии (994-ст)
| | Издан: | Стандартинформ (2013 г. )
| | Нормативные ссылки: |   ГОСТ 1050-88 «Прокат сортовой, калиброванный, со специальной отделкой поверхности из углеродистой качественной конструкционной стали. Общие технические условия»  ГОСТ 21014-88 «Прокат черных металлов. Термины и определения дефектов поверхности»  ГОСТ 15150-69 «Машины, приборы и другие технические изделия. Исполнения для различных климатических районов. Категории, условия эксплуатации, хранения и транспортирования в части воздействия климатических факторов внешней среды»  ГОСТ 16493-70 «Качество продукции. Статистический приемочный контроль по альтернативному признаку. Случай недопустимости дефектных изделий в выборке»  ГОСТ 14192-96 «Маркировка грузов»  ГОСТ 166-89 «Штангенциркули. Технические условия»  ГОСТ 23170-78 «Упаковка для изделий машиностроения. Общие требования»  ГОСТ 9.014-78 «Единая система защиты от коррозии и старения. Временная противокоррозионная защита изделий. Общие требования»  ГОСТ 18321-73 «Статистический контроль качества. Методы случайного отбора выборок штучной продукции»  ГОСТ 24634-81 «Ящики деревянные для продукции, поставляемой для экспорта. Общие технические условия»  ГОСТ 12345-2001 «Стали легированные и высоколегированные. Методы определения серы»  ГОСТ 28473-90 «Чугун, сталь, ферросплавы, хром, марганец металлические. Общие требования к методам анализа»  ГОСТ 11708-82 «Основные нормы взаимозаменяемости. Резьба. Термины и определения»  ГОСТ 12346-78 «Стали легированные и высоколегированные. Методы определения кремния»  ГОСТ 12347-77 «Стали легированные и высоколегированные. Методы определения фосфора»  ГОСТ 12348-78 «Стали легированные и высоколегированные. Методы определения марганца»  ГОСТ 12352-81 «Стали легированные и высоколегированные. Методы определения никеля»  ГОСТ 12354-81 «Стали легированные и высоколегированные. Методы определения молибдена» ГОСТ 14810-69 «Калибры-пробки гладкие двусторонние со вставками диаметром свыше 3 до 50 мм. Конструкция и размеры»  ГОСТ 18895-97 «Сталь. Метод фотоэлектрического спектрального анализа»  ГОСТ 15846-2002 «Продукция, отправляемая в районы Крайнего Севера и приравненные к ним местности. Упаковка, маркировка, транспортирование и хранение»  ГОСТ 12344-2003 «Стали легированные и высоколегированные. Методы определения углерода»  ГОСТ 2.601-2006 «Единая система конструкторской документации. Эксплуатационные документы»  ГОСТ 22235-2010 «Вагоны грузовые магистральных железных дорог колеи 1520 мм. Общие требования по обеспечению сохранности при производстве погрузочно-разгрузочных и маневровых работ»  ГОСТ 2.307-2011 «Единая система конструкторской документации. Нанесение размеров и предельных отклонений»
|
                                                
|