Скачать Рекомендации по устройству звукопоглощающих конструкций в производственных зданиях с применением минераловатных акустических изделийДата актуализации: 01.01.2021 |
| Статус: | справочные материалы, мп, тпр |
| Название рус.: | Рекомендации по устройству звукопоглощающих конструкций в производственных зданиях с применением минераловатных акустических изделий |
| Дата добавления в базу: | 01.10.2014 |
| Дата актуализации: | 01.01.2021 |
| Область применения: | Рекомендации предназначены для инженерно-технических работников промышленных предприятий, проектных и строительных организаций. |
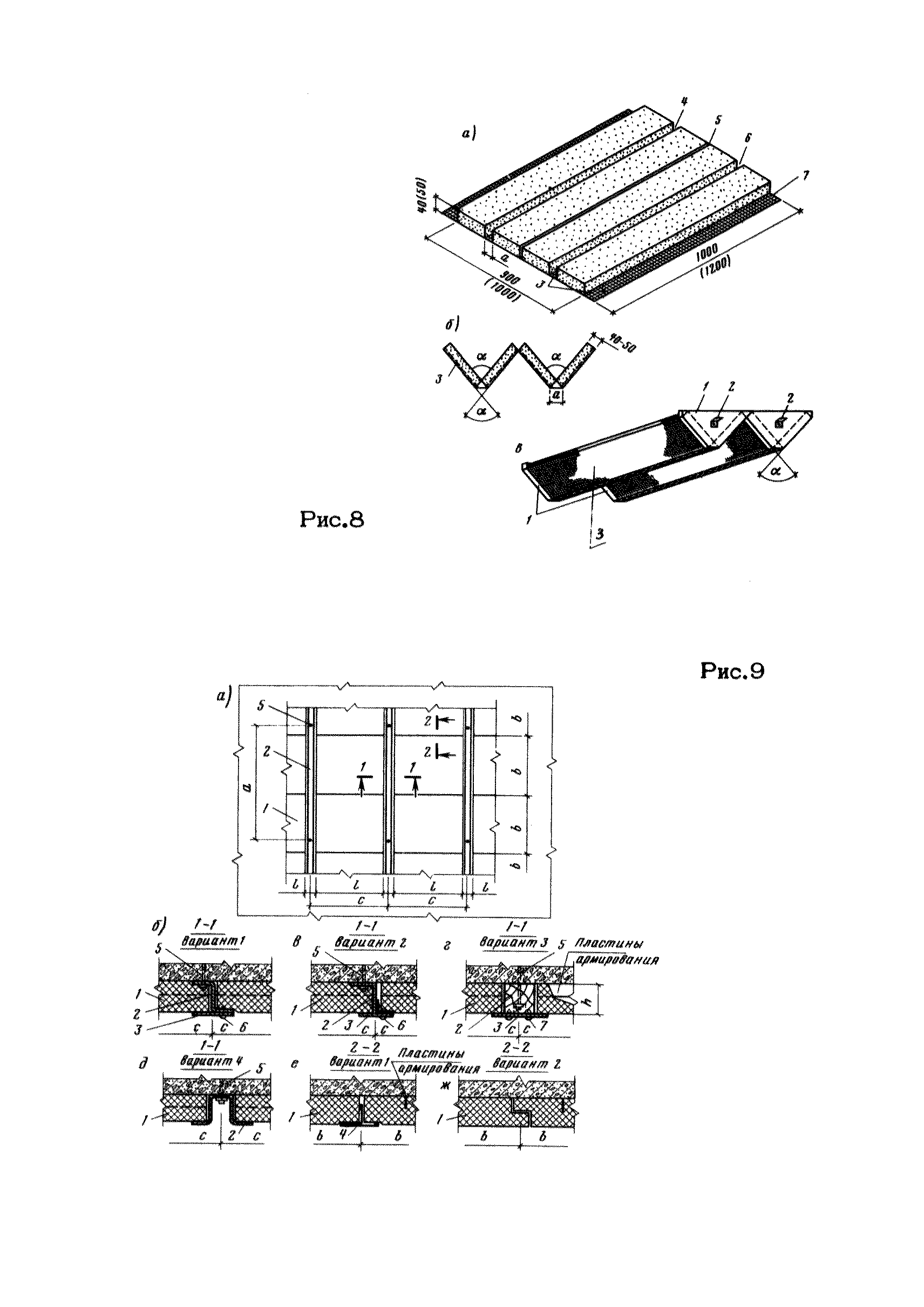
| Оглавление: | Предисловие 1. Общие положения 2. Определение уровня зума в цехах и требуемого его снижения 3. Мероприятия по обеспечению требуемого снижения уровня шума 4. Минераловатные изделия для строительно-акустических конструкций 5. Приемка, перевозка и хранение акустических минераловатных изделий 6. Виды звукопоглощающих устройств с применением минераловатных изделий 7. Определение вида и параметров звукопоглощающих устройств из минераловатных акустических изделий 8.Конструктивные решения звукопоглощающих устройств Общие положения Звукопоглощающие облицовки Кулисные звукопоглощающие устройства Звукопоглощающие подвесные потолки 9. Монтаж звукопоглощающих устройств Общие положения Монтаж звукопоглощающих облицовок Монтаж кулисных звукопоглощающих устройств Монтаж подвесных потолков Приложение 1. Определение режима производственных помещений по главе СНиП II-3-79* Приложение 2. Рекомендуемые тонкостенные профили для крепления акустических облицовок и изделий 63 Приложение 3. Основные свойства и характеристики древесно-минеральных трудносгораемых плит (ДМП) Приложение 4. Основные свойства и характеристики цементно-стружечных плит (ЦСП) Приложение 5. Основные положения по применению белей, забиваемых пороховыми инструментами Приложение 6. Рекомендации по установке распорных конических дюбелей Приложение 7. Винты самосверлящие самонарезающие Приложение 8. Основная номенклатура инструмента для монтажных работ Приложение 9. Основная номенклатура инструмента и приборов для разбивочных работ Подрисуночные подписи |
| Разработан: | НИИСФ Госстроя СССР ЦНИИпромзданий Госстроя СССР |
| Утверждён: | ЦНИИпромзданий Госстроя СССР (TsNIIpromzdaniy, USSR Gosstroy ) |
| Нормативные ссылки: |
|






























































































