Скачать Руководство по выполнению сдвигоустойчивых соединений на высокопрочных болтах в строительных стальных конструкцияхДата актуализации: 01.01.2021 |
| Статус: | справочные материалы, мп, тпр |
| Название рус.: | Руководство по выполнению сдвигоустойчивых соединений на высокопрочных болтах в строительных стальных конструкциях |
| Дата добавления в базу: | 01.10.2014 |
| Дата актуализации: | 01.01.2021 |
| Область применения: | Руководство разработано в развитие главы СНиП III-В.5-62* "Металлические конструкции. Правила изготовления, монтажа и приемки" и распространяется на выполнение сдвигоустойчивых соединений на высокопрочных болтах строительных стальных конструкций. |
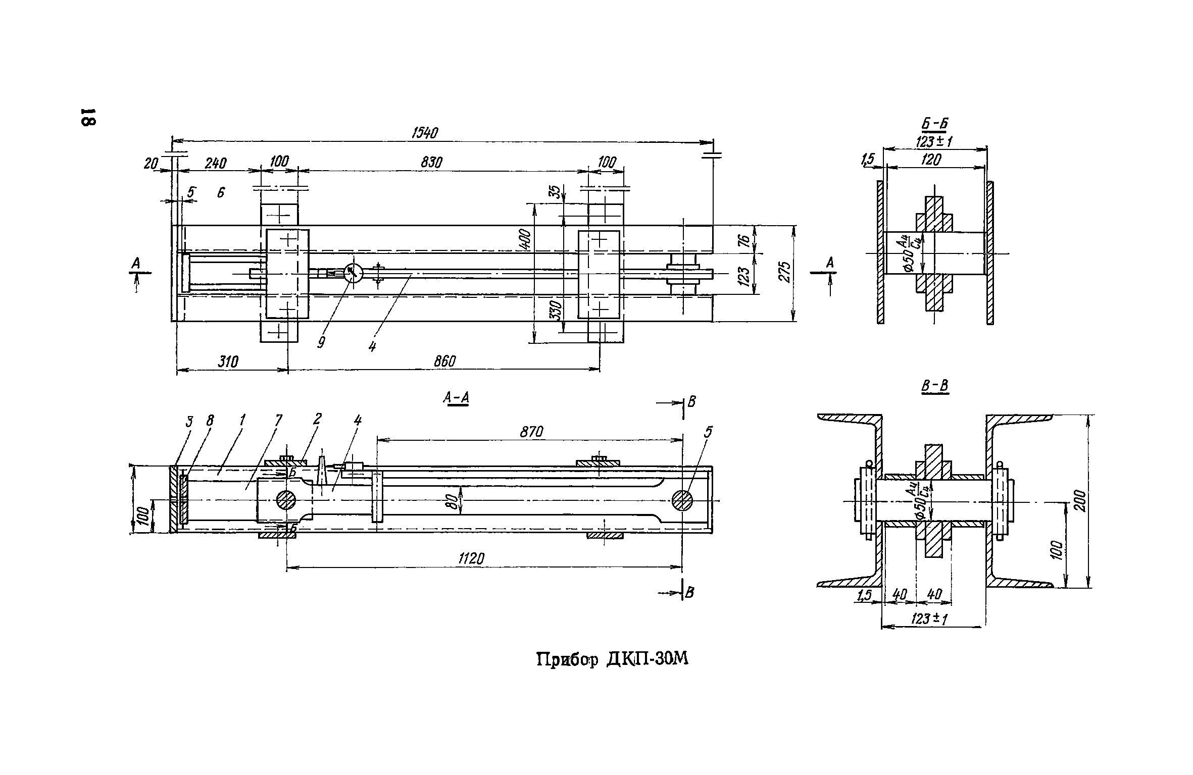
| Оглавление: | 1. Общие указания 2. Указания по производству работ 3. Требования к высокопрочным болтам, гайкам и шайбам Приложение 1. Форма журнала контроля качества подготовки поверхностей соединяемых элементов и деталей Приложение 2. Указания по работе на динамометрическом контрольном приборе ДКП-30М Приложение 3. Форма журнала для записи результатов определения величин крутящего момента Мир на приборе ДКП Приложение 4. Указания по контрольной тарировке ручных индикаторных и сигнальных ключей Приложение 5. Форма журнала постановки высокопрочных болтов ручными ключами "по крутящему моменту" Приложение 6. Определение расчетной площади сечения высокопрочного болта |
| Разработан: | ЦНИИПроектстальконструкция Госстроя СССР |
| Утверждён: | ЦНИИПроектстальконструкция Госстроя СССР |
| Издан: | Стройиздат (1975 г. ) |
| Нормативные ссылки: |
|
























