Скачать ГОСТ 20372-86 Балки стропильные и подстропильные железобетонные. Технические условия

Дата актуализации: 01.01.2021

ГОСТ 20372-86

Балки стропильные и подстропильные железобетонные. Технические условия

Обозначение: ГОСТ 20372-86
Обозначение англ: GOST 20372-86
Статус:заменен
Название рус.:Балки стропильные и подстропильные железобетонные. Технические условия
Название англ.:Reinforced concrete rafter girders with parallel chords. Specifications
Дата добавления в базу:01.10.2014
Дата актуализации:01.01.2021
Дата введения:01.01.1987
Дата окончания срока действия:01.07.1991
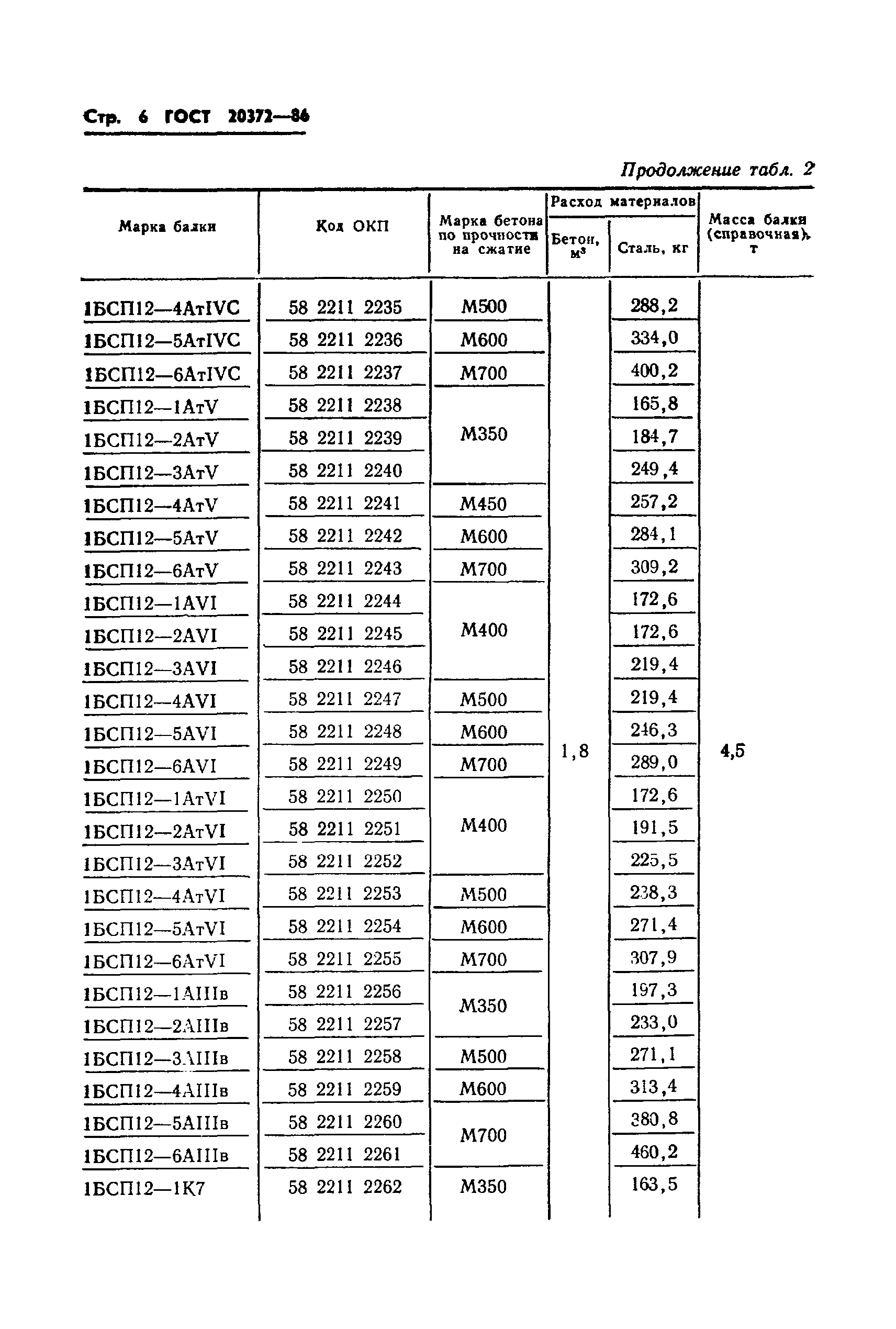
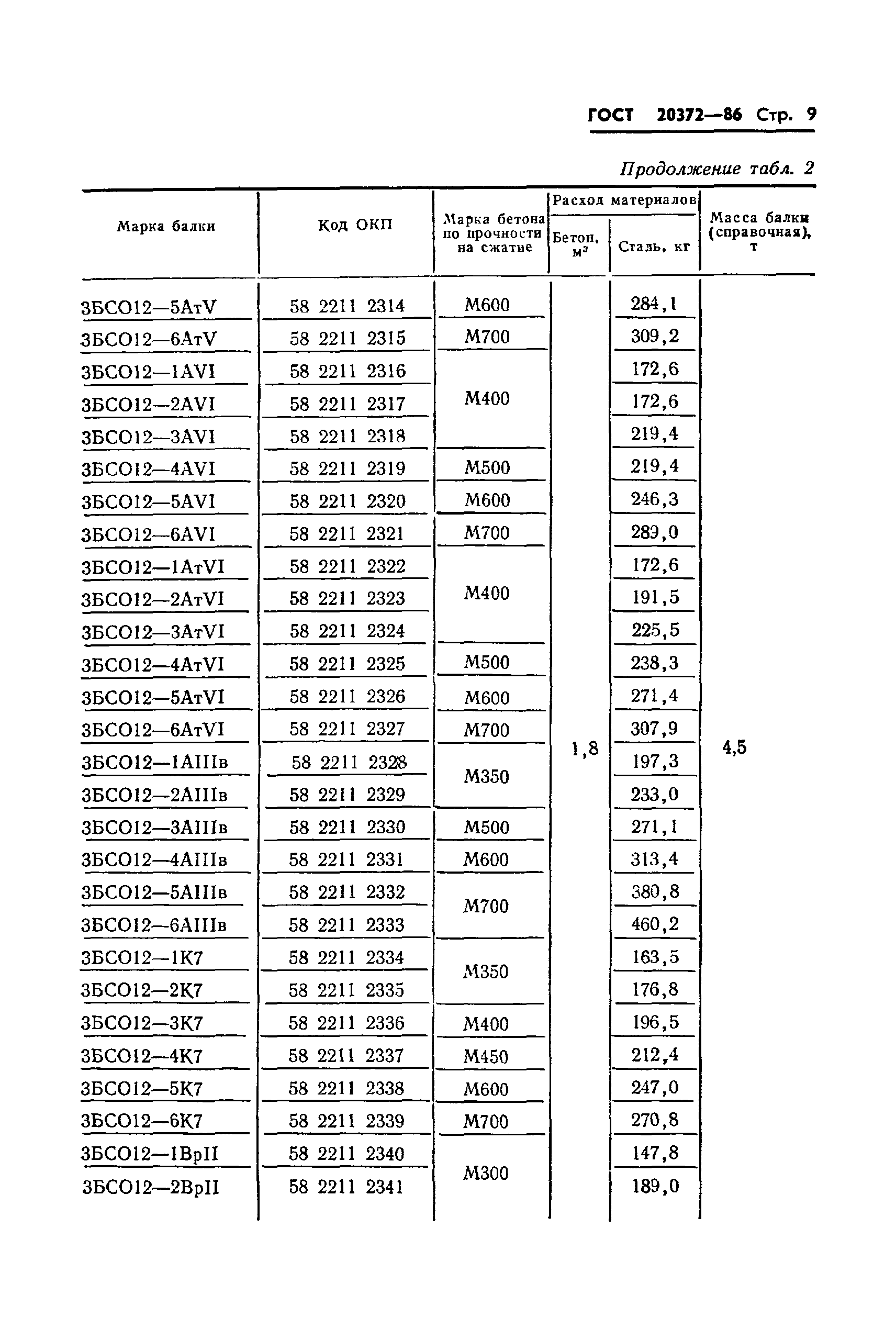
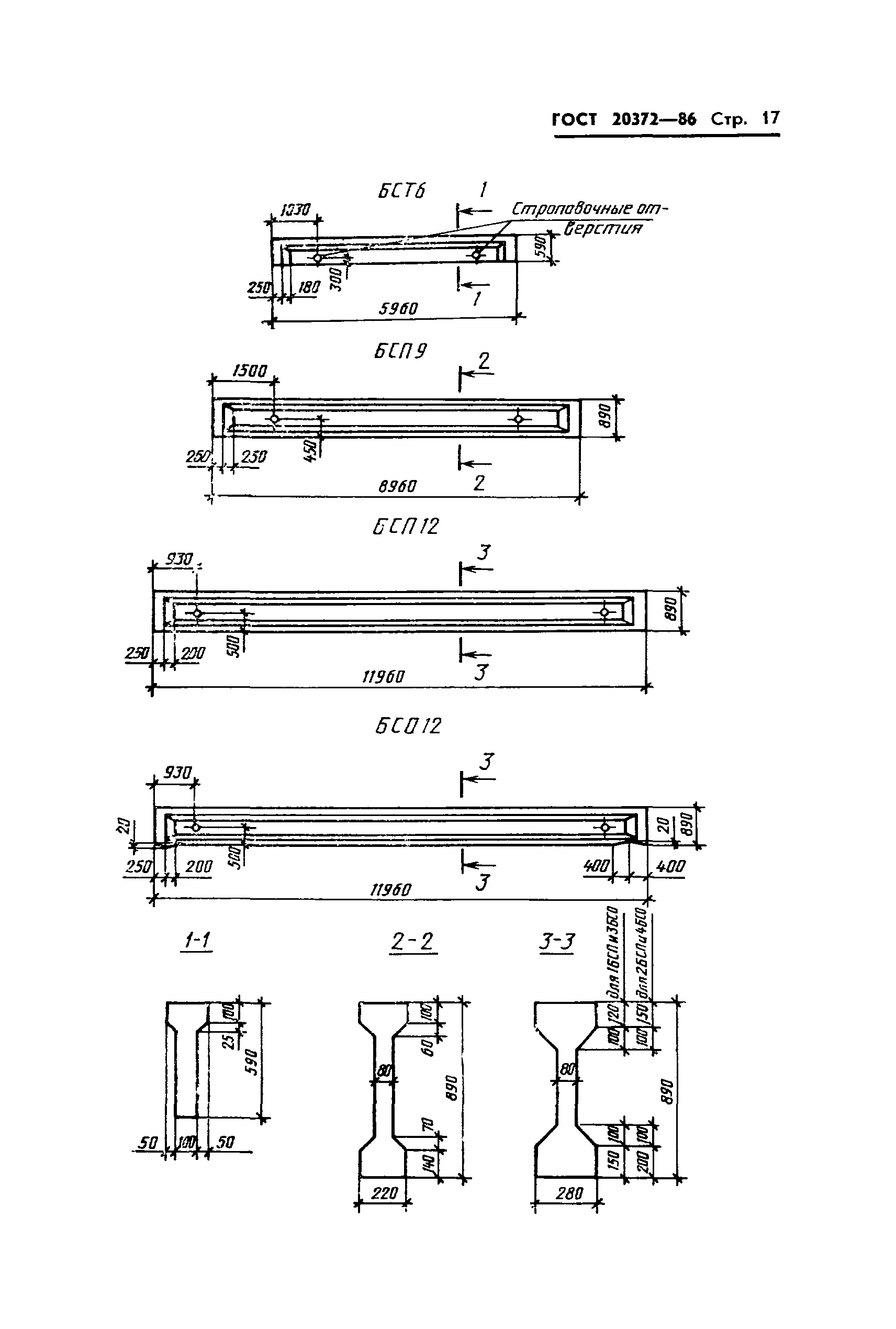
Область применения:Стандарт распространяется на сборные железобетонные стропильные балки с параллельными поясами координационной длиной 6 и 9 м, изготовляемые из тяжелого и легкого бетонов, и координационной длиной 12 м, изготовляемые из тяжелого бетона.
Оглавление:1. Типы, основные параметры и размеры
2. Технические требования
3. Правила приемки
4. Методы контроля
5. Маркировка, хранение и транспортирование
Разработан: НИИЖБ Госстроя СССР
Государственный ордена Трудового Красного Знамени проектный институт Промстройпроект Госстроя СССР
ЦНИИпромзданий Госстроя СССР
Утверждён:30.12.1985 Государственный комитет СССР по делам строительства (271)
Издан: Издательство стандартов (1986 г. )
Заменяет собой:
  • ГОСТ 20372-74 «Балки стропильные железобетонные предварительно напряженные для пролетов 12 м»
Нормативные ссылки:
ГОСТ 20372-86ГОСТ 20372-86ГОСТ 20372-86ГОСТ 20372-86ГОСТ 20372-86ГОСТ 20372-86ГОСТ 20372-86ГОСТ 20372-86ГОСТ 20372-86ГОСТ 20372-86ГОСТ 20372-86ГОСТ 20372-86ГОСТ 20372-86ГОСТ 20372-86ГОСТ 20372-86ГОСТ 20372-86ГОСТ 20372-86ГОСТ 20372-86ГОСТ 20372-86ГОСТ 20372-86ГОСТ 20372-86ГОСТ 20372-86ГОСТ 20372-86ГОСТ 20372-86ГОСТ 20372-86ГОСТ 20372-86ГОСТ 20372-86ГОСТ 20372-86