Скачать ГОСТ IEC 60998-2-1-2013 Соединительные устройства для низковольтных цепей бытового и аналогичного назначения. Часть 2-1. Дополнительные требования к соединительным устройствам с резьбовыми зажимами, используемыми в качестве отдельных узловДата актуализации: 01.01.2021
|
| Обозначение: | ГОСТ IEC 60998-2-1-2013 |
| Обозначение англ: | 60998-2-1-2013 |
| Статус: | взамен |
| Название рус.: | Соединительные устройства для низковольтных цепей бытового и аналогичного назначения. Часть 2-1. Дополнительные требования к соединительным устройствам с резьбовыми зажимами, используемыми в качестве отдельных узлов |
| Название англ.: | Connecting devises for low-voltage circuit for household and similar purposes. Part 2-1: Particular requirements for connecting devices as separate entities with screw-type clamping units |
| Дата добавления в базу: | 21.05.2015 |
| Дата актуализации: | 01.01.2021 |
| Дата введения: | 01.01.2016 |
| Область применения: | Стандарт распространяется на соединительные устройства с резьбовыми зажимами, применяемые преимущественно для соединения неподготовленных проводников. |
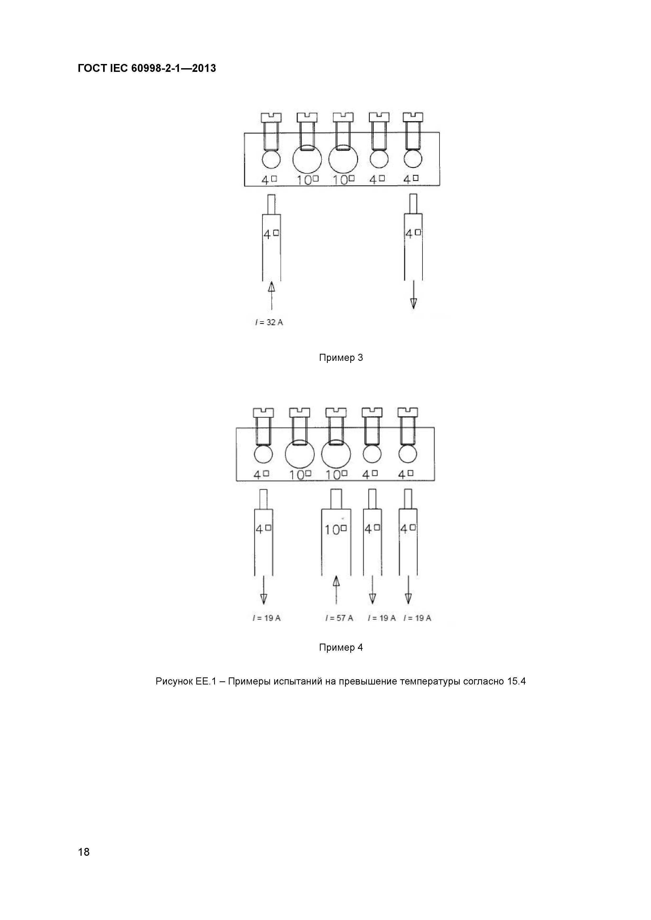
| Оглавление: | 1 Область применения 2 Нормативные ссылки 3 Определения 4 Общие положения 5 Общие замечания по испытаниям 6 Основные характеристики 7 Классификация 8 Маркировка 9 Защита от поражения электрическим током 10 Соединение проводников 11 Конструкция 12 Износостойкость, устойчивость к влажным условиям, попаданию твердых инородных предметов и проникновению воды 13 Сопротивление изоляции и электрическая прочность изоляции 14 Механическая прочность 15 Превышение температуры 16 Теплостойкость 17 Воздушные зазоры и расстояния утечки 18 Устойчивость изоляционного материала к аномальному нагреву и огню 19 Трекингостойкость изоляционного материала 20 Требования по ЭМС Приложение АА (обязательное) Сечения проводников и размеры шаблонов, применяемых при испытаниях Приложение ВВ (обязательное) Число комплектов из трех образцов, необходимое для испытаний, и перечень испытаний для каждого комплекта Приложение СС (рекомендуемое) Число проводников, необходимое для испытаний Приложение DD (рекомендуемое) Приблизительное соотношение поперечных сечений проводников в мм2 и американского сортамента проводов (AWG), принятого в США Приложение ЕЕ (рекомендуемое) Примеры для испытания на превышение температуры согласно 15.4 Приложение ДА (справочное) Сведения о соответствии межгосударственных стандартов ссылочным международным стандартам Библиография |
| Разработан: | ООО ВНИИэлектроаппарат АНО НТЦ Энергия |
| Утверждён: | 14.11.2013 Межгосударственный Совет по стандартизации, метрологии и сертификации (Inter-Governmental Council on Standardization, Metrology, and Certification 44-2013) 15.04.2014 Федеральное агентство по техническому регулированию и метрологии (342-ст) |
| Издан: | Стандартинформ (2014 г. ) |
| Список изменений: |
|
| Заменяет собой: | |
| Нормативные ссылки: |

























Текстовое изменение Поправка от 14.08.2019