Скачать Рекомендации по проектированию и расчету малозаглубленных фундаментов на пучинистых грунтахДата актуализации: 01.01.2021 |
| Статус: | справочные материалы, мп, тпр |
| Название рус.: | Рекомендации по проектированию и расчету малозаглубленных фундаментов на пучинистых грунтах |
| Дата добавления в базу: | 01.10.2014 |
| Дата актуализации: | 01.01.2021 |
| Область применения: | Рекомендации содержат основные положения по проектированию и расчету малозаглубленных фундаментов, возводимых на сезоннопромерзающих пучинистых грунтах-основаниях с учетом восприятия деформаций морозного пучения и предназначены в качестве практического пособия при изысканиях, проектировании и строительстве малоэтажных зданий и сооружений. |
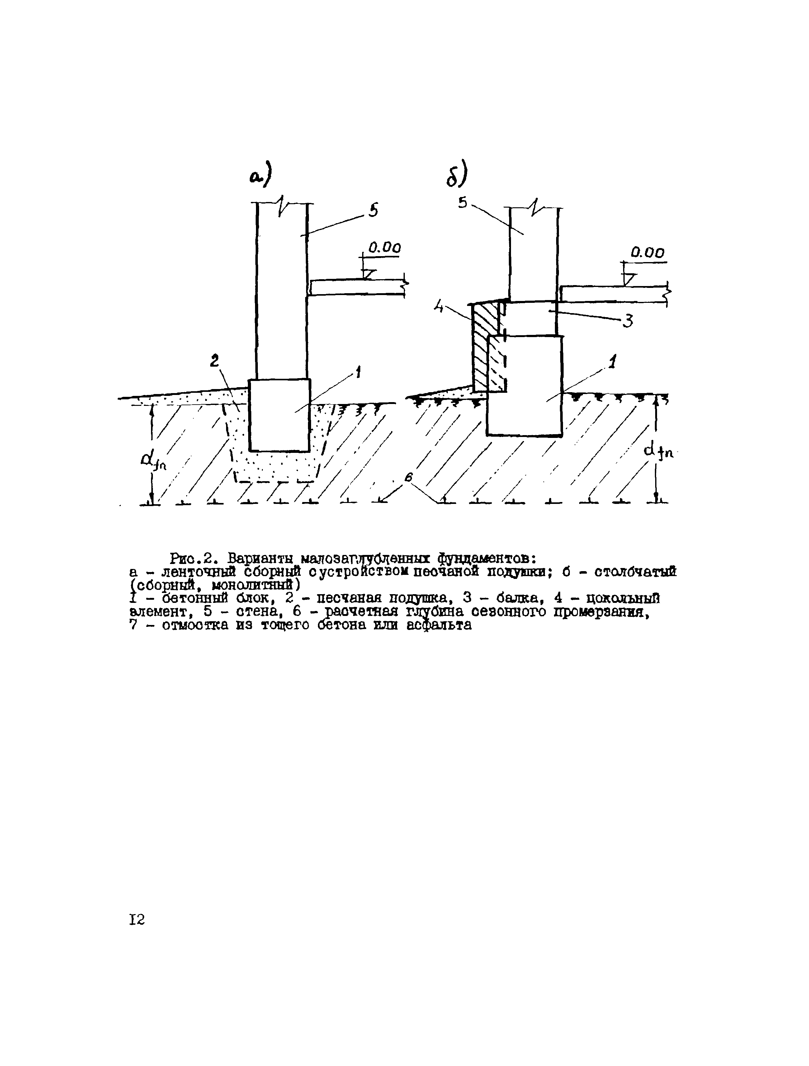
| Оглавление: | Введение 1 Общие положения 2 Основные понятия и определения 3 Выбор типа и конструкции фундамента 4 Расчет основания малозаглубленного фундамента по деформациям морозного пучения грунта 5 Расчет малозаглубленных фундаментов и надфундаментных конструкций с учетом деформаций морозного пучения грунта 6 Расчет малозаглубленного фундамента по устойчивости на воздействие касательных сил морозного пучения 7 Устройство малозаглубленных фундаментов на пучинистых грунтах 8 Технико-экономические показатели рационального применения малозаглубленных фундаментов 9 Пример расчета Приложение. Определение значения расчетной предзимней влажности Список литературы |
| Разработан: | НИИОСП им. Герсеванова Госстроя России |
| Утверждён: | НИИОСП им. Н.М. Герсеванова Госстроя СССР (Gersevanov NIIOSP, USSR Gosstroy ) |
| Заменяет собой: |
|
| Нормативные ссылки: |
|




























































