Скачать Рекомендации по проектированию и устройству буронабивных свай, изготавливаемых с применением многосекционного сердечника

Дата актуализации: 01.01.2021

Рекомендации по проектированию и устройству буронабивных свай, изготавливаемых с применением многосекционного сердечника

Статус:справочные материалы, мп, тпр
Название рус.:Рекомендации по проектированию и устройству буронабивных свай, изготавливаемых с применением многосекционного сердечника
Дата добавления в базу:01.10.2014
Дата актуализации:01.01.2021
Область применения:Документ содержит основные положения по проектированию и устройству буронабивных полых свай.
Оглавление:1 Общие положения
2 Особенности конструирования буронабивных полых свай и свайных фундаментов
3 Расчет набивных полых свай
4 Технология изготовления набивных полых свай
5 Контроль качества и приемка работ
6 Техника безопасности при возведении набивных полых свай
Приложение 1. Несущая способность полых свай по сопротивлению материалов ствола при осевых вдавливающих нагрузках со случайным эксцентриситетом
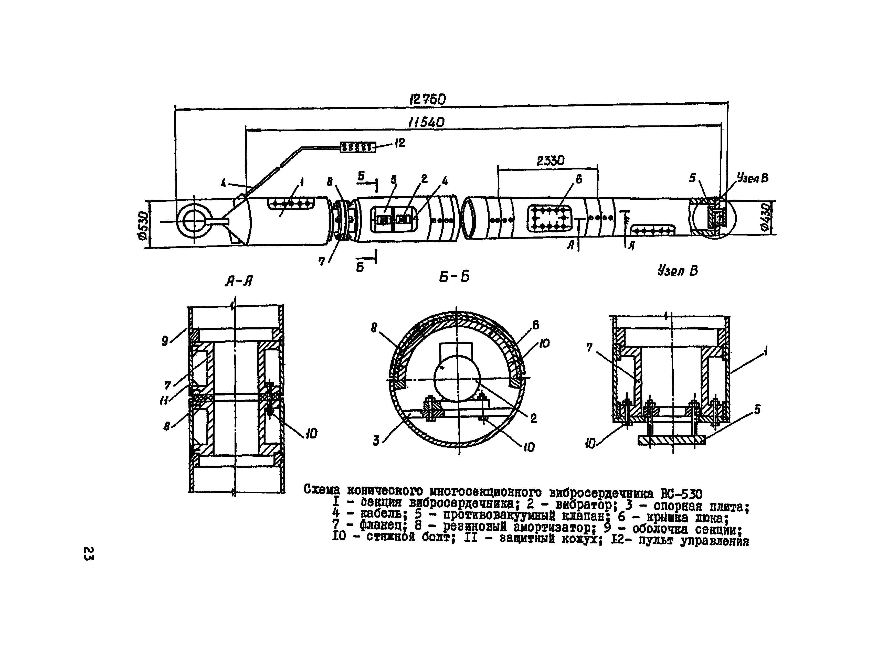
Приложение 2. Техническая характеристика многосекционного вибросердечника ВС-530
Приложение 3. Бункер-центратор
Приложение 4. Устройство для электроподогрева бетона набивных полых свай
Приложение 5. Форма журнала производства работ по устройству набивных полых свай
Разработан: ВНИИГС Минмонтажспецстроя СССР
Утверждён: НИИОСП им. Н.М. Герсеванова Госстроя СССР (Gersevanov NIIOSP, USSR Gosstroy )
Нормативные ссылки: