Скачать Методические рекомендации по проектированию и производству работ при усилении оснований, фундаментов и несущих конструкций существующих зданий и сооружений инъекционными методамиДата актуализации: 01.01.2021 |
| Статус: | справочные материалы, мп, тпр |
| Название рус.: | Методические рекомендации по проектированию и производству работ при усилении оснований, фундаментов и несущих конструкций существующих зданий и сооружений инъекционными методами |
| Дата добавления в базу: | 12.02.2016 |
| Дата актуализации: | 01.01.2021 |
| Область применения: | Рекомендации предназначены для инженеров проектировщиков и линейного инженерного персонала специализированных производственных организаций. Их основной целью является помощь инженеру-проектировщику и строителю в выборе наиболее рационального принципа проектирования и способа производства работ по усилению грунтов основания и фундаментов инъекционными методами, включая способы укрепительной цементации и буроинъекционных свай, в конкретных инженерно-геологических и гидрогеологических условиях с учетом вида, типа и конструктивных особенностей реконструируемых зданий и сооружений. Кроме того, в "Рекомендациях" рассматриваются различные возможности усиления инъекционными способами несущих конструкций реконструируемых объектов включая стены, колонны и столбы, своды и другие конструкции, а также выполнение инъекционной горизонтальной гидроизоляции существующих зданий и сооружений. |
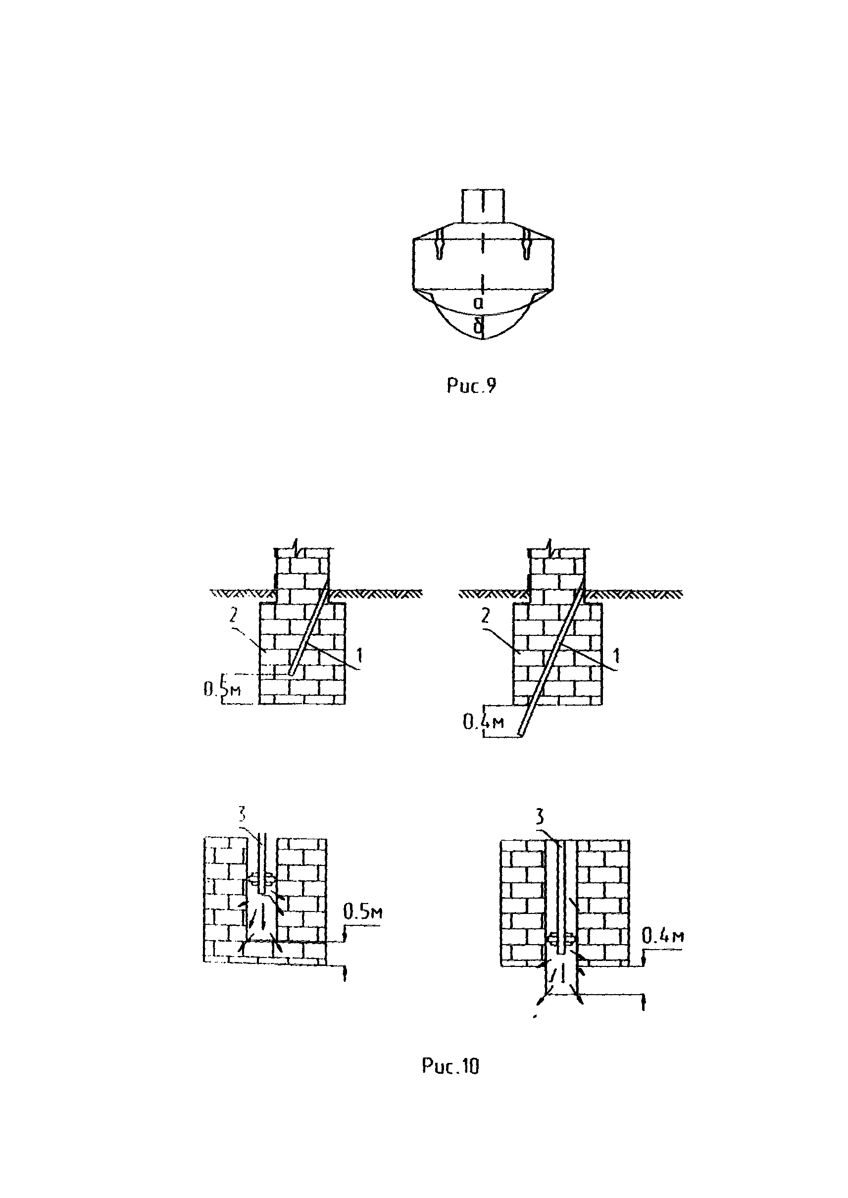
| Оглавление: | 1 Аннотация 2 Введение 3.Общая часть Инженерно-геологические изыскания, обследование существующих фундаментов Традиционные конструкции фундаментов зданий и сооружений старой постройки Традиционные способы усиления фундаментов Современные методы усиления фундаментов 4.Глава I. Основные положения I.I Общие принципы проектирования усиления А. Усиление грунтов основания и фундаментов 5 Глава II. Проектирование усиления II. 1. Рекомендуемая область применения усиления грунтов основания и фундаментов реставрируемых и реконструируемых объектов инъекционными методами II.2. Основные принципы проектирования II.3. Расчет буроинъекционных свай по несущей способности 6.Глава III.Производство работ по усилению оснований и фундаментов III.I Материалы для изготовления буроинъекционных свай и составы растворов III.2 Технология производства работ Б. Устройство буроинъекционных свай III.3. Контроль качества работ III.4. Статические испытания буроинъекционных свай 7.Глава IV. Проектирование и производство работ по укреплению несущих конструкций реставрируемых и реконструируемых зданий инъекционными методами IV.2. Проектирование инъекционного укрепления несущих конструкций IV.3. Производство работ по инъекционному укреплению несущих конструкций IV. 4. Устройство инъекционной гидроизоляции 8. Глава V. Приемка работ V.1. Цементационные работы и устройство буроинъекционных свай V.2. Инъекционные работы и устройство анкеров 9. Глава VI. Техника безопасности производства работ 10. Литература Приложение 1. Форма журнала производства работ по укрепительной цементации (инъекции). Журнал производства работ по укрепительной цементации Приложение 2. Форма журнала изготовления буроинъекционных свай (титульный лист) |
| Утверждён: | 27.02.1997 А/О Восстановление (16) |
| Нормативные ссылки: |
|






















































