Скачать ГОСТ Р 56956-2016 Телекоммуникации. Электропитание оборудования сети доступаДата актуализации: 01.01.2021
|
| Обозначение: | ГОСТ Р 56956-2016 |
| Обозначение англ: | GOST R 56956-2016 |
| Статус: | введен впервые |
| Название рус.: | Телекоммуникации. Электропитание оборудования сети доступа |
| Название англ.: | Telecommunications. Powering of equipment in access network |
| Дата добавления в базу: | 01.02.2017 |
| Дата актуализации: | 01.01.2021 |
| Дата введения: | 01.06.2017 |
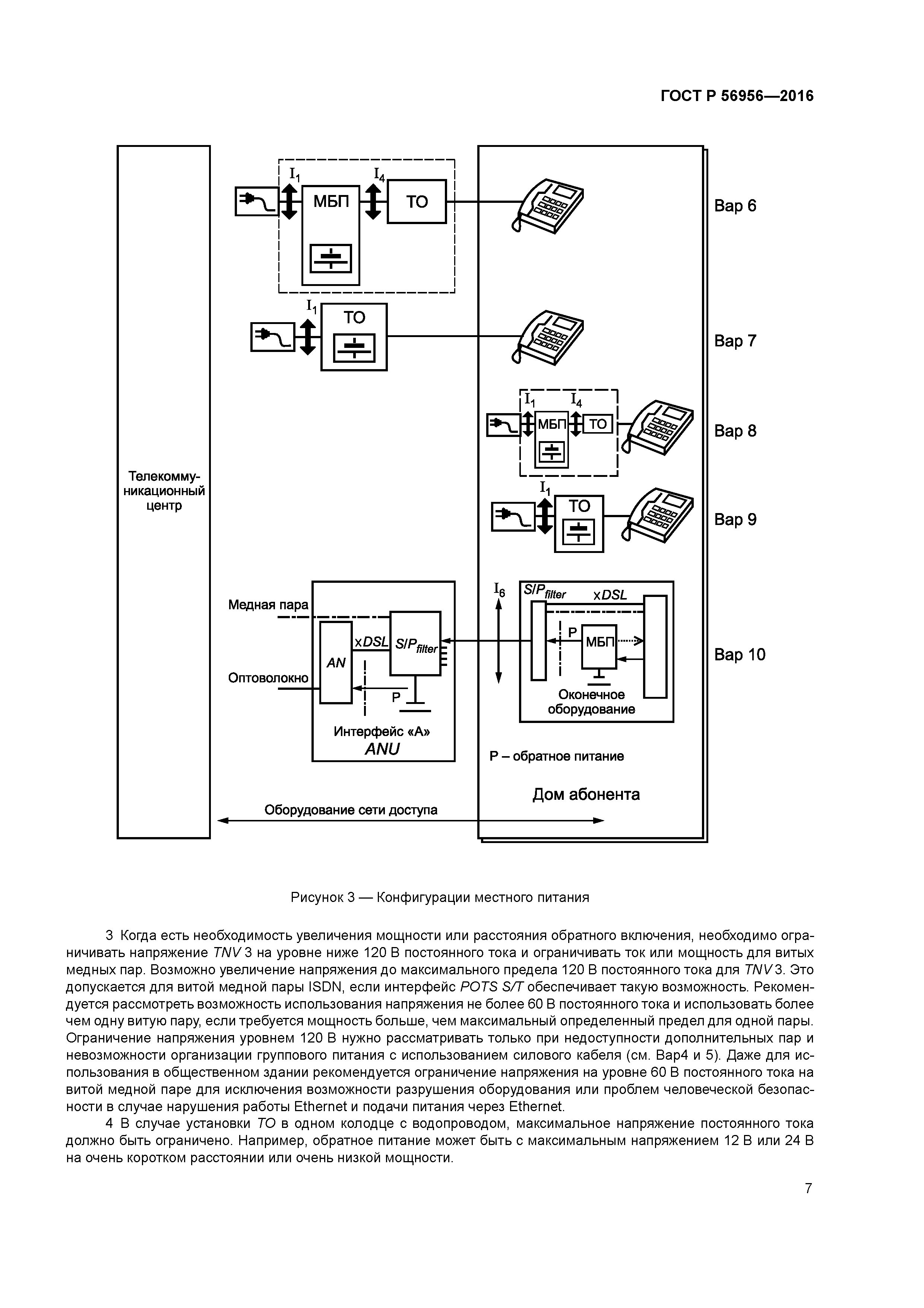
| Область применения: | Стандарт устанавливает основные принципы электропитания телекоммуникационного оборудования в сетях доступа и содержит следующие требования к системам электропитания: - характеристики входных и выходных интерфейсов блоков питания; - способы резервирования телекоммуникационного оборудования, включающего в свой состав блоки питания; - управленческие данные, необходимые, чтобы гарантировать функционирование телекоммуникационного оборудования и обслуживание блоков питания. Стандарт принимает во внимание особенности сетевого оборудования доступа, для которого варианты установки и дизайна оборудования электропитания и блоков питания отличаются от оборудования телекоммуникационного центра. Стандарт определяет принципы организации электропитания всех типов оборудования сети доступа, работающего по медным жилам, оптоволокну или радиосети, расположенного вне телекоммуникационных центров. Сеть доступа определена как часть телекоммуникационной сети, которая расположена между оконечным оборудованием, установленным у абонента, и коммутационным оборудованием телекоммуникационного центра. На оконечное оборудование, расположенное у абонента, и коммутационное оборудование телекоммуникационного центра действие стандарта не распространяется. Стандарт описывает различные варианты электропитания телекоммуникационного оборудования: - питание оборудования от местного источника; - дистанционное питание оборудования из телекоммуникационного центра по медной паре; - питание группы оборудования от общего источника; - обратное питание или обратную архитектуру питания, которая может обеспечивать электропитание оборудования сети доступа, такого как ONU, ONT или установленный не у абонента блок DSL по медной паре от источника питания, расположенного в оборудовании, установленном у абонента. Стандарт предназначен для применения организациями связи, системными интеграторами и производителями телекоммуникационного оборудования и оборудования электропитания. |
| Оглавление: | 1 Область применения 2 Нормативные ссылки 3 Термины и определения 4 Сокращения и обозначения 5 Принципы организации электропитания 6 Влияние технологий на стратегию электропитания 7 Требования к местному питанию 8 Требования к дистанционному питанию 9 Резервирование питания 10 Управление электропитанием 11 Безопасность Приложение А (обязательное) Определение емкости батареи |
| Разработан: | ТК 480 Связь |
| Утверждён: | 07.06.2016 Федеральное агентство по техническому регулированию и метрологии (549-ст) |
| Издан: | Стандартинформ (2016 г. ) |
| Нормативные ссылки: |
|


















