Скачать МУ 5949-91 Методические указания по газохроматографическому измерению концентраций бутилцианацетата в воздухе рабочей зоныДата актуализации: 01.01.2021 МУ 5949-91
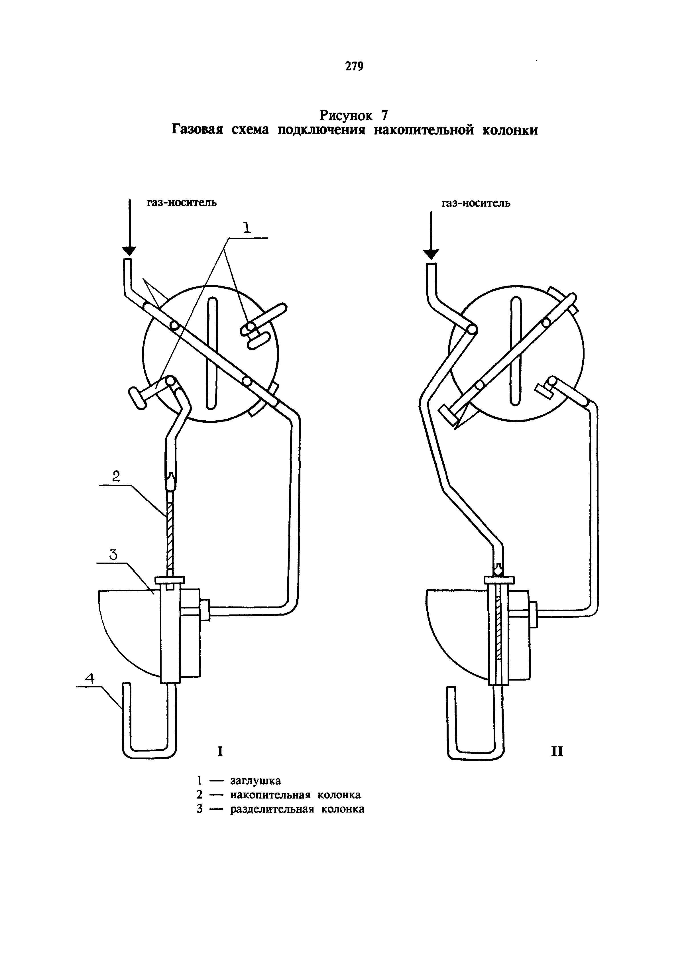
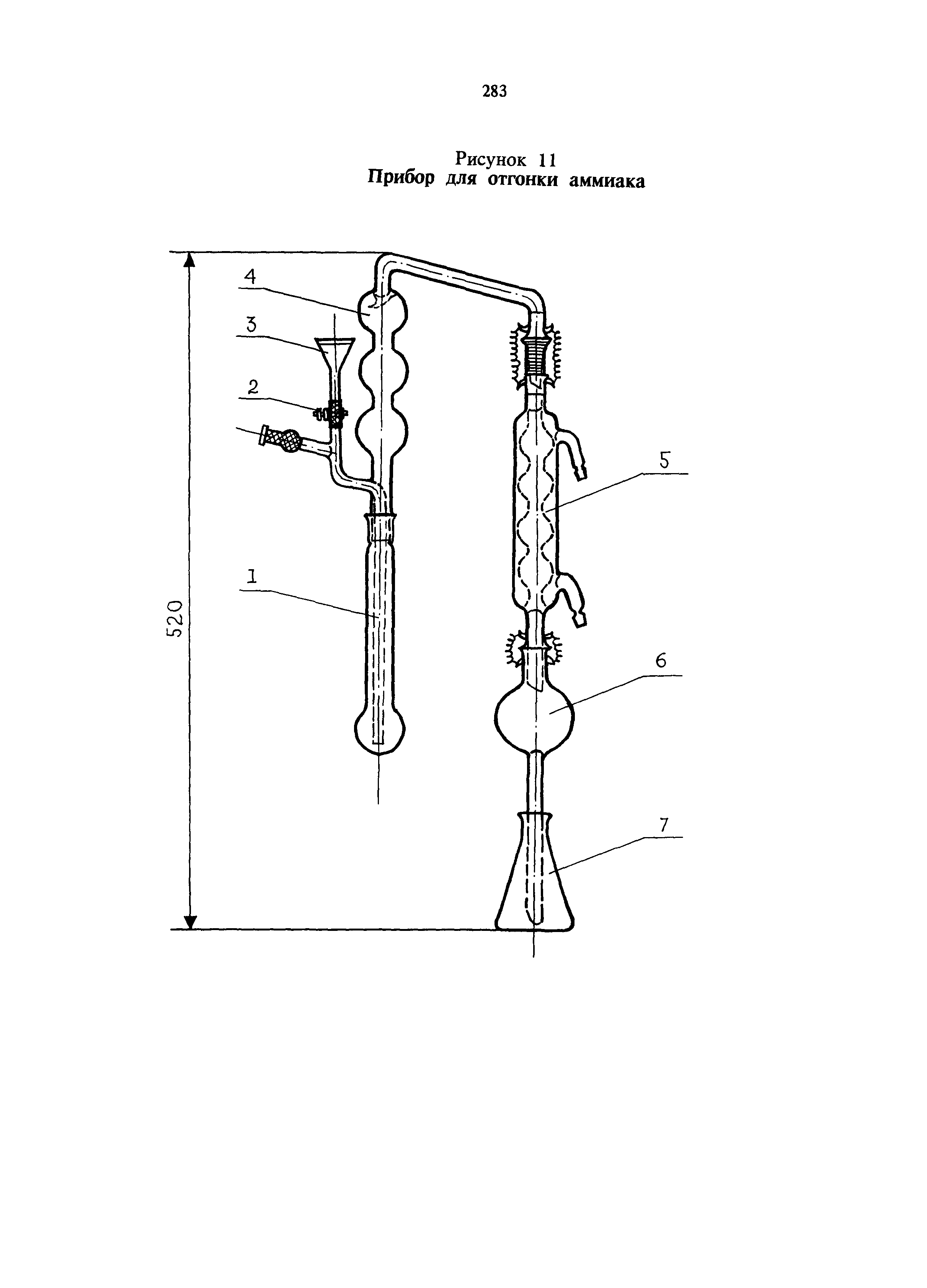
Методические указания по газохроматографическому измерению концентраций бутилцианацетата в воздухе рабочей зоны| Обозначение: | МУ 5949-91 | | Обозначение англ: | MU 5949-91 | | Статус: | справочные материалы, мп, тпр | | Название рус.: | Методические указания по газохроматографическому измерению концентраций бутилцианацетата в воздухе рабочей зоны | | Дата добавления в базу: | 01.02.2017 | | Дата актуализации: | 01.01.2021 | | Область применения: | Методические указания по измерению концентраций вредных веществ в воздухе рабочей зоны предназначены для санитарно-эпидемиологических станций и санитарных лабораторий промышленных предприятий при осуществлении контроля за содержанием вредных веществ в воздухе рабочей зоны, а также научно-исследовательских институтов системы здравоохранения России и других заинтересованных министерств и ведомств. | | Оглавление: | Характеристика метода Приборы, аппаратура, посуда Реактивы, растворы и материалы Отбор пробы воздуха Подготовка к измерению Проведение измерения Расчет концентрации Приложение 1 (справочное). Приведение объема воздуха к условиям по ГОСТ 12.1.016-79 Приложение 2 (справочное). Коэффициент К для приведения объема воздуха к условиям по ГОСТ 12.1.016-79 Приложение 3 Вещества, определяемые по ранее утвержденным и опубликованным Методическим указаниям Рисунки | | Разработан: | Ростовский медицинский институт
| | Утверждён: | 10.10.1991 Заместитель Главного государственного санитарного врача СССР
| | Нормативные ссылки: | |
                        
|