Скачать Приказ 1762 Об утверждении Правил государственной регистрации аэродромов экспериментальной авиации и вертодромов экспериментальной авиации Российской Федерации, формы свидетельства о государственной регистрации аэродрома экспериментальной авиации или вертодрома экспериментальной авиации Российской Федерации, выдаваемого при государственной регистрации, и Порядка допуска к эксплуатации аэродромов экспериментальной авиации, вертодромов экспериментальной авиации Российской ФедерацииДата актуализации: 01.01.2021
|
| Обозначение: | Приказ 1762 |
| Обозначение англ: | Directive 1762 |
| Статус: | действует |
| Название рус.: | Об утверждении Правил государственной регистрации аэродромов экспериментальной авиации и вертодромов экспериментальной авиации Российской Федерации, формы свидетельства о государственной регистрации аэродрома экспериментальной авиации или вертодрома экспериментальной авиации Российской Федерации, выдаваемого при государственной регистрации, и Порядка допуска к эксплуатации аэродромов экспериментальной авиации, вертодромов экспериментальной авиации Российской Федерации |
| Дата добавления в базу: | 01.02.2017 |
| Дата актуализации: | 01.01.2021 |
| Дата введения: | 30.07.2016 |
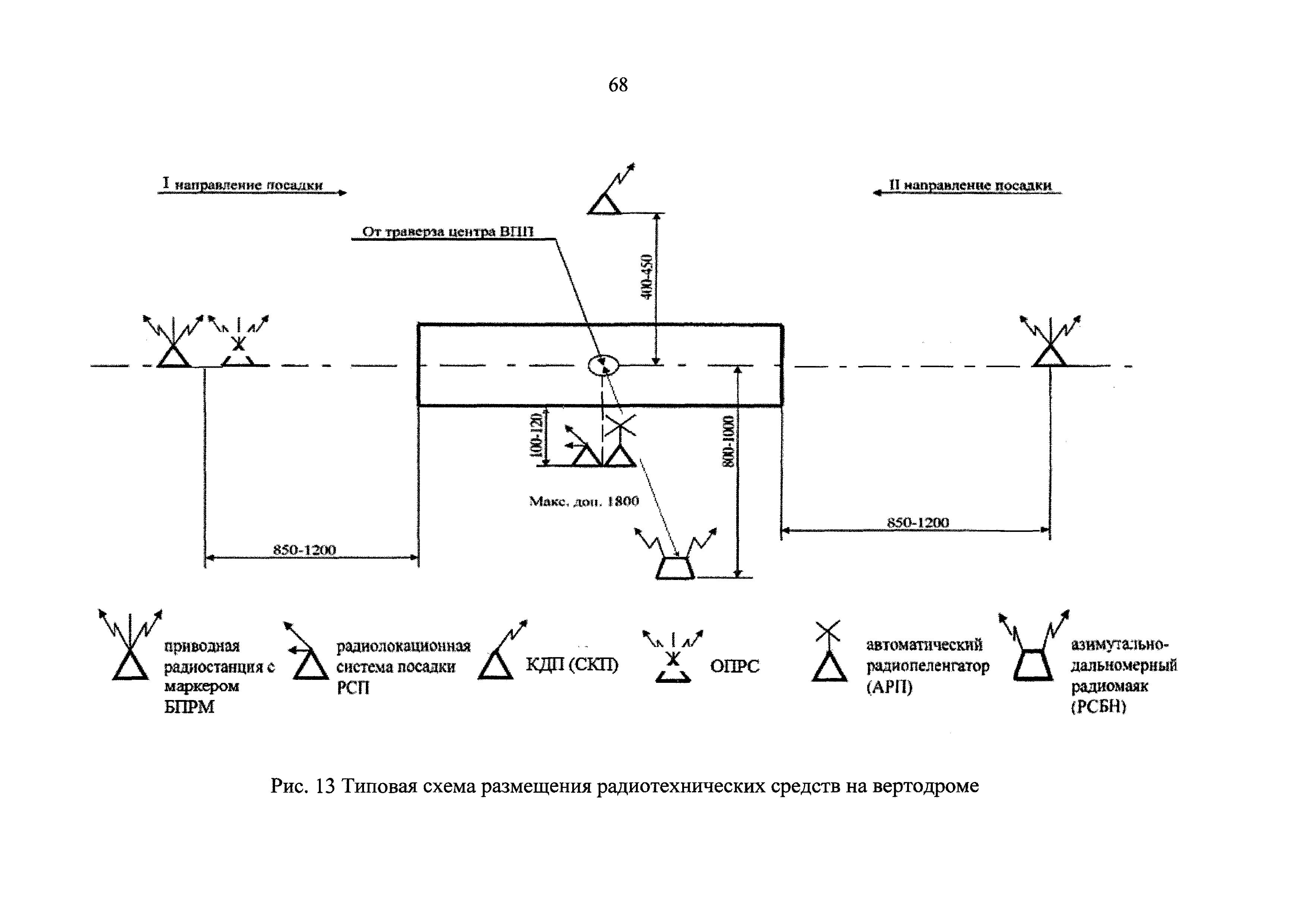
| Оглавление: | Правила государственной регистрации аэродромов экспериментальной авиации и вертодромов экспериментальной авиации Российской Федерации I. Общие положения II. Порядок регистрации аэродромов экспериментальной авиации и вертодромов экспериментальной авиации Российской Федерации III. Порядок исключения аэродрома или вертодрома из Государственного реестра IV. Доступ к сведениям, содержащимся в Государственном реестре Свидетельство о государственной регистрации аэродрома (вертодрома) экспериментальной авиации Российской Федерации (форма) Порядок допуска к эксплуатации аэродромов экспериментальной авиации, вертодромов экспериментальной авиации Российской Федерации I. Общие положения II. Допуск к эксплуатации аэродромов экспериментальной авиации, вертодромов экспериментальной авиации Российской Федерации III. Продление срока действия допуска к эксплуатации аэродромов экспериментальной авиации или вертодромов экспериментальной авиации Российской Федерации Приложение № 1. Перечень доказательной документации Приложение № 2. Нормы годности к эксплуатации аэродромов экспериментальной авиации Российской Федерации, расположенных на акватории (НГЭГ ЭА) Глава I. Общие положения Глава II. Классификация гидроаэродромов Глава III. Физические характеристики гидроаэродромов Глава IV. Поисково-спасательные и аварийно-спасательные средства Приложение № 3. Нормы годности к эксплуатации вертодромов экспериментальной авиации Российской Федерации (НГЭВ ЭА) Глава I. Общие положения Глава II. Физические характеристики вертодромов Глава III. Привертодромная территория Глава IV. Маркировка вертодромов Глава V. Радиотехническое оборудование вертодромов Глава VI. Светотехническое оборудование вертодромов Глава VII. Метеорологическое обеспечение Глава VIII. Пункты управления полетами Глава IX. Электроснабжение и электрооборудование Глава X. Поисково-спасательные и аварийно-спасательные средства Приложение № 4. Акт обследования аэродрома (вертодрома) экспериментальной авиации Российской Федерации на годность к эксплуатации Приложение № 5. Акт проверки аэродрома (вертодрома) экспериментальной авиации Российской Федерации Приложение № 6.Заключение об обеспечении эквивалентного уровня безопасности полетов на аэродроме (вертодроме) экспериментальной авиации Российской Федерации |
| Утверждён: | 30.05.2016 Министерство промышленности и торговли РФ (1762) |
| Издан: | Официальный интернет-портал правовой информации (www.pravo.gov.ru) (от 19.07.2016 г. Номер опубликования: 0001201607190001) |
| Нормативные ссылки: |
































































































