Скачать Федеральные авиационные правила Требования, предъявляемые к аэродромам, предназначенным для взлета, посадки, руления и стоянки гражданских воздушных судовДата актуализации: 01.01.2021 |
| Статус: | действует |
| Название рус.: | Федеральные авиационные правила "Требования, предъявляемые к аэродромам, предназначенным для взлета, посадки, руления и стоянки гражданских воздушных судов" |
| Дата добавления в базу: | 12.02.2016 |
| Дата актуализации: | 01.01.2021 |
| Дата введения: | 27.10.2015 |
| Область применения: | Федеральные авиационные правила "Требования, предъявляемые к аэродромам, предназначенным для взлета, посадки, руления и стоянки гражданских воздушных судов" устанавливают требования, предъявляемые к гражданским аэродромам, обязательны для выполнения лицами, эксплуатирующими указанные аэродромы |
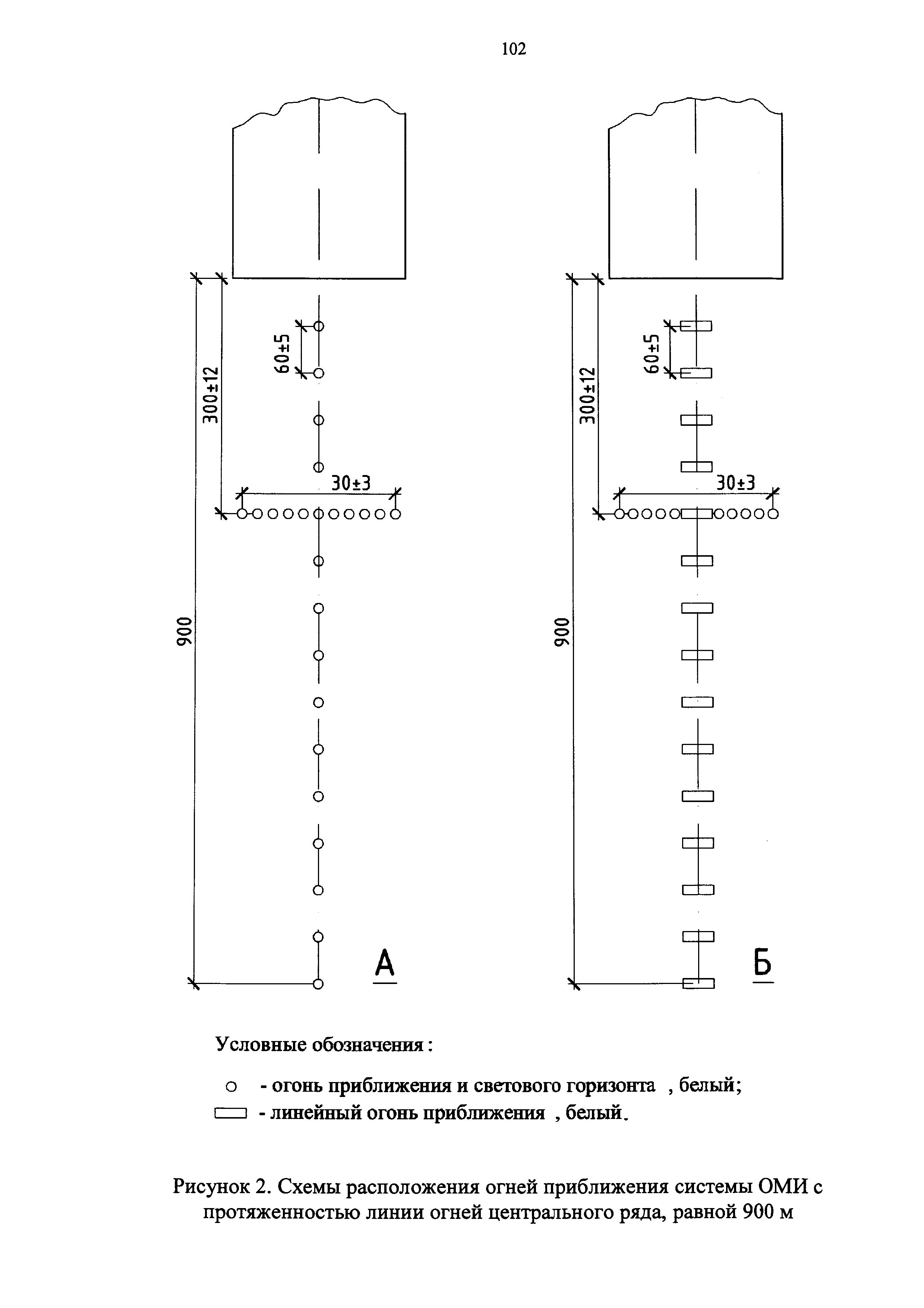
| Оглавление: | I. Общие положения II. Класс и физические характеристики аэродромов III. Препятствия IV. Визуальные средства V. Радиотехническое оборудование VI. Электроснабжение и электрооборудование Приложение № 1. Термины и определения Приложение № 2. Классификация взлетно-посадочных полос Приложение № 3. Временные препятствия на летней полосе Приложение № 4. Определение индекса самолета Приложение № 5. Метод CAN-PCN представления данных о прочности искусственных покрытий Приложение № 6. Критерии назначения ограничений по интенсивности движения и массе ВС Приложение № 7. Поверхности ограничения препятствий Приложение № 8. Классификация ССО Приложение № 9. Аэродромные знаки Приложение № 10 Приложение № 11. Маркировка мест ожидания у ВПП и промежуточных мест ожидания Приложение № 12. Маркировочные знаки грунтовых ВПП аэродромов Приложение № 13. Маркировка объектов Приложение № 14 Приложение № 15. Углы установки огней в системах ОМИ, ОВИ-I, ОВИ-II и ОВИ-III Приложение № 16. Управление огнями Приложение № 17. Электропитание огней Приложение № 18. Высоты условных обозначений на знаках Приложение № 19 Приложение № 20. Маркировочные знаки и маркеры для грунтовых ВПП Приложение № 21. Характеристики ветроуказателя Приложение № 22. Светоограждение препятствий Приложение № 23. Расположение заградительных огней на сооружениях Приложение № 24. Оснащение объектами радиотехнического обеспечения полетов Приложение № 25. Категории потребителей электроэнергии по степени надежности электроснабжения и максимально допустимое время перерывов в их электропитании |
| Утверждён: | 25.08.2015 Министерство транспорта Российской Федерации (Russian Federation Ministry of Transportation 262) |
| Издан: | Официальный интернет-портал правовой информации (www.pravo.gov.ru) (от 16.10.2015 г. Номер опубликования: 0001201510160017) |
| Список изменений: |
|
| Нормативные ссылки: |




















































































































































Текстовое изменение № 1 от 01.01.2018




