Скачать Федеральные авиационные правила Требования, предъявляемые к вертодромам, предназначенным для взлета, посадки, руления и стоянки гражданских воздушных судовДата актуализации: 01.01.2021 |
| Статус: | действует |
| Название рус.: | Федеральные авиационные правила "Требования, предъявляемые к вертодромам, предназначенным для взлета, посадки, руления и стоянки гражданских воздушных судов" |
| Дата добавления в базу: | 05.05.2017 |
| Дата актуализации: | 01.01.2021 |
| Дата введения: | 15.04.2017 |
| Дата окончания срока действия: | 01.01.2021 |
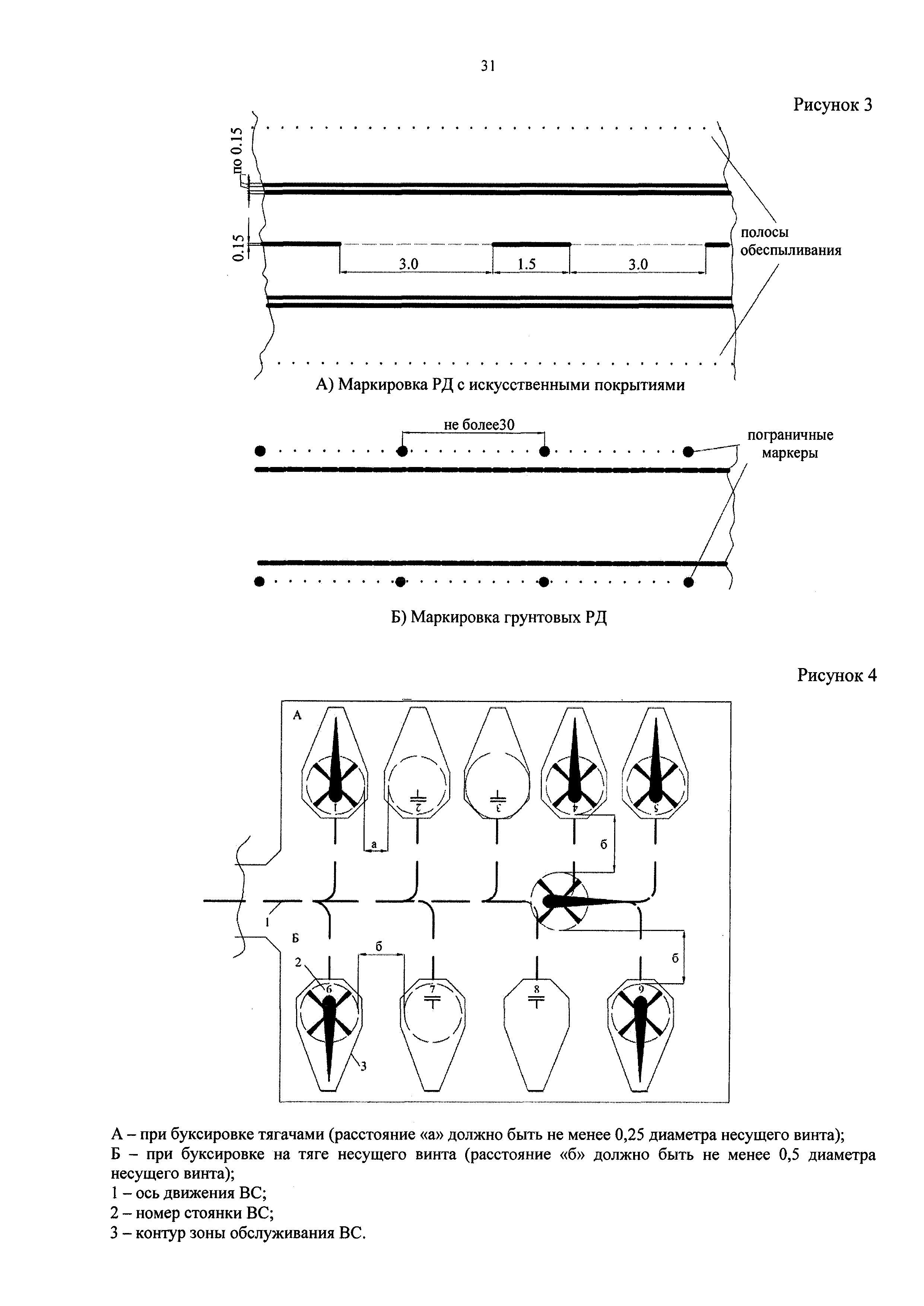
| Оглавление: | I. Общие положения II. Класс и физические характеристики вертодромов III. Препятствия IV. Визуальные средства V. Радиотехническое оборудование VI. Метеорологическое оборудование VII. Электроснабжение и электрооборудование VIII. Аварийно-спасательные средства Приложение № 1. Термины и определения Приложение № 2. Классификация ВПП, индекс вертолета Приложение № 3. Поверхности ограничения препятствий Приложение № 4. Схема маркировки вертодрома Приложение № 5. Системы огней приближения Приложение № 6. Размеры и наклоны поверхности защиты от препятствий Приложение № 7. Схемы расположения огней зоны FATO и огней зоны TLOF Приложение № 8. Состав комплекса радиотехнических средств, устанавливаемых на вертодроме Приложение № 9. Состав метеооборудования вертодромов Приложение № 10. Категории надежности электроснабжения указанных потребителей Приложение № 11. Уровень требуемой пожарной защиты |
| Утверждён: | 13.03.2017 Минтранс России (Russian Federation Mintrans 91) |
| Нормативные ссылки: |
|











































