Скачать РД 32.144-2000 Контроль неразрушающий приемочный. Колеса цельнокатаные, бандажи и оси колесных пар подвижного состава. Технические требования

Дата актуализации: 01.01.2021

РД 32.144-2000

Контроль неразрушающий приемочный. Колеса цельнокатаные, бандажи и оси колесных пар подвижного состава. Технические требования

Обозначение: РД 32.144-2000
Обозначение англ: RD 32.144-2000
Статус:введен впервые
Название рус.:Контроль неразрушающий приемочный. Колеса цельнокатаные, бандажи и оси колесных пар подвижного состава. Технические требования
Дата добавления в базу:01.01.2018
Дата актуализации:01.01.2021
Дата введения:01.10.2001
Область применения:Руководящий документ устанавливает: - условия, порядок проведения неразрушающего контроля и перечень применяемых видов неразрушающего контроля; - требования к вариантам методом неразрушающего контроля; - общие требования к аппаратуре неразрушающего контроля и квалификации персонала, выполняющего неразрушающего контроля; - значения приемочных критериев при оценке качества по результатам неразрушающего контроля в соответствии с требованиями действующих стандартов на элементы колесных пар.
Оглавление:1 Область применения
2 Нормативные ссылки
3 Определения и сокращения
4 Общие положения
   4.1 Порядок проведения приемочного неразрушающего контроля
   4.2 Объемы проведения приемочного неразрушающего контроля
   4.3 Виды, методы неразрушающего контроля и выявляемые дефекты
   4.4 Требования к контролепригодности
   4.5 Требования к средствам неразрушающего контроля
   4.6 Требования к персоналу по неразрушающему контролю
   4.7 Требования к организации неразрушающего контроля
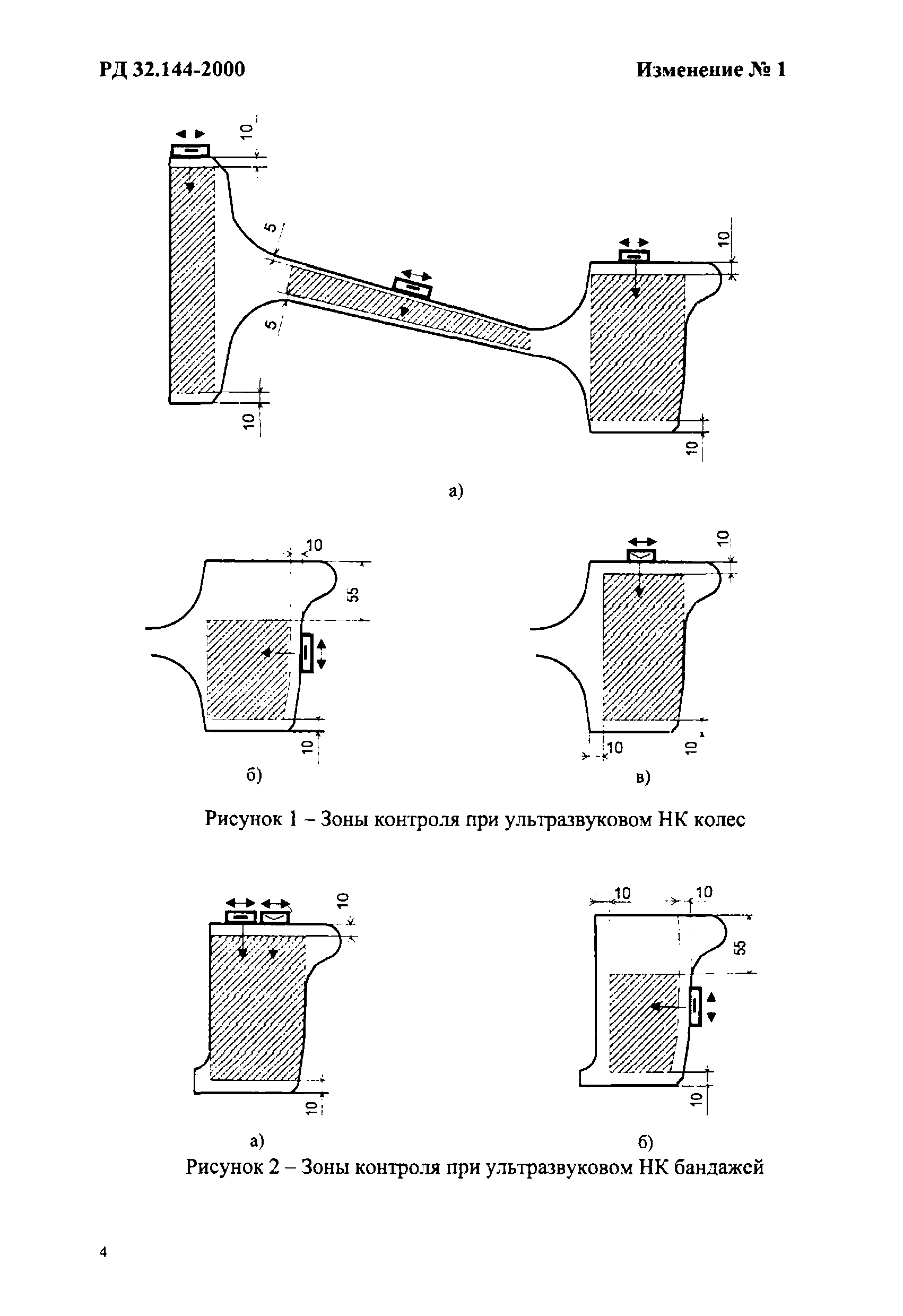
5 Приемочный неразрушающий контроль цельнокатаных колес и бандажей
   5.1 Требования к акустическому (ультразвуковому) неразрушающему контролю
   5.2 Требования к неразрушающему контролю распределения остаточных механических напряжений в ободьях цельнокатаных колес.
   5.3 Требования к магнитопорошковому и вихретоковому неразрушающему контролю
6 Приемочный неразрушающий контроль осей
   6.1 Требования к акустическому неразрушающему контролю структуры металла осей
   6.2 Требования к акустическому (ультразвуковому) неразрушающему контролю на отсутствие внутренних дефектов
   6.3 Требования к магнитопорошковому неразрушающему контролю
Разработан: НК-ЦЕНТР ГУП Научно-исследовательский институт мостов и дефектоскопии МПС России
Утверждён:29.05.2001 Министерство путей сообщения РФ (Russian Federation Ministry of Railroads М-943у)
Принят:20.12.2000 Департамент вагонного хозяйства МПС России
20.12.2000 Департамент пассажирских сообщений МПС России
20.12.2000 ГУП ВНИИЖТ
06.04.2001 Департамент технической политики МПС России
20.03.2001 Департамент локомотивного хозяйства МПС России
Издан: МПС России
Список изменений:
Нормативные ссылки:
РД 32.144-2000РД 32.144-2000РД 32.144-2000РД 32.144-2000РД 32.144-2000РД 32.144-2000РД 32.144-2000РД 32.144-2000РД 32.144-2000РД 32.144-2000РД 32.144-2000РД 32.144-2000РД 32.144-2000РД 32.144-2000РД 32.144-2000РД 32.144-2000РД 32.144-2000РД 32.144-2000РД 32.144-2000РД 32.144-2000РД 32.144-2000РД 32.144-2000РД 32.144-2000РД 32.144-2000РД 32.144-2000РД 32.144-2000РД 32.144-2000

Текстовое изменение № 1 от 15.04.2004

№ 1№ 1№ 1№ 1№ 1№ 1№ 1№ 1№ 1