МИНИСТЕРСТВО
ПУТЕЙ СООБЩЕНИЯ
РОССИЙСКОЙ ФЕДЕРАЦИИ
(МПС РОССИИ)
УКАЗАНИЕ
|
8 апреля 2004 г. |
№ Т-74у |
Москва
О введении в действие Изменения № 1 РД 32.144-2000
В целях совершенствования неразрушающего контроля элементов колесных пар при их изготовлении и ремонте с учетом практического опыта применения методов контроля:
Утвердить и ввести в действие с 15 апреля 2004 г. Изменение № 1 РД 32.144-2000 «Контроль неразрушающий приемочный. Колеса цельнокатанные, бандажи и оси колесных пар подвижного состава. Технические требования».
Приложение: Изменение № 1 РД 32.144-2000 на 8 л. в 1 экз.
|
Статс-секретарь
|
С.А. Аристов |
|
Верно: Специалист 1 категории АН И.М. Полуянова |
|
Изменение № 1 РД 32.144-2000 «Контроль неразрушающий приемочный. Колеса цельнокатаные, бандажи и оси колесных пар подвижного состава. Технические требования»
Принято и введено в действие указанием Министерства путей сообщения Российской Федерации от 08.04.2004 г. № Т-74у
Дата введения 2004-04-01
Раздел 2 «Нормативные ссылки» дополнить нормативными документами:
ГОСТ 24507-80 Контроль неразрушающий. Поковки из черных и цветных металлов. Методы ультразвуковой дефектоскопии
ПP 32.82-2000 Правила по метрологии. Метрологическое обеспечение. Система автоматизированного ведения отраслевого Реестра средств измерений, допущенных к применению в отрасли. Порядок ведения Реестра
ПР 32.140-99 Метрологическое обеспечение. Стандартные образцы предприятий отрасли. Порядок разработки, аттестации, утверждения, регистрации, контроля и надзора.
Пункт 4.5.3 после слов «МПС России» дополнить словами «(ПP 32.82-2000
, ПР 32.140-99)».
Раздел 4.5 дополнить пунктом 4.5.5 в редакции:
«4.5.5 Шероховатость контактной поверхности стандартного образца должна соответствовать шероховатости поверхности контролируемого элемента. В случае несоответствия шероховатости поверхностей при настройке чувствительности должны учитываться соответствующие поправочные коэффициенты, значения которых указываются в технологической документации».
Пункт 5.1.1 дополнить абзацем:
«Зоны контроля определяются с учетом минимальных допусков на размеры контролируемого элемента».
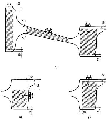
Рисунок 1 «Зоны контроля при ультразвуковом НК колес» заменить на прилагаемый.
Рисунок 2 «Зоны контроля при ультразвуковом НК бандажей» заменить на прилагаемый.
Пункт 6.1.1 дополнить абзацем:
«В случае изготовления черновых и чистовых осей на одном предприятии или при условии введения на предприятии обязательного контроля структуры чистовых осей зеркально-теневым ультразвуковым методом с помощью автоматизированных установок, обеспечивающих регистрацию параметров и данных контроля, допускается выполнять контроль «прозвучиваемости» чистовых осей в качестве дополнительного (выборочного).
Контроль структуры металла осей полой конструкции следует проводить до высверливания в них продольного осевого отверстия».
Пункт 6.1.2 дополнить вторым абзацем:
«Контроль «прозвучиваемости» осей должен проводиться после механической обработки торцевых поверхностей. Торцевые поверхности должны быть плоскопараллельными и в соответствии с ГОСТ 24507 иметь параметр шероховатости не более Rz = 10 мкм».
Пункт 6.1.5 слово «Дополнительному» исключить.
Пункт 6.1.6 изложить в редакции:
«6.1.6 Настройка чувствительности при контроле зеркально-теневым методом выполняется по донному эхо-сигналу в изготовленном из оси стандартном образце предприятия или по среднему значению донных эхо-сигналов, измеренных на каждой образующей контролируемой оси».
Пункт 6.1.7 после слова «неоднородности» дополнить словами «(одна или более)».
Пункт 6.2.1 дополнить абзацем:
«В случаях изготовления черновых и чистовых осей на одном предприятии с проведением контроля черновых осей по варианту метода А1 или введения на предприятии обязательного контроля чистовых осей по вариантам методов А2 и А3 с помощью автоматизированных установок, обеспечивающих регистрацию основных параметров и результатов контроля, допускается выполнять контроль чистовых осей по варианту метода А1 в качестве дополнительного (выборочного).
Для осей полой конструкции вариант метода А2 применяется как дополнительный.
Зоны контроля указаны на рисунке 4 и определяются с учетом допусков на размеры контролируемого элемента».
Подпункт 6.2.2.1:
второе предложение изложить в редакции:
«Стандартные образцы должны быть изготовлены из оси, прошедшей приемочный контроль, для которой колебания амплитуды донного эхо-сигнала при контроле с цилиндрической поверхности в соответствии с 6.1.5 не превышают 4 дБ, а отношение амплитуды донного эхо-сигнала в СО-2 к амплитуде эхо-сигнала от противоположного торца оси составляет от 40 до 46 дБ»;
дополнить абзацем:
«Допускается изготовление стандартных образцов из оси, для которой отношение амплитуды донного эхо-сигнала в СО-2 к амплитуде эхо-сигнала от противоположного торца оси менее 40 дБ. В этом случае при настройке чувствительности учитываются соответствующие поправочные коэффициенты, значения которых указываются в технологической документации».
Таблицу 2 «Характеристики вариантов методов ультразвукового НК осей» заменить на прилагаемую.
Рисунок 4 «Зоны контроля при ультразвуковом НК осей» заменить на прилагаемый.
Подпункт 6.2.2.3 слова: «которые построены» заменить словами «или калиброванная временная регулировка чувствительности дефектоскопа, построенные».
Пункт 6.2.3:
абзац пятый изложить в редакции:
«2) 6,0 мм (эквивалентная площадь 28,3 мм2)»;
дополнить двенадцатым абзацем:
«3) условная протяженность хотя бы одного из них более 40 мм».

Рисунок 1 - Зоны контроля при ультразвуковом НК колес

Рисунок 2 - Зоны контроля при ультразвуковом НК бандажей
Таблица 2 - Характеристики вариантов методов ультразвукового НК осей
|
Область сканирования (зона контроля) |
Схема (направление) прозвучивания |
Вариант метода контроля |
Метод контроля |
Номинальные значения основных параметров |
Критерий браковки (см. п.) |
||||
|
обозначение |
применение |
Тип волн |
Угол ввода, град |
Частота, МГц |
Предельная чувствительность, мм2 |
||||
|
НК структуры |
|||||||||
|
рисунок 4, а |
С торца - осевое |
T1 |
О |
«прозвучиваемость» |
продольные |
0 ± 2 |
2,0-2,5 |
- |
п. 6.1.4 |
|
рисунок 4, б |
С цилиндрической поверхности - радиальное |
Т2 |
О |
зеркально-теневой |
0 ± 2 |
4,0 - 5,0 |
- |
п. 6.1.7 |
|
|
НК на отсутствие внутренних дефектов |
|||||||||
|
рисунок 4, а |
С торца - осевое |
А1 |
О |
эхоимпульсный |
продольные |
0 ± 2 |
2,0 - 2,5 |
7,1
(глубина до 380 мм); |
п. 6.2.3, а) |
|
рисунок 4, б |
С цилиндрической поверхности - радиальное |
А2 |
О |
эхоимпульсный |
0 ± 2 |
2,0 - 2,5 |
19,6 и 7,1 |
п. 6.2.3, б) |
|
|
Рисунок 4, в |
С цилиндрической поверхности - осевое |
А3 |
О |
эхоимпульсный |
поперечные |
50 ± 2 |
2,0 - 2,5 |
7,1 |
п. 6.2.3, в) |
|
Варианты методов НК: О - обязательные; Д - дополнительные. |
|||||||||

Рисунок 3 - Стандартный образец СО-2 по ГОСТ 14782-96

Рисунок 4 - Зоны контроля при ультразвуковом НК осей
Федеральное государственное унитарное предприятие Научно-исследовательский институт мостов и дефектоскопии МПС России - Филиал НК-Центр
|
Директор Филиала |
Г.Я. Дымкин |
|
СОГЛАСОВАНО Заместитель
руководителя __________________ В.С. Хламов «29» декабря 2003 |
|
|
СОГЛАСОВАНО Первый
заместитель __________________ С.И. Порядин «26» декабря 2003 |
СОГЛАСОВАНО Первый
заместитель __________________ В.С. Черный «23» декабря 2003 |
|
СОГЛАСОВАНО Заместитель
директора __________________ В.Н. Цюренко «22» декабря 2003 |
|